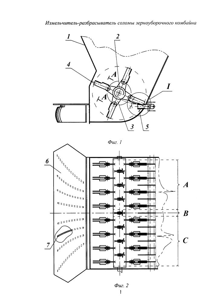
ΠΠ·ΠΌΠ΅Π»ΡΡΠΈΡΠ΅Π»Ρ ΡΠΎΠ»ΠΎΠΌΡ ΡΠ²ΠΎΠΈΠΌΠΈ ΡΡΠΊΠ°ΠΌΠΈ ΡΠ΅ΡΡΠ΅ΠΆΠΈ Π²ΠΈΠ΄Π΅ΠΎ: ΠΠ·ΠΌΠ΅Π»ΡΡΠΈΡΠ΅Π»Ρ ΡΠΎΠ»ΠΎΠΌΡ ΡΠ²ΠΎΠΈΠΌΠΈ ΡΡΠΊΠ°ΠΌΠΈ: ΡΡΡΡΠΎΠΉΡΡΠ²ΠΎ, ΡΠ΅ΡΡΠ΅ΠΆΠΈ
ΡΠ±ΠΎΡΠΊΠ° ΠΈΠ·ΠΌΠ΅Π»ΡΡΠΈΡΠ΅Π»Ρ ΡΠΎΠ»ΠΎΠΌΡ Π΄ΠΎΠΌΠ° ΠΈΠ· ΠΏΠΎΠ΄ΡΡΡΠ½ΡΡ ΠΌΠ°ΡΠ΅ΡΠΈΠ°Π»ΠΎΠ²
Π€Π΅ΡΠΌΠ΅ΡΡ ΠΏΠΎΡΡΠ΅ΠΏΠ΅Π½Π½ΠΎ ΡΡ ΠΎΠ΄ΡΡ ΠΎΡ ΡΡΡΠ½ΠΎΠ³ΠΎ ΡΡΡΠ΄Π°. Π₯ΠΎΠ·ΡΠ΅Π²Π° Π½Π° Π½Π΅Π±ΠΎΠ»ΡΡΠΈΡ ΡΠ°ΡΡΠ½ΡΡ ΠΏΠΎΠ΄Π²ΠΎΡΡΡΡ Π°ΠΊΡΠΈΠ²Π½ΠΎ Π²Π½Π΅Π΄ΡΡΡΡ ΡΡΠ΅Π΄ΡΡΠ²Π° ΠΌΠ°Π»ΠΎΠΉ ΠΌΠ΅Ρ Π°Π½ΠΈΠ·Π°ΡΠΈΠΈ Π΄Π»Ρ ΠΏΠΎΠ²ΡΡΠ΅Π½ΠΈΡ ΠΏΡΠΎΠΈΠ·Π²ΠΎΠ΄ΠΈΡΠ΅Π»ΡΠ½ΠΎΡΡΠΈ ΡΡΡΠ΄Π°. Π ΡΠ°ΠΊΠΈΠΌ ΡΡΠ΅Π΄ΡΡΠ²Π°ΠΌ ΠΎΡΠ½ΠΎΡΠΈΡΡΡ ΠΈΠ·ΠΌΠ΅Π»ΡΡΠΈΡΠ΅Π»Ρ ΡΠΎΠ»ΠΎΠΌΡ. ΠΠΎΠ΄ΠΎΠ±Π½ΡΠ΅ ΡΡΡΡΠΎΠΉΡΡΠ²Π° Π·Π°Π²ΠΎΠ΄ΡΠΊΠΎΠ³ΠΎ ΠΈΠ·Π³ΠΎΡΠΎΠ²Π»Π΅Π½ΠΈΡ Π΅ΡΡΡ Π² ΠΏΡΠΎΠ΄Π°ΠΆΠ΅, Π½ΠΎ ΠΈΡ Π½Π΅ Π²ΡΠ΅Π³Π΄Π° ΡΠ΅Π»Π΅ΡΠΎΠΎΠ±ΡΠ°Π·Π½ΠΎ ΠΏΡΠΈΠΎΠ±ΡΠ΅ΡΠ°ΡΡ ΠΈΠ·-Π·Π° Π²ΡΡΠΎΠΊΠΎΠΉ ΡΡΠΎΠΈΠΌΠΎΡΡΠΈ. ΠΠ΅Π»ΠΎ Π² ΡΠΎΠΌ, ΡΡΠΎ ΡΡΡΡΠΎΠΉΡΡΠ²ΠΎ ΠΈΠ·ΠΌΠ΅Π»ΡΡΠΈΡΠ΅Π»Ρ ΠΏΡΠ΅Π΄Π΅Π»ΡΠ½ΠΎ ΠΏΡΠΎΡΡΠΎΠ΅, ΠΈ ΡΠ΄Π΅Π»Π°ΡΡ Π΅Π³ΠΎ ΠΌΠΎΠΆΠ½ΠΎ ΡΠ°ΠΌΠΎΡΡΠΎΡΡΠ΅Π»ΡΠ½ΠΎ.
ΠΡΠΈΠ½ΡΠΈΠΏ ΡΠ°Π±ΠΎΡΡ ΠΈ ΡΡΠ°Π½Π΄Π°ΡΡΠ½Π°Ρ ΠΌΠΎΠ΄Π΅Π»Ρ
ΠΠΎΡΡΠ½Π΅Π½ΠΈΡ Π² ΠΏΡΠ΅Π΄Π½Π°Π·Π½Π°ΡΠ΅Π½ΠΈΠΈ ΠΈΠ·ΠΌΠ΅Π»ΡΡΠΈΡΠ΅Π»Ρ ΠΈΠ·Π»ΠΈΡΠ½ΠΈ Π΄Π»Ρ ΡΠ΅Ρ ΡΠ΅ΡΠΌΠ΅ΡΠΎΠ², ΠΊΠΎΡΠΎΡΡΠ΅ ΡΠΎΠ΄Π΅ΡΠΆΠ°Ρ ΠΆΠΈΠ²Π½ΠΎΡΡΡ. Π Π΄ΠΎΠΏΠΎΠ»Π½Π΅Π½ΠΈΠ΅ ΠΏΡΠΈΡΠΏΠΎΡΠΎΠ±Π»Π΅Π½ΠΈΠ΅ ΠΌΠΎΠΆΠ½ΠΎ ΠΈΡΠΏΠΎΠ»ΡΠ·ΠΎΠ²Π°ΡΡ Π΄Π»Ρ ΠΏΡΠΎΠΈΠ·Π²ΠΎΠ΄ΡΡΠ²Π° ΡΠΎΠΏΠ»ΠΈΠ²Π½ΡΡ Π±ΡΠΈΠΊΠ΅ΡΠΎΠ² ΠΈΠ· ΡΠ΅Π½Π° ΠΈΠ»ΠΈ ΡΠΎΠ»ΠΎΠΌΡ Π² Π΄ΠΎΠΌΠ°ΡΠ½ΠΈΡ ΡΡΠ»ΠΎΠ²ΠΈΡΡ .
ΠΡΡΡΠ½ΡΡ Π½Π°ΡΡΠ±ΠΈΡΡ Π½ΡΠΆΠ½ΠΎΠ΅ ΠΊΠΎΠ»ΠΈΡΠ΅ΡΡΠ²ΠΎ ΠΌΠ°ΡΠ΅ΡΠΈΠ°Π»Π° Π΄Π»Ρ ΠΊΠΎΡΠΌΠ° ΡΠΊΠΎΡΡ β ΠΌΠ΅ΡΠΎΠΏΡΠΈΡΡΠΈΠ΅ ΠΊΡΠ°ΠΉΠ½Π΅ ΡΡΡΠ΄ΠΎΠ·Π°ΡΡΠ°ΡΠ½ΠΎΠ΅ ΠΏΠΎ Π²ΡΠ΅ΠΌΠ΅Π½ΠΈ ΠΈ ΡΠΈΠ»Π°ΠΌ. Π ΡΠΆ ΠΎ ΠΏΡΠΎΠΈΠ·Π²ΠΎΠ΄ΡΡΠ²Π΅ ΡΠΎΠΏΠ»ΠΈΠ²Π½ΡΡ Π±ΡΠΈΠΊΠ΅ΡΠΎΠ² ΡΠ°ΠΊΠΈΠΌ ΠΎΠ±ΡΠ°Π·ΠΎΠΌ Π΄Π°ΠΆΠ΅ Π½Π΅ ΡΡΠΎΠΈΡ Π·Π°Π΄ΡΠΌΡΠ²Π°ΡΡΡΡ.
ΠΠ΅ΠΊΠΎΡΠΎΡΡΠ΅ ΠΌΠ°ΡΡΠ΅ΡΠ° Π΄Π΅Π»Π°ΡΡ ΠΊΡΡΡΠ°ΡΠ½ΡΠ΅ ΠΈΠ·ΠΌΠ΅Π»ΡΡΠΈΡΠ΅Π»ΠΈ ΠΈΠ· ΠΌΠΈΠ½ΠΈΠΌΠ°Π»ΡΠ½ΠΎΠ³ΠΎ Π½Π°Π±ΠΎΡΠ° ΠΏΠΎΠ΄ΡΡΡΠ½ΡΡ
ΠΌΠ°ΡΠ΅ΡΠΈΠ°Π»ΠΎΠ².
Π‘ΡΠ΅Π΄ΡΡΠ²Π° ΠΏΠΎΠ΄ΠΎΠ±Π½ΠΎΠ³ΠΎ ΡΠΈΠΏΠ° ΠΎΡΠ»ΠΈΡΠ°ΡΡΡΡ ΠΏΡΠΎΡΡΠΎΡΠΎΠΉ ΠΈΠ·Π³ΠΎΡΠΎΠ²Π»Π΅Π½ΠΈΡ, Π½ΠΎ ΠΈΡ ΠΏΡΠΎΠΈΠ·Π²ΠΎΠ΄ΠΈΡΠ΅Π»ΡΠ½ΠΎΡΡΡ ΠΊΡΠ°ΠΉΠ½Π΅ Π½ΠΈΠ·ΠΊΠ°Ρ. ΠΡ Ρ Π²Π°ΡΠΈΡ Π»ΠΈΡΡ Π½Π° Π·Π°Π³ΠΎΡΠΎΠ²Π»Π΅Π½ΠΈΠ΅ ΠΊΠΎΡΠΌΠ° Π΄Π΅ΡΡΡΠΊΡ ΠΊΡΠΎΠ»ΠΈΠΊΠΎΠ². Π₯ΠΎΠ·ΡΠΉΡΡΠ²ΠΎ Π±ΠΎΠ»ΡΡΠΎΠ³ΠΎ ΡΠ°Π·ΠΌΠ΅ΡΠ° ΡΡΠ΅Π±ΡΠ΅Ρ Π±ΠΎΠ»ΡΡΠ΅ ΡΡΡΡΡ.
Π ΡΠ΅Π·ΡΠ»ΡΡΠ°ΡΠ΅ Π½ΡΠΆΠ΅Π½ Π½Π°Π΄ΡΠΆΠ½ΡΠΉ ΠΈΠ·ΠΌΠ΅Π»ΡΡΠΈΡΠ΅Π»Ρ ΡΠΎΠ»ΠΎΠΌΡ Π΄Π»Ρ ΡΠ°ΡΡΠ½ΡΡ ΠΏΠΎΠ΄Π²ΠΎΡΠΈΠΉ, ΠΊΠΎΡΠΎΡΡΠΉ ΠΌΠΎΠΆΠ½ΠΎ Π²ΡΠΏΠΎΠ»Π½ΠΈΡΡ ΡΠ°ΠΌΠΎΡΡΠΎΡΡΠ΅Π»ΡΠ½ΠΎ. ΠΠΎΡΠ½ΠΎΡΡΡ ΡΠΎΠΆΠ΅ Π΄ΠΎΠ»ΠΆΠ½Π° Π±ΡΡΡ Π½Π° ΡΡΠΎΠ²Π½Π΅, ΠΊΠΎΡΠΎΡΠ°Ρ ΠΏΠΎΠ·Π²ΠΎΠ»ΠΈΡ ΡΠ°Π±ΠΎΡΠ°ΡΡ Π°ΠΏΠΏΠ°ΡΠ°ΡΡ Π΄ΠΎ Π½Π΅ΡΠΊΠΎΠ»ΡΠΊΠΈΡ ΡΠ°ΡΠΎΠ² Π±Π΅Π· ΠΎΡΡΠ°Π½ΠΎΠ²ΠΊΠΈ.
ΠΠΏΠΈΡΠ°Π½ΠΈΠ΅ ΡΠΈΠΏΠΎΠ²ΠΎΠΉ ΠΊΠΎΠ½ΡΡΡΡΠΊΡΠΈΠΈ
Π’ΠΈΠΏΠΎΠ²Π°Ρ ΠΊΠΎΠ½ΡΡΡΡΠΊΡΠΈΡ ΠΏΠΎΠ΄ΡΠ°Π·ΡΠΌΠ΅Π²Π°Π΅Ρ ΡΠ»Π΅ΠΌΠ΅Π½ΡΡ, ΠΈΠ· ΠΊΠΎΡΠΎΡΡΡ ΠΈΠ·Π³ΠΎΡΠΎΠ²Π»Π΅Π½ΠΎ ΡΡΡΡΠΎΠΉΡΡΠ²ΠΎ. ΠΡ ΠΌΠΈΠ½ΠΈΠΌΠ°Π»ΡΠ½ΡΠΉ Π½Π°Π±ΠΎΡ ΠΌΠΎΠΆΠ΅Ρ Π±ΡΡΡ Π΄ΠΎΠΏΠΎΠ»Π½Π΅Π½ Π²ΡΠΏΠΎΠΌΠΎΠ³Π°ΡΠ΅Π»ΡΠ½ΡΠΌ. Π¦Π΅Π»Ρ β ΡΠ»ΡΡΡΠΈΡΡ ΠΊΠΎΠΌΡΠΎΡΡ ΠΎΡ ΡΠ°Π±ΠΎΡΡ Ρ ΡΡΡΡΠΎΠΉΡΡΠ²ΠΎΠΌ.
Π‘ΡΠ°Π½Π΄Π°ΡΡΠ½ΡΠΉ Π½Π°Π±ΠΎΡ ΠΈΠ·ΠΌΠ΅Π»ΡΡΠΈΡΠ΅Π»Ρ:
- ΠΡΠ½ΠΊΠ΅ΡΠΎΠΌ Π²ΡΡΡΡΠΏΠ°Π΅Ρ ΡΠΌΠΊΠΎΡΡΡ Π΄ΠΎΡΡΠ°ΡΠΎΡΠ½ΠΎΠ³ΠΎ ΠΎΠ±ΡΡΠΌΠ°. ΠΠ±ΡΡΠ½ΠΎ Π±Π΅ΡΡΡ ΡΡΠ°ΡΡΡ Π±ΠΎΡΠΊΡ ΠΈΠ»ΠΈ Π±ΠΎΠ»ΡΡΠΎΠΉ Π±ΠΈΠ΄ΠΎΠ½, ΠΊΡΠ΄Π° Π·Π°ΠΊΠ»Π°Π΄ΡΠ²Π°ΡΡ ΠΎΠ±ΡΠ°Π±Π°ΡΡΠ²Π°Π΅ΠΌΡΡ ΡΠ°ΡΡΠΈΡΠ΅Π»ΡΠ½ΠΎΡΡΡ.
- ΠΠ»Π΅ΠΊΡΡΠΎΠΌΠΎΡΠΎΡ ΡΡΡΠ°Π½Π°Π²Π»ΠΈΠ²Π°ΡΡ Π²Π½ΠΈΠ·Ρ Π±ΡΠ½ΠΊΠ΅ΡΠ°. ΠΠ»Π°Π²Π½ΠΎΠ΅, ΡΡΠΎΠ±Ρ Π΅Π³ΠΎ ΠΌΠΎΡΠ½ΠΎΡΡΡ Π±ΡΠ»Π° Π΄ΠΎΡΡΠ°ΡΠΎΡΠ½ΠΎΠΉ Π΄Π»Ρ ΡΠ°Π±ΠΎΡΡ Π±Π΅Π· ΠΎΡΡΠ°Π½ΠΎΠ²ΠΎΠΊ ΠΈ Π΄Π»Ρ Π±ΠΎΠ»ΡΡΠΎΠΉ Π·Π°Π³ΡΡΠ·ΠΊΠΈ.
- ΠΡΡ, Π½Π° ΠΊΠΎΡΠΎΡΠΎΠΉ Π·Π°ΠΊΡΠ΅ΠΏΠ»Π΅Π½Ρ Π½ΠΎΠΆΠΈ Π² ΠΊΠΎΠ»ΠΈΡΠ΅ΡΡΠ²Π΅ ΠΎΡ 3 Π΄ΠΎ 6. ΠΡ Π·Π°ΠΊΡΠ΅ΠΏΠ»ΡΡΡ Π½Π΅ΠΏΠΎΡΡΠ΅Π΄ΡΡΠ²Π΅Π½Π½ΠΎ ΠΊ ΠΎΡΠΈ ΡΠ»Π΅ΠΊΡΡΠΎΠΌΠΎΡΠΎΡΠ°.
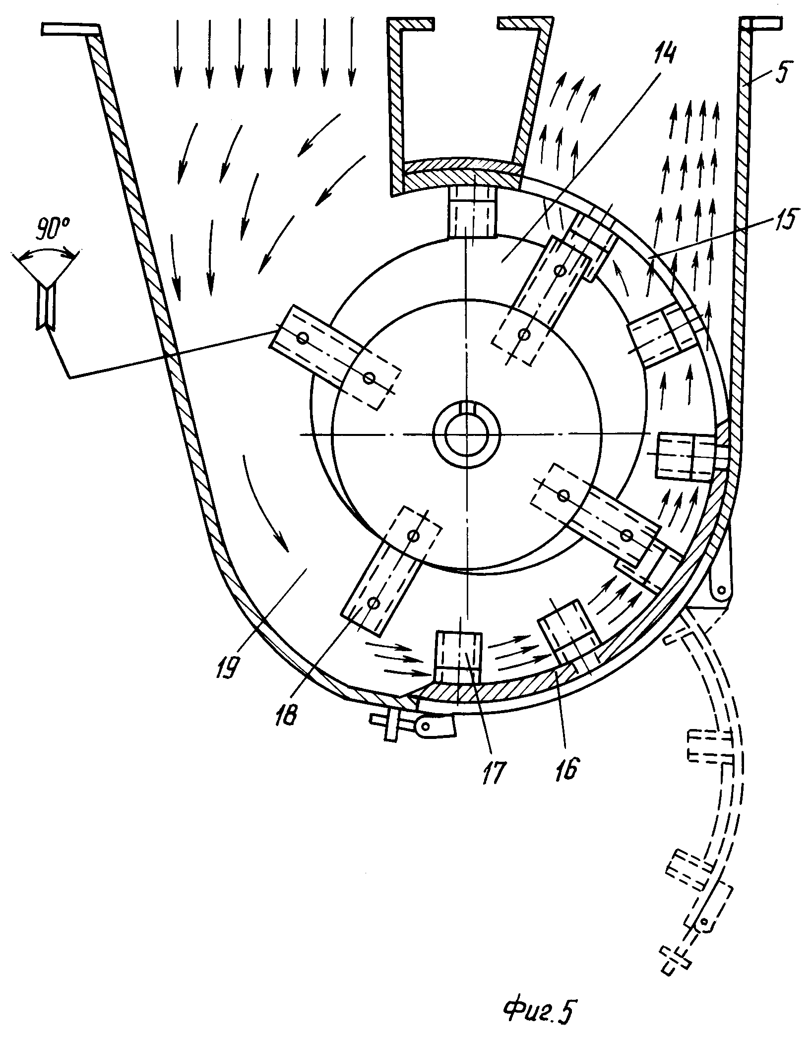
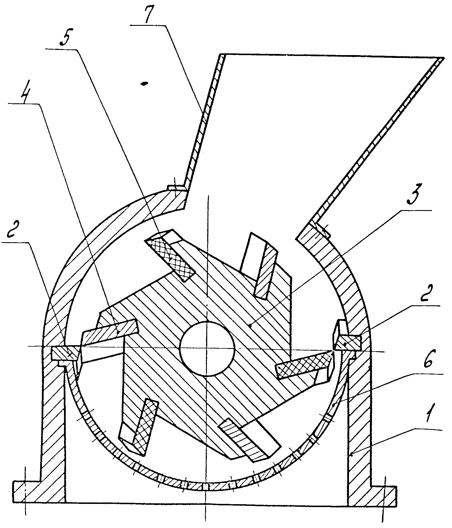
ΠΡΠ½ΠΎΠ²Ρ Π°ΠΏΠΏΠ°ΡΠ°ΡΠ° ΡΠΎΡΡΠ°Π²Π»ΡΠ΅Ρ Π±ΡΠ½ΠΊΠ΅Ρ Ρ ΠΎΡΡΡΡΠΌΠΈ Π½ΠΎΠΆΠ°ΠΌΠΈ, ΠΊΠΎΡΠΎΡΡΠ΅ ΠΆΡΡΡΠΊΠΎ Π·Π°ΠΊΡΠ΅ΠΏΠ»ΡΡΡ Π½Π° Π΄ΠΈΡΠΊΠ΅ ΠΈΠ· ΡΡΠ°Π»ΠΈ. ΠΠΈΡΠΊ ΡΡΡΠ°Π½Π°Π²Π»ΠΈΠ²Π°ΡΡ Π½Π° ΠΎΡΡ, ΠΊΠΎΡΠΎΡΠ°Ρ ΡΠ²Π»ΡΠ΅ΡΡΡ Π²Π°Π»ΠΎΠΌ ΡΠ»Π΅ΠΊΡΡΠΎΠ΄Π²ΠΈΠ³Π°ΡΠ΅Π»Ρ ΠΈΠ»ΠΈ ΡΠΎΠ΅Π΄ΠΈΠ½Π΅Π½Π° Ρ Π½ΠΈΠΌ ΡΠ΅ΡΠ΅Π· ΡΠ΅Π΄ΡΠΊΡΠΎΡ.
ΠΡΠ½ΠΊΠ΅Ρ ΠΏΡΠ΅Π΄ΡΡΠ°Π²Π»ΡΠ΅Ρ ΡΠΎΠ±ΠΎΠΉ ΡΠΌΠΊΠΎΡΡΡ Π΄Π»Ρ Π·Π°ΠΊΠ»Π°Π΄ΠΊΠΈ ΠΌΠ°ΡΠ΅ΡΠΈΠ°Π»Π° β ΡΠ΅Π½Π° ΠΈΠ»ΠΈ ΡΠΎΠ»ΠΎΠΌΡ, ΠΊΠΎΡΠΎΡΡΠ΅ ΡΡΠ΅Π±ΡΡΡ ΠΈΠ·ΠΌΠ΅Π»ΡΡΠ΅Π½ΠΈΡ. Π Π½ΡΠΌ ΠΏΡΠΎΠΈΡΡ
ΠΎΠ΄ΠΈΡ ΠΏΡΠΎΡΠ΅ΡΡ ΡΡΠ±ΠΊΠΈ. Π ΡΠ΅Π»ΡΡ
Π±Π΅Π·ΠΎΠΏΠ°ΡΠ½ΠΎΡΡΠΈ Π±ΡΠ½ΠΊΠ΅Ρ Π΄Π΅Π»Π°ΡΡ ΠΌΠ°ΠΊΡΠΈΠΌΠ°Π»ΡΠ½ΠΎ Π²ΡΡΠΎΠΊΠΈΠΌ, ΡΡΠΎΠ±Ρ ΠΏΡΠΈ ΠΏΠΎΠ³ΡΡΠ·ΠΊΠ΅ ΡΡΡΡΡ ΡΡΠΊΠ°ΠΌΠΈ Π½Π΅ ΠΊΠΎΡΠ½ΡΡΡΡΡ Π½ΠΎΠΆΠ΅ΠΉ. Π€ΠΎΡΠΌΠ° ΡΠΌΠΊΠΎΡΡΠΈ, ΠΊΠ°ΠΊ ΠΏΡΠ°Π²ΠΈΠ»ΠΎ, ΡΠΈΠ»ΠΈΠ½Π΄ΡΠΈΡΠ΅ΡΠΊΠ°Ρ, Π½ΠΎ ΠΌΠΎΠΆΠ½ΠΎ Π²ΡΡΡΠ΅ΡΠΈΡΡ ΡΠΎΡΠΌΡ ΠΏΠ΅ΡΠ΅Π²ΡΡΠ½ΡΡΠΎΠ³ΠΎ ΠΊΠΎΠ½ΡΡΠ°. Π£ΡΡΠ°Π½Π°Π²Π»ΠΈΠ²Π°ΡΡ ΡΠΌΠΊΠΎΡΡΡ Π½Π° ΠΏΠΎΠ΄ΡΡΠ°Π²ΠΊΡ, ΠΎΠ±ΡΡΠ½ΠΎ Π² Π²ΠΈΠ΄Π΅ ΡΡΠ΅Π½ΠΎΠ³ΠΈ. ΠΡΡΠΎΡΠ° ΠΏΠΎΠ΄ΡΡΠ°Π²ΠΊΠΈ ΡΠ°ΠΊΠ°Ρ, ΡΡΠΎΠ±Ρ Π²Π½ΠΈΠ·Ρ ΠΌΠΎΠ³ Π±ΡΡΡ ΡΡΡΠ°Π½ΠΎΠ²Π»Π΅Π½ ΡΠ»Π΅ΠΊΡΡΠΎΠΌΠΎΡΠΎΡ. ΠΠΎΡΠ»Π΅Π΄Π½ΠΈΠΉ Π·Π°ΠΊΡΠ΅ΠΏΠ»ΡΡΡ Π½Π° Π΄Π½ΠΈΡΠ΅.
ΠΠ½ΠΎΠ³Π΄Π° Π±ΡΠ½ΠΊΠ΅Ρ Π²ΡΠΏΠΎΠ»Π½ΡΡΡ Π½Π΅Π±ΠΎΠ»ΡΡΠΈΠΌ ΠΏΠΎ Π²ΡΡΠΎΡΠ΅, Π½ΠΎ Ρ ΠΊΡΡΡΠΊΠΎΠΉ Π² ΡΠ΅Π»ΡΡ Π±Π΅Π·ΠΎΠΏΠ°ΡΠ½ΠΎΡΡΠΈ. Π ΠΊΡΡΡΠΊΠ΅ ΠΎΠ±ΡΠ·Π°ΡΠ΅Π»ΡΠ½ΠΎ Π΄ΠΎΠ»ΠΆΠ½ΠΎ Π±ΡΡΡ ΠΎΡΠ²Π΅ΡΡΡΠΈΠ΅ Π΄Π»Ρ Π·Π°Π³ΡΡΠ·ΠΊΠΈ ΡΡΡΡΡ.
ΠΡΠΎΠΈΠ·Π²ΠΎΠ΄ΡΡΠ²ΠΎ ΠΏΠΎ ΠΏΠΎΡΠΎΡΠ½ΠΎΠΌΡ ΠΏΡΠΈΠ½ΡΠΈΠΏΡ ΡΠΎΠ·Π΄Π°ΡΡ ΠΏΡΡΡΠΌ ΡΡΡΠ°Π½ΠΎΠ²ΠΊΠΈ ΠΎΡΠ²Π°Π»Π° ΠΎΡΡΠ°Π±ΠΎΡΠ°Π½Π½ΠΎΠΉ ΠΌΠ°ΡΡΡ. Π§Π΅ΡΠ΅Π· ΡΡΡΡΠΎΠΉΡΡΠ²ΠΎ ΠΈΠ·ΠΌΠ΅Π»ΡΡΡΠ½Π½ΡΠΉ ΠΌΠ°ΡΠ΅ΡΠΈΠ°Π» Π²ΡΠ±ΡΠ°ΡΡΠ²Π°Π΅ΡΡΡ ΠΈΠ· Π±ΡΠ½ΠΊΠ΅ΡΠ°. ΠΡΠΎ ΠΏΠΎΠ·Π²ΠΎΠ»ΡΠ΅Ρ Π΄ΠΎΠ±Π°Π²Π»ΡΡΡ ΡΡΡΡΡ Π½Π΅ΠΏΡΠ΅ΡΡΠ²Π½ΠΎ. Π’ΠΎ Π΅ΡΡΡ ΠΎΡΡΠ°Π½Π°Π²Π»ΠΈΠ²Π°ΡΡ ΠΌΠΎΡΠΎΡ, ΡΡΠΎΠ±Ρ Π΄ΠΎΡΡΠ°ΡΡ ΡΠ΅ΡΠΊΡ ΠΈ Π΄ΠΎΠ±Π°Π²ΠΈΡΡ ΡΡΡΡΡ, Π½Π΅ ΠΏΠΎΡΡΠ΅Π±ΡΠ΅ΡΡΡ. ΠΡΠΈ ΡΡΠΎΠΌ Π΄ΠΎΡΡΠΈΠ³Π°Π΅ΡΡΡ Π·Π½Π°ΡΠΈΡΠ΅Π»ΡΠ½Π°Ρ ΡΠΊΠΎΠ½ΠΎΠΌΠΈΡ Π²ΡΠ΅ΠΌΠ΅Π½ΠΈ. ΠΠ³ΠΎ ΡΠ΄Π΅Π»Π°ΡΡ ΡΠ½ΠΈΠ·Ρ Π±ΡΠ½ΠΊΠ΅ΡΠ°. Π€ΠΎΡΠΌΠ° Π½Π΅ Π²Π°ΠΆΠ½Π°, Π³Π»Π°Π²Π½ΠΎΠ΅, ΡΡΠΎΠ±Ρ Π±ΡΠ» Π½Π°ΠΊΠ»ΠΎΠ½ Π΄Π»Ρ ΠΎΡΠ²Π°Π»Π° ΠΌΠ°ΡΠ΅ΡΠΈΠ°Π»Π°.
ΠΠΈΡΠΊ Ρ ΡΠ°Π·ΠΌΠ΅ΡΡΠ½Π½ΡΠΌΠΈ Π½Π° Π½ΡΠΌ Π½ΠΎΠΆΠ°ΠΌΠΈ β Π΄Π΅ΡΠ°Π»Ρ ΠΊΡΠ°ΠΉΠ½Π΅ ΡΠ»ΠΎΠΆΠ½Π°Ρ Π² ΠΈΠ·Π³ΠΎΡΠΎΠ²Π»Π΅Π½ΠΈΠΈ. ΠΠΎΠ½ΡΡΡΡΠΊΡΠΈΡ ΠΌΠΎΠΆΠ΅Ρ Π±ΡΡΡ ΠΏΡΠΎΠΈΠ·Π²ΠΎΠ»ΡΠ½ΠΎΠΉ. Π¦Π΅Π»Ρ ΠΏΡΠΈ ΡΠ±ΠΎΡΠΊΠ΅ β Π΄ΠΎΡΡΠΈΠ³Π½ΡΡΡ ΠΌΠ°ΠΊΡΠΈΠΌΠ°Π»ΡΠ½ΠΎΠ³ΠΎ Π±Π°Π»Π°Π½ΡΠ°, ΡΡΠΎΠ±Ρ ΡΡΡΡΠΎΠΉΡΡΠ²ΠΎ Π² ΠΏΡΠΎΡΠ΅ΡΡΠ΅ ΡΠ°Π±ΠΎΡΡ Π½Π΅ ΡΡΡΡΠ»ΠΎΡΡ ΠΎΡ Π²ΠΈΠ±ΡΠ°ΡΠΈΠΉ.
Π‘Ρ Π΅ΠΌΠ° ΡΠ°Π±ΠΎΡΡ
- ΠΠΊΠ»ΡΡΠ°ΡΡ ΡΠ»Π΅ΠΊΡΡΠΎΠΌΠΎΡΠΎΡ.
- ΠΠ°Π³ΡΡΠΆΠ°ΡΡ ΠΌΠ°ΡΠ΅ΡΠΈΠ°Π» Π² Π±ΡΠ½ΠΊΠ΅Ρ.
- ΠΠ· ΠΏΠ°ΡΡΡΠ±ΠΊΠ° Π²ΡΠ»Π΅ΡΠ°Π΅Ρ ΠΎΠ±ΡΠ°Π±ΠΎΡΠ°Π½Π½ΡΠΉ ΠΌΠ°ΡΠ΅ΡΠΈΠ°Π», ΠΊΠΎΡΠΎΡΡΠΉ ΠΏΠΎΠΏΠ°Π΄Π°Π΅Ρ Π² Π·Π°ΡΠ°Π½Π΅Π΅ ΠΏΠΎΠ΄Π³ΠΎΡΠΎΠ²Π»Π΅Π½Π½ΡΡ ΡΠΌΠΊΠΎΡΡΡ.

ΠΠΌΠΊΠΎΡΡΡΡ ΠΎΠ±ΡΡΠ½ΠΎ ΡΠ»ΡΠΆΠΈΡ Π±ΠΎΡΠΊΠ° ΠΈΠ· ΠΏΠ»Π°ΡΡΠΈΠΊΠ°. ΠΠ΅Π»Π°ΡΠ΅Π»ΡΠ½ΠΎ Π΅Ρ Π½Π°ΠΊΡΡΡΡ ΠΊΡΡΡΠΊΠΎΠΉ, Π° ΡΠ±ΠΎΠΊΡ ΡΠ΄Π΅Π»Π°ΡΡ ΠΎΡΠ²Π΅ΡΡΡΠΈΠ΅, ΡΡΠΎΠ±Ρ ΡΠ΅ΡΠΊΠ° Π½Π΅ ΡΠ°Π·Π»Π΅ΡΠ°Π»Π°ΡΡ Π²ΠΎ Π²ΡΠ΅ ΡΡΠΎΡΠΎΠ½Ρ. ΠΠΏΠ΅ΡΠ°ΡΠΎΡΡ ΠΎΡΡΠ°ΡΡΡΡ ΠΏΠΎΠ΄Π°Π²Π°ΡΡ ΡΡΡΡΡ ΠΈ Π²ΠΎΠ²ΡΠ΅ΠΌΡ ΠΎΡΠ²ΠΎΠ±ΠΎΠΆΠ΄Π°ΡΡ ΡΠΌΠΊΠΎΡΡΡ Ρ ΡΠ΅ΡΠΊΠΎΠΉ. Π ΠΈΠ΄Π΅Π°Π»Π΅ ΠΈΡ ΠΈΡΠΏΠΎΠ»ΡΠ·ΡΡΡ Π½Π΅ΡΠΊΠΎΠ»ΡΠΊΠΎ, ΠΌΠ΅Π½ΡΡ ΠΏΠΎ ΠΌΠ΅ΡΠ΅ Π½Π°ΠΏΠΎΠ»Π½Π΅Π½ΠΈΡ.
ΠΠ°ΡΠ΅ΡΠΈΠ°Π»Ρ ΠΈ ΠΏΡΠΎΡΠ΅ΡΡ ΠΈΠ·Π³ΠΎΡΠΎΠ²Π»Π΅Π½ΠΈΡ
ΠΠ·Π³ΠΎΡΠΎΠ²Π»Π΅Π½ΠΈΠ΅ Π΄ΠΎΠΌΠΎΠ²ΠΎΠ³ΠΎ ΠΈΠ·ΠΌΠ΅Π»ΡΡΠΈΡΠ΅Π»Ρ Π½Π°ΡΠΈΠ½Π°ΡΡ Ρ ΡΠ΅ΡΡΠ΅ΠΆΠ° Π½Π° Π±ΡΠΌΠ°Π³Π΅. ΠΡΠΎ ΠΏΠΎΠ·Π²ΠΎΠ»ΡΠ΅Ρ ΠΈΠΌΠ΅ΡΡ Π²ΠΈΠ·ΡΠ°Π»ΡΠ½ΠΎΠ΅ ΠΏΡΠ΅Π΄ΡΡΠ°Π²Π»Π΅Π½ΠΈΠ΅ ΠΎ ΠΊΠΎΠ½ΡΡΡΡΠΊΡΠΈΠΈ ΠΈ Π²ΡΡΠ²ΠΈΡΡ Π½Π΅Π΄ΠΎΡΡΡΡ ΠΈΠ»ΠΈ Π΄ΠΎΡΠ°Π±ΠΎΡΠ°ΡΡ Π²Π°ΠΆΠ½ΡΠ΅ Π½ΡΠ°Π½ΡΡ Π½Π° ΡΡΠ°Π΄ΠΈΠΈ ΠΏΡΠΎΠ΅ΠΊΡΠΈΡΠΎΠ²Π°Π½ΠΈΡ. ΠΠ΅ΡΠ΅Π΄Π΅Π»ΡΠ²Π°ΡΡ Π³ΠΎΡΠΎΠ²ΠΎΠ΅ ΠΈΠ·Π΄Π΅Π»ΠΈΠ΅ ΠΏΠΎΠ»ΡΡΠΈΡΡΡ Π΄ΠΎΡΠΎΠΆΠ΅, Π΄Π° ΠΈ Π²ΡΠ΅ΠΌΡ Π»ΠΈΡΠ½Π΅Π΅ Π±ΡΠ΄Π΅Ρ ΠΏΠΎΡΡΠ°ΡΠ΅Π½ΠΎ.
ΠΠ°ΡΠ΅ΡΠΈΠ°Π»Ρ Π΄Π»Ρ ΡΠ±ΠΎΡΠΊΠΈ:
- ΠΠ»Π΅ΠΊΡΡΠΎΠΌΠΎΡΠΎΡ.
- ΠΠΌΠΊΠΎΡΡΡ Π΄Π»Ρ Π±ΡΠ½ΠΊΠ΅ΡΠ° β Π³ΠΎΡΠΎΠ²Π°Ρ ΠΎΡ ΠΊΠ°ΠΊΠΎΠ³ΠΎ-Π»ΠΈΠ±ΠΎ ΡΡΡΡΠΎΠΉΡΡΠ²Π° ΠΈΠ»ΠΈ ΡΠ²Π°ΡΠ΅Π½Π½Π°Ρ ΠΏΠΎ Π·Π°Π΄Π°Π½Π½ΡΠΌ ΡΠ°Π·ΠΌΠ΅ΡΠ°ΠΌ ΠΈΠ· ΡΡΠ°Π»ΡΠ½ΡΡ Π»ΠΈΡΡΠΎΠ².
- ΠΡΡΡΠΊΠ° Π΄Π»Ρ Π±ΡΠ½ΠΊΠ΅ΡΠ°, ΠΊΠΎΡΠΎΡΠ°Ρ Π±ΡΠ΄Π΅Ρ Π½Π°Π΄ΡΠΆΠ½Π° Π½Π° Π½ΡΠΌ ΡΡΡΠ°Π½ΠΎΠ²Π»Π΅Π½Π°.
- ΠΠ»ΠΈΡΠ° ΠΈΠ· ΡΡΠ°Π»ΠΈ ΡΠΎΠ»ΡΠΈΠ½ΠΎΠΉ Π½Π΅ ΠΌΠ΅Π½Π΅Π΅ ΡΠ°Π½ΡΠΈΠΌΠ΅ΡΡΠ° Π΄Π»Ρ ΠΏΠ»ΠΎΡΠ°Π΄ΠΊΠΈ ΠΏΠΎΠ΄ ΡΠ»Π΅ΠΊΡΡΠΎΠΌΠΎΡΠΎΡ.

- ΠΠΈΡΡΡ ΠΌΠ΅ΡΠ°Π»Π»Π° Π΄Π»Ρ ΠΈΠ·Π³ΠΎΡΠΎΠ²Π»Π΅Π½ΠΈΡ ΠΎΠΏΠΎΡΡ ΠΈ Π΄ΡΡΠ³ΠΈΡ ΡΠ»Π΅ΠΌΠ΅Π½ΡΠΎΠ² ΡΠΎΠ»ΡΠΈΠ½ΠΎΠΉ Π½Π΅ ΠΌΠ΅Π½Π΅Π΅ 3 ΠΌΠΌ.
- ΠΡΠΈΠ²ΠΎΠ΄Π½ΠΎΠΉ Π²Π°Π».
- ΠΠΎΠΊΠΎΠ²ΠΎΠΉ ΠΏΠ°ΡΡΡΠ±ΠΎΠΊ Π² ΠΊΠ°ΡΠ΅ΡΡΠ²Π΅ ΠΎΡΠ²Π°Π»Π°.
ΠΠ»Π΅ΠΊΡΡΠΎΠΌΠΎΡΠΎΡ β ΡΡΠΎ Π³Π»Π°Π²Π½Π°Ρ ΡΠ°ΡΡΡ ΡΡΡΡΠΎΠΉΡΡΠ²Π°, ΠΊΠΎΡΠΎΡΠ°Ρ Π·Π°Π΄Π°ΡΡ Π΅Π³ΠΎ Ρ Π°ΡΠ°ΠΊΡΠ΅ΡΠΈΡΡΠΈΠΊΠΈ. ΠΡΠ±ΠΈΡΠ°ΡΡ ΠΌΠΎΡΠΎΡ Π² Π·Π°Π²ΠΈΡΠΈΠΌΠΎΡΡΠΈ ΠΎΡ ΠΎΠ±ΡΡΠΌΠ° Π±ΡΠ½ΠΊΠ΅ΡΠ° Π΄Π»Ρ ΡΠΎΠ»ΠΎΠΌΠΎΠΈΠ·ΠΌΠ΅Π»ΡΡΠΈΡΠ΅Π»Ρ. Π§Π΅ΠΌ Π±ΠΎΠ»ΡΡΠ΅ ΠΌΠ°ΡΡΠ° ΡΡΡΡΡ ΠΏΡΠΈ ΠΎΠ΄Π½ΠΎΠΉ Π·Π°Π³ΡΡΠ·ΠΊΠ΅, ΡΠ°ΠΌ ΠΌΠΎΡΠ½Π΅Π΅ ΡΡΠ΅Π±ΡΠ΅ΡΡΡ Π΄Π²ΠΈΠ³Π°ΡΠ΅Π»Ρ. ΠΠ±ΡΡΠ½ΠΎ Π½Π° ΠΈΠ·ΠΌΠ΅Π»ΡΡΠΈΡΠ΅Π»Ρ ΡΠ΅Π½Π° ΠΈ ΡΠΎΠ»ΠΎΠΌΡ Π΄Π»Ρ ΡΠ°ΡΡΠ½ΡΡ ΠΏΠΎΠ΄Π²ΠΎΡΠΈΠΉ ΡΡΡΠ°Π½Π°Π²Π»ΠΈΠ²Π°ΡΡ ΡΠ»Π΅ΠΊΡΡΠΎΠΌΠΎΡΠΎΡ ΠΌΠΎΡΠ½ΠΎΡΡΡΡ ΠΎΡ 2,2 Π΄ΠΎ 6 ΠΊΠΡ. Π‘ΠΊΠΎΡΠΎΡΡΡ ΠΎΠ±ΠΎΡΠΎΡΠΎΠ² Π½Π΅ Π΄ΠΎΠ»ΠΆΠ½Π° ΠΏΡΠ΅Π²ΡΡΠ°ΡΡ 2 ΡΡΡ./ΠΌΠΈΠ½ Π² ΡΠ΅Π»ΡΡ Π±Π΅Π·ΠΎΠΏΠ°ΡΠ½ΠΎΡΡΠΈ. ΠΠΏΡΠΈΠΌΠ°Π»ΡΠ½Π°Ρ β 1,5 ΡΡΡ./ΠΌΠΈΠ½.
ΠΠ»Π΅ΠΊΡΡΠΎΠΌΠΎΡΠΎΡ ΡΠΎ ΡΠΊΠΎΡΠΎΡΡΡΡ Π²ΡΠ°ΡΠ΅Π½ΠΈΡ Π²ΡΡΠ΅ ΠΎΠΏΡΠΈΠΌΠ°Π»ΡΠ½ΠΎΠΉ ΡΠΎΠΆΠ΅ ΠΌΠΎΠΆΠ½ΠΎ ΠΏΡΠΈΡΠΏΠΎΡΠΎΠ±ΠΈΡΡ Π΄Π»Ρ ΡΡΡΠ°Π½ΠΎΠ²ΠΊΠΈ Π² ΠΊΠΎΠ½ΡΡΡΡΠΊΡΠΈΡ, Π½ΠΎ Ρ Π²Π°Π»ΠΎΠΌ Π΅Π³ΠΎ ΡΠΎΠ΅Π΄Π΅Π½ΡΡΡ Π½Π΅ Π½Π°ΠΏΡΡΠΌΡΡ. ΠΠ»Ρ ΡΡΠΎΠ³ΠΎ ΠΈΡΠΏΠΎΠ»ΡΠ·ΡΡΡ ΠΏΠΎΠ½ΠΈΠΆΠ°ΡΡΠΈΠΉ ΡΠ΅Π΄ΡΠΊΡΠΎΡ, Π·Π°ΡΠ°ΡΡΡΡ ΡΠ΅ΠΌΠ΅Π½Π½ΠΎΠΉ. ΠΠΎΠΆΠ½ΠΎ Π²ΠΎΡΠΏΠΎΠ»ΡΠ·ΠΎΠ²Π°ΡΡΡΡ Π·ΡΠ±ΡΠ°ΡΠΎΠΉ ΠΏΠ΅ΡΠ΅Π΄Π°ΡΠ΅ΠΉ. ΠΠΎΠ½ΠΈΠΆΠ°ΡΡΠΈΠΉ ΡΠ΅Π΄ΡΠΊΡΠΎΡ ΠΏΠΎΠ·Π²ΠΎΠ»ΡΠ΅Ρ ΡΠ²Π΅Π»ΠΈΡΠΈΡΡ ΠΎΡΠ΄Π°ΡΡ ΠΎΡ ΠΌΠΎΡΠΎΡΠ° ΠΈ ΠΈΠ·ΠΌΠ΅Π»ΡΡΠ°ΡΡ ΠΊΠΎΡΠ½Π΅ΠΏΠ»ΠΎΠ΄Ρ ΠΈ Π΄Π°ΠΆΠ΅ ΠΌΠ΅Π»ΠΊΠΈΠ΅ Π²Π΅ΡΠΊΠΈ.
ΠΠΎΡΠΎΡ ΡΠΎΠ΅Π΄ΠΈΠ½ΡΡΡ Ρ Π²Π°Π»ΠΎΠΌ, Π½Π° ΠΊΠΎΡΠΎΡΠΎΠΌ Π±ΡΠ΄Π΅Ρ ΡΡΡΠ°Π½ΠΎΠ²Π»Π΅Π½ Π΄ΠΈΡΠΊ Ρ Π½ΠΎΠΆΠ°ΠΌΠΈ.
ΠΠ°Π»ΠΎΠΌ ΠΌΠΎΠΆΠ΅Ρ Π²ΡΡΡΡΠΏΠ°ΡΡ ΡΡΡΠ±ΠΊΠ°, Π½ΠΎ ΡΠΎΠ»ΡΠΊΠΎ ΠΏΡΡΠΌΠ°Ρ, Π±Π΅Π· ΠΏΠ΅ΡΠ΅ΠΊΠΎΡΠΎΠ². ΠΡΠΎ Π½ΡΠΆΠ½ΠΎ Π΄Π»Ρ ΠΏΡΠ°Π²ΠΈΠ»ΡΠ½ΠΎΠ³ΠΎ Π±Π°Π»Π°Π½ΡΠ°, ΠΈΠ½Π°ΡΠ΅ Π²ΠΎΠ·Π½ΠΈΠΊΠ½Π΅Ρ Π²ΠΈΠ±ΡΠ°ΡΠΈΡ, ΡΡΠΎ Π½Π΅Π΄ΠΎΠΏΡΡΡΠΈΠΌΠΎ.
ΠΠΎΠΆΠΈ ΡΡΡΠ°Π½Π°Π²Π»ΠΈΠ²Π°ΡΡ Π½Π° Π²Π°Π»Ρ ΡΠ°ΠΊ, ΡΡΠΎΠ±Ρ ΠΌΠ΅ΠΆΠ΄Ρ Π½ΠΈΠΌΠΈ ΠΈ ΠΊΠΎΠ½ΡΡΠ»Π΅Π·Π²ΠΈΡΠΌΠΈ Π±ΡΠ»ΠΎ ΠΌΠΈΠ½ΠΈΠΌΠ°Π»ΡΠ½ΠΎΠ΅ ΡΠ°ΡΡΡΠΎΡΠ½ΠΈΠ΅. ΠΡΠΎ ΠΏΠΎΠ·Π²ΠΎΠ»ΠΈΡ ΠΎΠ±Π΅ΡΠΏΠ΅ΡΠΈΡΡ ΠΊΠ°ΡΠ΅ΡΡΠ²Π΅Π½Π½ΠΎΠ΅ ΠΈΠ·ΠΌΠ΅Π»ΡΡΠ΅Π½ΠΈΠ΅ ΡΡΡΡΡ.
Π‘Π±ΠΎΡΠΊΠ° ΡΡΡΡΠΎΠΉΡΡΠ²Π°
Π‘ΠΎΠ±ΠΈΡΠ°ΡΡ Π½Π΅ΠΎΠ±Ρ ΠΎΠ΄ΠΈΠΌΠΎ ΠΊΠ°ΡΠ΅ΡΡΠ²Π΅Π½Π½ΠΎ, ΠΏΠΎΠ΄Π³ΠΎΠ½ΡΡ Π΄Π΅ΡΠ°Π»ΠΈ. ΠΡ ΠΊΠ°ΡΠ΅ΡΡΠ²Π° ΡΠ±ΠΎΡΠΊΠΈ Π·Π°Π²ΠΈΡΠΈΡ ΡΡΠΎΠΊ ΡΠΊΡΠΏΠ»ΡΠ°ΡΠ°ΡΠΈΠΈ ΠΈ Π±Π΅Π·ΠΎΠΏΠ°ΡΠ½ΠΎΡΡΡ Π±ΡΡΠΎΠ²ΠΎΠ³ΠΎ ΠΈΠ·ΠΌΠ΅Π»ΡΡΠΈΡΠ΅Π»Ρ ΡΠΎΠ»ΠΎΠΌΡ. Π£ΡΡΡΠΎΠΉΡΡΠ²ΠΎ ΡΠΎΠ΄Π΅ΡΠΆΠΈΡ Π΄Π²ΠΈΠΆΡΡΠΈΠ΅ΡΡ ΡΠ°ΡΡΠΈ, ΠΈ ΠΏΠ»ΠΎΡ ΠΎ Π·Π°ΡΠΈΠΊΡΠΈΡΠΎΠ²Π°Π½Π½ΡΠ΅ ΡΠΎΠ΅Π΄ΠΈΠ½Π΅Π½ΠΈΡ ΠΌΠΎΠ³ΡΡ ΡΠ»Π΅ΡΠ΅ΡΡ ΠΏΡΠΈ ΡΠ°Π±ΠΎΡΠ΅. ΠΡΠΎ ΡΡΠ΅Π²Π°ΡΠΎ ΡΡΠ°Π²ΠΌΠΎΠΉ ΠΎΠΏΠ΅ΡΠ°ΡΠΎΡΠ°.
ΠΠΎΡΡΠ΄ΠΎΠΊ ΡΠ±ΠΎΡΠΊΠΈ:
- Π Π°Π±ΠΎΡΠ°ΡΡ Ρ ΡΠΌΠΊΠΎΡΡΡΡ ΠΈ ΡΡΡΠ°Π½Π°Π²Π»ΠΈΠ²Π°ΡΡ Π½Π° Π½Π΅Ρ ΡΠ»Π΅ΠΊΡΡΠΎΠΌΠΎΡΠΎΡ. ΠΡΠΈ ΠΎΡΡΡΡΡΡΠ²ΠΈΠΈ Π΄Π½Π° Π² Π±ΡΠ½ΠΊΠ΅ΡΠ΅ Π΅Π³ΠΎ ΠΏΡΠΈΠ²Π°ΡΠΈΠ²Π°ΡΡ.
Π‘Π½ΠΈΠ·Ρ ΡΡΡΠ°Π½Π°Π²Π»ΠΈΠ²Π°ΡΡ ΠΊΡΠΎΠ½ΡΡΠ΅ΠΉΠ½ ΠΈ ΠΌΠ΅ΡΠ°Π»Π»ΠΈΡΠ΅ΡΠΊΡΡ ΠΏΠ»ΠΈΡΡ, ΠΊΡΠ΄Π° ΠΊΡΠ΅ΠΏΡΡ ΡΠ»Π΅ΠΊΡΡΠΎΠΌΠΎΡΠΎΡ. ΠΠ»ΠΈΡΠ° Π·Π°ΠΊΡΠ΅ΠΏΠ»ΡΠ΅ΡΡΡ ΠΏΡΠΈ ΠΏΠΎΠΌΠΎΡΠΈ Π±Π°ΠΊΠ°, ΠΈ ΠΊ Π½Π΅ΠΉ ΠΊΡΠ΅ΠΏΠΈΡΡΡ Π΄Π²ΠΈΠ³Π°ΡΠ΅Π»Ρ. - ΠΠ°Π΄ ΠΌΠΎΡΠΎΡΠΎΠΌ ΡΡΡΠ°Π½Π°Π²Π»ΠΈΠ²Π°ΡΡ Π½Π°ΠΊΠ»ΠΎΠ½Π½ΡΠ΅ ΠΎΠΏΠΎΡΡ, ΠΊΠΎΡΠΎΡΡΠ΅ Π±ΡΠ΄ΡΡ ΡΠ»ΡΠΆΠΈΡΡ ΠΊΡΠΎΠ½ΡΡΠ΅ΠΉΠ½ΠΎΠΌ Π΄Π»Ρ ΡΡΡΠ°Π½ΠΎΠ²ΠΊΠΈ Π²ΡΠ³ΡΡΠ·Π½ΠΎΠ³ΠΎ ΡΡΡΡΠΎΠΉΡΡΠ²Π°. ΠΠ³ΠΎ ΠΌΠΎΠ½ΡΠΈΡΡΡΡ Π² ΡΠΎΠΌ ΠΌΠ΅ΡΡΠ΅, Π³Π΄Π΅ ΠΎΠΏΠΎΡΡ ΡΠΎΠ΅Π΄ΠΈΠ½ΡΡΡΡΡ Ρ ΠΊΡΠ°Π΅ΠΌ Π±ΡΠ½ΠΊΠ΅ΡΠ°.
- ΠΡΠΈΠΊΡΠ΅ΠΏΠ»ΡΡΡ ΠΌΠΎΡΠΎΡ ΡΠ°ΠΌΠΎΡΠ΅Π·Π°ΠΌΠΈ ΠΈΠ»ΠΈ Π±ΠΎΠ»ΡΠ°ΠΌΠΈ. ΠΡΡ Π΄Π²ΠΈΠ³Π°ΡΠ΅Π»Ρ Π΄ΠΎΠ»ΠΆΠ½Π° ΡΠ°ΡΠΏΠΎΠ»ΠΎΠΆΠΈΡΡΡΡ Π²ΡΡΠ΅ Π½Π°ΠΊΠ»ΠΎΠ½Π½ΡΡ ΠΎΠΏΠΎΡ.
- Π€ΠΎΡΠΌΠΈΡΡΡΡ ΡΠ΅ΠΆΡΡΠΈΠΉ ΠΈΠ½ΡΡΡΡΠΌΠ΅Π½Ρ. ΠΠ»Ρ ΡΡΠΎΠ³ΠΎ ΠΏΠΎΠ΄ΠΎΠΉΠ΄ΡΡ ΠΊΡΡΠΊΠΈ Π²ΡΡΠΎΠΊΠΎΠΊΠ°ΡΠ΅ΡΡΠ²Π΅Π½Π½ΠΎΠΉ ΡΠ³Π»Π΅ΡΠΎΠ΄ΠΈΡΡΠΎΠΉ ΡΡΠ°Π»ΠΈ, ΠΊΠΎΡΠΎΡΡΡ ΠΌΠΎΠΆΠ½ΠΎ Π²Π·ΡΡΡ ΠΈΠ· ΠΎΡΡΠ°Π±ΠΎΡΠ°Π½Π½ΠΎΠ³ΠΎ ΠΏΠΎΠ»ΠΎΡΠ½Π° ΠΌΠ΅ΡΠ°Π»Π»ΠΎΡΠ΅ΠΆΡΡΠ΅Π³ΠΎ ΡΡΠ°Π½ΠΊΠ°. ΠΠΈΡΠΊ Π±Π΅ΡΡΡ ΡΠ°ΠΊΠΎΠ³ΠΎ ΡΠ°Π·ΠΌΠ΅ΡΠ°, ΡΡΠΎΠ±Ρ ΡΡΡΠ°Π½ΠΎΠ²Π»Π΅Π½Π½ΡΠ΅ Π½ΠΎΠΆΠΈ Π½Π° Π½ΡΠΌ Π½Π΅ ΠΊΠ°ΡΠ°Π»ΠΈΡΡ ΡΡΠ΅Π½ΠΎΠΊ Π±ΡΠ½ΠΊΠ΅ΡΠ°.
- ΠΠ° Π²Π΅ΡΡΠΈΠΊΠ°Π»ΡΠ½ΡΡ ΠΎΡΡ Π·Π°ΠΊΡΠ΅ΠΏΠ»ΡΡΡ Π΄ΠΈΡΠΊ Ρ Π½ΠΎΠΆΠ°ΠΌΠΈ. ΠΡΡ ΠΌΠΎΠΆΠ½ΠΎ ΡΠ΄Π΅Π»Π°ΡΡ ΠΈΠ· ΠΏΡΠΎΡΠ½ΠΎΠΉ ΡΡΠ°Π»ΡΠ½ΠΎΠΉ ΡΡΡΠ±Ρ. ΠΠ»Π°Π²Π½ΠΎΠ΅ ΡΡΠ΅Π±ΠΎΠ²Π°Π½ΠΈΠ΅ β ΡΡΠΎΠ±Ρ ΡΡΡΠ±Π° Π±ΡΠ»Π° ΡΠΎΠ²Π½ΠΎΠΉ, Π±Π΅Π· ΠΈΠ·Π³ΠΈΠ±ΠΎΠ², ΠΏΠΎΡΠΊΠΎΠ»ΡΠΊΡ ΠΎΠ½ΠΈ ΡΠΏΡΠΎΠ²ΠΎΡΠΈΡΡΡΡ Π²ΠΈΠ±ΡΠ°ΡΠΈΡ, ΡΡΠΎ ΡΠΊΠ°ΠΆΠ΅ΡΡΡ Π½Π° Π½Π°Π΄ΡΠΆΠ½ΠΎΡΡΠΈ ΡΡΡΡΠΎΠΉΡΡΠ²Π° ΠΈ Π΅Π³ΠΎ Π±Π΅Π·ΠΎΠΏΠ°ΡΠ½ΠΎΡΡΠΈ. ΠΡΡ Ρ Π½ΠΎΠΆΠ°ΠΌΠΈ ΡΡΡΠ°Π½Π°Π²Π»ΠΈΠ²Π°ΡΡ Π½Π° Π²Π°Π»Ρ Π΄Π²ΠΈΠ³Π°ΡΠ΅Π»Ρ.
- Π£ΡΡΠ°Π½Π°Π²Π»ΠΈΠ²Π°ΡΡ ΠΊΡΡΡΠΊΡ Π½Π° Π±ΡΠ½ΠΊΠ΅Ρ, ΠΊΠΎΡΠΎΡΠ°Ρ ΠΏΠΎΠ²ΡΡΠΈΡ Π±Π΅Π·ΠΎΠΏΠ°ΡΠ½ΠΎΡΡΡ ΡΡΡΡΠΎΠΉΡΡΠ²Π°.

ΠΠΎΡΠΎΠ²ΠΎΠ΅ ΠΈΠ·Π΄Π΅Π»ΠΈΠ΅ ΠΏΠΎΠΌΠ΅ΡΠ°ΡΡ Π½Π° ΠΏΠΎΠ΄ΡΡΠ°Π²ΠΊΡ, ΠΊΠΎΡΠΎΡΡΡ Π·Π°ΠΊΡΠ΅ΠΏΠ»ΡΡΡ Π½Π° ΠΏΠΎΠ»Ρ. ΠΠ·ΠΌΠ΅Π»ΡΡΠΈΡΠ΅Π»Ρ ΡΠΎΠ»ΠΎΠΌΡ, ΠΈΠ·Π³ΠΎΡΠΎΠ²Π»Π΅Π½Π½ΡΠΉ ΡΠ²ΠΎΠΈΠΌΠΈ ΡΡΠΊΠ°ΠΌΠΈ, ΠΆΠ΅Π»Π°ΡΠ΅Π»ΡΠ½ΠΎ ΠΏΠΎΠΊΡΠ°ΡΠΈΡΡ. ΠΡΠΎ ΠΏΡΠ΅Π΄ΠΎΡΠ²ΡΠ°ΡΠΈΡ Π΅Π³ΠΎ ΠΊΠΎΡΡΠΎΠ·ΠΈΡ, ΠΈ ΡΡΡΡΠΎΠΉΡΡΠ²ΠΎ ΠΏΡΠΎΡΠ»ΡΠΆΠΈΡ Π΄ΠΎΠ»Π³ΠΎ.
Π‘Π΅Π½ΠΎ ΠΈΠ· Π΄ΡΠΎΠ±ΠΈΠ»ΠΊΠΈ Π΄Π»Ρ Π΄ΠΎΠΌΠ° ΡΠ°ΠΌΠΎΡΡΠΎΡΡΠ΅Π»ΡΠ½ΠΎΠ³ΠΎ ΠΈΠ·Π³ΠΎΡΠΎΠ²Π»Π΅Π½ΠΈΡ ΠΏΠΎ ΠΊΠ°ΡΠ΅ΡΡΠ²Ρ Π½ΠΈΡΠ΅ΠΌ Π½Π΅ ΡΡΡΡΠΏΠ°Π΅Ρ ΠΏΡΠΎΠ΄ΡΠΊΡΠΈΠΈ ΠΈΠ· ΡΡΡΡΠΎΠΉΡΡΠ²Π° Π·Π°Π²ΠΎΠ΄ΡΠΊΠΎΠ³ΠΎ ΠΈΠ·Π³ΠΎΡΠΎΠ²Π»Π΅Π½ΠΈΡ. Π’ΡΠ΅Π±ΡΠ΅ΡΡΡ Π»ΠΈΡΡ ΡΠ»Π΅Π΄ΠΈΡΡ Π·Π° ΡΠΎΡΡΠΎΡΠ½ΠΈΠ΅ΠΌ Π½ΠΎΠΆΠ΅ΠΉ. ΠΠΎΡΠ½ΠΎΡΡΠΈ ΡΠ°ΠΌΠΎΠ΄Π΅Π»ΡΠ½ΠΎΠ³ΠΎ Π°ΠΏΠΏΠ°ΡΠ°ΡΠ° Π΄ΠΎΡΡΠ°ΡΠΎΡΠ½ΠΎ Π½Π΅ ΡΠΎΠ»ΡΠΊΠΎ Π΄Π»Ρ ΠΈΠ·Π³ΠΎΡΠΎΠ²Π»Π΅Π½ΠΈΡ ΡΠ΅ΡΠΊΠΈ ΠΈΠ· ΡΠ΅Π½Π° ΠΈΠ»ΠΈ ΡΠΎΠ»ΠΎΠΌΡ, Π½ΠΎ ΠΈ Π΄Π»Ρ ΠΈΠ·ΠΌΠ΅Π»ΡΡΠ΅Π½ΠΈΡ ΡΠ²Π΅ΠΆΠ΅ΠΉ ΡΡΠ°Π²Ρ. Π’Π°ΠΊΠ°Ρ ΠΏΠΈΡΠ° ΠΏΠΎΠ»Π΅Π·Π½Π° Π΄Π»Ρ ΡΠΊΠΎΡΠ°, ΠΏΠΎΡΠΊΠΎΠ»ΡΠΊΡ ΠΈΠΌ Π΅Ρ Π»Π΅Π³ΡΠ΅ ΠΏΠ΅ΡΠ΅ΠΆΡΠ²ΡΠ²Π°ΡΡ. ΠΠ· ΡΡΡ ΠΎΠΉ ΡΠΎΠ»ΠΎΠΌΡ ΠΌΠΎΠΆΠ½ΠΎ Π΄Π΅Π»Π°ΡΡ ΡΠΎΠΏΠ»ΠΈΠ²Π½ΡΠ΅ Π±ΡΠΈΠΊΠ΅ΡΡ Π΄Π»Ρ Π»ΠΈΡΠ½ΠΎΠ³ΠΎ ΠΏΠΎΠ»ΡΠ·ΠΎΠ²Π°Π½ΠΈΡ ΠΈ Π½Π° ΠΏΡΠΎΠ΄Π°ΠΆΡ. ΠΡΠΎ ΠΎΠΊΡΠΏΠΈΡ ΡΡΡΡΠΎΠΉΡΡΠ²ΠΎ.
Π‘Π°ΠΌΠΎΡΡΠΎΡΡΠ΅Π»ΡΠ½Π°Ρ ΡΠ°Π±ΠΎΡΠ° Π½Π°Π΄ ΡΡΠ°Π½ΠΊΠΎΠΌ Π΄Π°ΠΆΠ΅ Ρ ΡΡΡΡΠΎΠΌ Π½ΠΎΠ²ΠΎΠ³ΠΎ ΠΌΠΎΡΠΎΡΠ° Π±ΡΠ΄Π΅Ρ Π΄Π΅ΡΠ΅Π²Π»Π΅, Π½Π΅ΠΆΠ΅Π»ΠΈ ΠΏΡΠΈΠΎΠ±ΡΠ΅ΡΠ΅Π½ΠΈΠ΅ Π³ΠΎΡΠΎΠ²ΠΎΠ³ΠΎ Π² ΠΌΠ°Π³Π°Π·ΠΈΠ½Π΅. Π ΡΠ½ΠΎΠΊ Π·Π°Π²Π°Π»Π΅Π½ ΠΊΠΈΡΠ°ΠΉΡΠΊΠΎΠΉ ΠΏΡΠΎΠ΄ΡΠΊΡΠΈΠ΅ΠΉ, ΠΊΠ°ΡΠ΅ΡΡΠ²ΠΎ ΠΊΠΎΡΠΎΡΠΎΠΉ ΡΠΎΠΌΠ½ΠΈΡΠ΅Π»ΡΠ½ΠΎ. Π ΠΈΠ·ΠΌΠ΅Π»ΡΡΠΈΡΠ΅Π»ΠΈ Π΅Π²ΡΠΎΠΏΠ΅ΠΉΡΠΊΠΈΡ
ΠΏΡΠΎΠΈΠ·Π²ΠΎΠ΄ΠΈΡΠ΅Π»Π΅ΠΉ ΠΈΠΌΠ΅ΡΡ Π²ΡΡΠΎΠΊΡΡ ΡΡΠΎΠΈΠΌΠΎΡΡΡ ΠΈ Π½Π΅ ΠΏΠΎΠ΄ΡΡΠΌΠ½Ρ Π΄Π»Ρ ΠΌΠ΅Π»ΠΊΠΈΡ
Ρ
ΠΎΠ·ΡΠΉΡΡΠ².
ΠΠ·ΠΌΠ΅Π»ΡΡΠΈΡΠ΅Π»Ρ ΡΠΎΠ»ΠΎΠΌΡ ΡΠ²ΠΎΠΈΠΌΠΈ ΡΡΠΊΠ°ΠΌΠΈ ΠΈΠ· ΡΡΠΈΡΠ°Π»ΡΠ½ΠΎΠΉ ΠΌΠ°ΡΠΈΠ½Ρ
Π’Π΅ΠΌ, ΠΊΡΠΎ ΡΠΎΠ΄Π΅ΡΠΆΠΈΡ Π΄ΠΎΠΌΠ°ΡΠ½ΠΈΡ ΠΆΠΈΠ²ΠΎΡΠ½ΡΡ , ΡΡΡΠ΄Π½ΠΎ ΠΎΠ±ΠΎΠΉΡΠΈΡΡ Π±Π΅Π· Π²ΡΠΏΠΎΠΌΠΎΠ³Π°ΡΠ΅Π»ΡΠ½ΡΡ ΡΡΡΡΠΎΠΉΡΡΠ², ΠΊΠΎΡΠΎΡΡΠ΅ ΠΎΠ±Π»Π΅Π³ΡΠ°ΡΡ ΡΡΡΠ΄.
ΠΠ·ΠΌΠ΅Π»ΡΡΠΈΡΠ΅Π»Ρ ΡΠΎΠ»ΠΎΠΌΡ ΠΈΠ»ΠΈ ΡΠ΅Π½Π° ΠΎΡΠ½ΠΎΡΠΈΡΡΡ ΠΊ ΡΠ°ΠΊΠΈΠΌ ΡΡΡΡΠΎΠΉΡΡΠ²Π°ΠΌ. Π‘ ΠΏΠΎΠΌΠΎΡΡΡ ΡΠ°ΠΊΠΎΠ³ΠΎ Π½Π΅Ρ ΠΈΡΡΠΎΠ³ΠΎ ΡΡΡΡΠΎΠΉΡΡΠ²Π° ΠΌΠΎΠΆΠ½ΠΎ ΠΏΡΠΈΠ³ΠΎΡΠΎΠ²ΠΈΡΡ ΠΈΠ»ΠΈ ΠΈΠ·ΠΌΠ΅Π»ΡΡΠΈΡΡ ΠΊΠΎΡΠΌ Π΄ΠΎΠΌΠ°ΡΠ½ΠΈΠΌ ΠΆΠΈΠ²ΠΎΡΠ½ΡΠΌ ΠΈ ΠΏΡΠΈΡΠ΅, Π° ΡΠ°ΠΊΠΆΠ΅ ΠΈΠ·ΠΌΠ΅Π»ΡΡΠΈΡΡ ΡΠΎΠ»ΠΎΠΌΡ Π΄Π»Ρ ΡΡΠ΅ΠΏΠ»Π΅Π½ΠΈΡ Π³ΡΡΠ΄ΠΎΠΊ.
ΠΠ»Ρ ΡΠΎΠ³ΠΎ, ΡΡΠΎΠ±Ρ ΠΎΠ±Π»Π΅Π³ΡΠΈΡΡ ΡΠ΅Π±Π΅ ΡΡΡΠ΄, Π½Π΅ ΠΎΠ±ΡΠ·Π°ΡΠ΅Π»ΡΠ½ΠΎ ΡΡΠ°ΡΠΈΡΡ Π±ΠΎΠ»ΡΡΠΈΠ΅ Π΄Π΅Π½ΡΠ³ΠΈ Π½Π° ΠΏΡΠΈΠΎΠ±ΡΠ΅ΡΠ΅Π½ΠΈΠ΅ ΡΠ΅Π½ΠΎΠΈΠ·ΠΌΠ΅Π»ΡΡΠΈΡΠ΅Π»Ρ. ΠΠ·Π³ΠΎΡΠΎΠ²ΠΈΡΡ ΠΈΠ·ΠΌΠ΅Π»ΡΡΠΈΡΠ΅Π»Ρ ΡΠΎΠ»ΠΎΠΌΡ ΡΠ²ΠΎΠΈΠΌΠΈ ΡΡΠΊΠ°ΠΌΠΈ ΡΠΎΠ²ΡΠ΅ΠΌ Π½Π΅ ΡΠ»ΠΎΠΆΠ½ΠΎ. ΠΠΎΡΡΠ°ΡΠΎΡΠ½ΠΎ ΠΈΠΌΠ΅ΡΡ Π½Π΅ΡΠΊΠΎΠ»ΡΠΊΠΎ ΠΏΡΠΎΡΡΡΡ
Π΄Π΅ΡΠ°Π»Π΅ΠΉ, Π³Π»Π°Π²Π½ΠΎΠΉ ΠΈΠ· ΠΊΠΎΡΠΎΡΡΡ
ΡΠ²Π»ΡΠ΅ΡΡΡ ΡΠ»Π΅ΠΊΡΡΠΎΠ΄Π²ΠΈΠ³Π°ΡΠ΅Π»Ρ, ΠΈ Π½Π΅ΡΠΊΠΎΠ»ΡΠΊΠΎ Π²Π΅Π΄Π΅Ρ β Π΄Π»Ρ ΠΏΡΠΈΠ΅ΠΌΠ° ΡΠ΅Π½Π° ΠΈ Π΄Π»Ρ ΡΠ±ΠΎΡΠ° ΡΠΆΠ΅ ΠΈΠ·ΠΌΠ΅Π»ΡΡΠ΅Π½Π½ΠΎΠ³ΠΎ ΡΡΡΡΡ.
Π£ΡΡΡΠΎΠΉΡΡΠ²ΠΎ ΡΠ΅Π½ΠΎΠΈΠ·ΠΌΠ΅Π»ΡΡΠΈΡΠ΅Π»Ρ
ΠΡΠ»ΠΈ ΡΡΠ΅Π±ΡΠ΅ΡΡΡ ΡΠ΅Π½ΠΎΠΈΠ·ΠΌΠ΅Π»ΡΡΠΈΡΠ΅Π»Ρ Π½Π΅Π±ΠΎΠ»ΡΡΠΎΠΉ ΠΏΡΠΎΠΈΠ·Π²ΠΎΠ΄ΠΈΡΠ΅Π»ΡΠ½ΠΎΡΡΠΈ, ΡΠΎ Π΄Π»Ρ Π΅Π³ΠΎ ΡΡΡΡΠΎΠΉΡΡΠ²Π° ΠΏΠΎΠ½Π°Π΄ΠΎΠ±ΡΡΡΡ Π²ΡΠ΅Π³ΠΎ Π½Π΅ΡΠΊΠΎΠ»ΡΠΊΠΎ Π΄Π΅ΡΠ°Π»Π΅ΠΉ:
- ΠΠ»Π΅ΠΊΡΡΠΎΠ΄Π²ΠΈΠ³Π°ΡΠ΅Π»Ρ, Π½Π°ΠΏΡΠΈΠΌΠ΅Ρ, ΠΌΠΎΠΆΠ½ΠΎ ΠΏΡΠΈΠΌΠ΅Π½ΠΈΡΡ Π΄Π²ΠΈΠ³Π°ΡΠ΅Π»Ρ Ρ ΠΏΡΠ»Π΅ΡΠΎΡΠ°.
- ΠΠΎΡΠΊΠ° Π΄Π»Ρ ΠΏΡΠΈΠ΅ΠΌΠ° ΡΡΡΡΡ.
- ΠΠ°Π» Ρ Π²ΡΠ°ΡΠ°ΡΡΠΈΠΌΠΈΡΡ Π½ΠΎΠΆΠ°ΠΌΠΈ.
Π‘ΠΎΠ±ΡΠ°ΡΡ ΡΠ°ΠΊΡΡ ΡΠ»Π΅ΠΌΠ΅Π½ΡΠ°ΡΠ½ΡΡ ΠΊΠΎΠ½ΡΡΡΡΠΊΡΠΈΡ ΠΌΠΎΠΆΠ΅Ρ Π΄Π°ΠΆΠ΅ Π½ΠΎΠ²ΠΈΡΠΎΠΊ Π·Π° ΠΎΡΠ΅Π½Ρ ΠΊΠΎΡΠΎΡΠΊΠΎΠ΅ Π²ΡΠ΅ΠΌΡ. ΠΠΎ ΡΠ°ΠΊΠΎΠ΅ ΡΡΡΡΠΎΠΉΡΡΠ²ΠΎ ΡΠ³ΠΎΠ΄ΠΈΡΡΡ ΡΠΎΠ»ΡΠΊΠΎ Π΄Π»Ρ ΠΈΠ·ΠΌΠ΅Π»ΡΡΠ΅Π½ΠΈΡ Π½Π΅Π±ΠΎΠ»ΡΡΠΎΠ³ΠΎ ΠΊΠΎΠ»ΠΈΡΠ΅ΡΡΠ²Π° ΡΠΎΠ»ΠΎΠΌΡ ΠΈΠ»ΠΈ ΡΡΠ°Π²Ρ.
Π ΡΠ»ΡΡΠ°ΡΡ , ΠΊΠΎΠ³Π΄Π° Π½Π΅ΠΎΠ±Ρ ΠΎΠ΄ΠΈΠΌΠΎ Π΅ΠΆΠ΅Π΄Π½Π΅Π²Π½ΠΎ ΠΈΠ·ΠΌΠ΅Π»ΡΡΠ°ΡΡ Π±ΠΎΠ»ΡΡΠΎΠ΅ ΠΊΠΎΠ»ΠΈΡΠ΅ΡΡΠ²ΠΎ ΡΡΡΡΡ, ΡΠ»Π΅Π΄ΡΠ΅Ρ ΠΈΠ·Π³ΠΎΡΠΎΠ²ΠΈΡΡ Π±ΠΎΠ»Π΅Π΅ Π½Π°Π΄Π΅ΠΆΠ½ΡΡ ΠΊΠΎΠ½ΡΡΡΡΠΊΡΠΈΡ, ΠΈΠΌΠ΅ΡΡΡΡ Π±ΠΎΠ»ΡΡΡΡ ΠΏΡΠΎΠΈΠ·Π²ΠΎΠ΄ΠΈΡΠ΅Π»ΡΠ½ΠΎΡΡΡ. ΠΡΠΎΠ±ΠΎΠ΅ Π²Π½ΠΈΠΌΠ°Π½ΠΈΠ΅ ΠΏΡΠΈ ΠΈΠ·Π³ΠΎΡΠΎΠ²Π»Π΅Π½ΠΈΠΈ ΡΠ»Π΅Π΄ΡΠ΅Ρ ΠΎΠ±ΡΠ°ΡΠΈΡΡ Π½Π° ΡΠ°Π±ΠΎΡΠΈΠΉ ΡΠ·Π΅Π», ΠΊΠΎΡΠΎΡΡΠΉ ΡΠ²Π»ΡΠ΅ΡΡΡ ΠΎΡΠ½ΠΎΠ²Π½ΠΎΠΉ ΡΠ°ΡΡΡΡ ΡΡΡΡΠΎΠΉΡΡΠ²Π°.
Π£Π·Π΅Π» ΡΠΎΡΡΠΎΠΈΡ ΠΈΠ· ΡΡΠ°Π»ΡΠ½ΠΎΠΉ ΡΠΈΠ»ΠΈΠ½Π΄ΡΠΈΡΠ΅ΡΠΊΠΎΠΉ Π΅ΠΌΠΊΠΎΡΡΠΈ, Π²Π½ΡΡΡΠΈ ΠΊΠΎΡΠΎΡΠΎΠΉ ΡΡΡΠ°Π½Π°Π²Π»ΠΈΠ²Π°ΡΡΡΡ Π²ΡΠ°ΡΠ°ΡΡΠΈΠ΅ΡΡ Π½ΠΎΠΆΠΈ.
Π‘ ΡΠ»Π΅ΠΊΡΡΠΎΠ΄Π²ΠΈΠ³Π°ΡΠ΅Π»Π΅ΠΌ Π½ΠΎΠΆΠΈ ΡΠΎΠ΅Π΄ΠΈΠ½ΡΡΡΡΡ ΠΏΡΠΈ ΠΏΠΎΠΌΠΎΡΠΈ ΡΠΏΠ΅ΡΠΈΠ°Π»ΡΠ½ΠΎΠΉ ΠΎΡΠΈ. ΠΡΠΈ ΠΈΠ·Π³ΠΎΡΠΎΠ²Π»Π΅Π½ΠΈΠΈ ΡΠ»Π΅Π΄ΡΠ΅Ρ ΠΏΠΎΠ΄ΡΠΌΠ°ΡΡ ΠΎ Π±Π΅Π·ΠΎΠΏΠ°ΡΠ½ΠΎΡΡΠΈ, ΠΏΠΎΡΡΠΎΠΌΡ ΡΠ΅ΠΊΠΎΠΌΠ΅Π½Π΄ΠΎΠ²Π°Π½ΠΎ ΠΎΡΠ½Π°ΡΠ°ΡΡ ΡΠ΅Π½ΠΎΠΈΠ·ΠΌΠ΅Π»ΡΡΠΈΡΠ΅Π»Ρ Π±ΡΠ½ΠΊΠ΅ΡΠΎΠΌ Ρ Π²ΡΡΠΎΠΊΠΈΠΌΠΈ ΡΡΠ΅Π½ΠΊΠ°ΠΌΠΈ ΠΈΠ»ΠΈ ΠΏΡΠ΅Π΄ΡΡΠΌΠΎΡΡΠ΅ΡΡ ΠΊΡΡΡΠΊΡ, Π·Π°ΠΊΡΡΠ²Π°ΡΡΡΡ Π΅Π³ΠΎ ΠΏΡΠΈ ΡΠ°Π±ΠΎΡΠ΅ ΠΈΠ·ΠΌΠ΅Π»ΡΡΠΈΡΠ΅Π»Ρ.
ΠΠ»Ρ ΠΈΠ·ΠΌΠ΅Π»ΡΡΠΈΡΠ΅Π»Ρ ΡΠΎΠ»ΠΎΠΌΡ Π±ΠΎΠ»Π΅Π΅ Π²ΡΡΠΎΠΊΠΎΠΉ ΠΏΡΠΎΠΈΠ·Π²ΠΎΠ΄ΠΈΡΠ΅Π»ΡΠ½ΠΎΡΡΠΈ ΠΏΠΎΠ½Π°Π΄ΠΎΠ±ΡΡΡΡ ΡΠ»Π΅Π΄ΡΡΡΠΈΠ΅ ΠΎΡΠ½ΠΎΠ²Π½ΡΠ΅ ΡΠ·Π»Ρ:
- ΠΠ°ΠΌΠ΅ΡΠ° Π΄Π»Ρ Π·Π°Π³ΡΡΠ·ΠΊΠΈ ΡΠΎΠ»ΠΎΠΌΡ, ΠΎΠ±ΠΎΡΡΠ΄ΠΎΠ²Π°Π½Π½Π°Ρ ΠΊΡΡΡΠΊΠΎΠΉ.
- ΠΠΏΠΎΡΠ° Π΄Π»Ρ ΠΊΠΎΠ½ΡΡΡΡΠΊΡΠΈΠΈ.
- ΠΠ»Π΅ΠΊΡΡΠΎΠ΄Π²ΠΈΠ³Π°ΡΠ΅Π»Ρ.
- Π£ΡΠΈΠ»ΠΈΡΠ΅Π»ΡΠ½Π°Ρ ΠΏΠ»Π°Π½ΠΊΠ°.
- Π Π΅ΠΆΡΡΠΈΠ΅ Π½ΠΎΠΆΠΈ ΠΈΠ»ΠΈ Π΄ΠΈΡΠΊΠΈ.
- ΠΠΌΠΊΠΎΡΡΡ Π΄Π»Ρ ΠΏΡΠΈΠ΅ΠΌΠ° Π³ΠΎΡΠΎΠ²ΠΎΠ³ΠΎ ΡΡΡΡΡ.
ΠΡΠΈΠΌΠ΅Π½ΡΠ΅ΠΌΡΠ΅ ΠΌΠ°ΡΠ΅ΡΠΈΠ°Π»Ρ
Π‘Π΄Π΅Π»Π°ΡΡ ΠΈΠ·ΠΌΠ΅Π»ΡΡΠΈΡΠ΅Π»Ρ Π΄Π»Ρ ΡΡΠ°Π²Ρ ΠΏΠΎΠ΄ ΡΠΈΠ»Ρ Π΄Π°ΠΆΠ΅ Π½Π°ΡΠΈΠ½Π°ΡΡΠ΅ΠΌΡ ΠΌΠ°ΡΡΠ΅ΡΡ. ΠΠΌΡ ΠΏΠΎΠ½Π°Π΄ΠΎΠ±ΠΈΡΡΡΡ ΠΏΡΠΎΡΡΠΎΠΉ ΡΠ»Π΅ΡΠ°ΡΠ½ΡΠΉ Π½Π°Π±ΠΎΡ ΠΈ ΠΌΠ°ΡΠ΅ΡΠΈΠ°Π»Ρ, ΠΊΠΎΡΠΎΡΡΠ΅ Π½Π°Π²Π΅ΡΠ½ΡΠΊΠ° Π½Π°ΠΉΠ΄ΡΡΡΡ Π² ΡΠ°ΡΠ°Π΅. ΠΠΎΠΏΠΎΠ»Π½ΠΈΡΠ΅Π»ΡΠ½ΠΎ ΠΏΠΎΠ½Π°Π΄ΠΎΠ±ΠΈΡΡΡ ΡΠ²Π°ΡΠΎΡΠ½ΡΠΉ Π°ΠΏΠΏΠ°ΡΠ°Ρ, ΠΌΠ°ΡΠΈΠ½ΠΊΠ° Π΄Π»Ρ ΡΠ»ΠΈΡΠΎΠ²ΠΊΠΈ, Π΄ΡΠ΅Π»Ρ.
ΠΠ· ΠΌΠ°ΡΠ΅ΡΠΈΠ°Π»ΠΎΠ² Π½Π΅ΠΎΠ±Ρ
ΠΎΠ΄ΠΈΠΌΠΎ ΠΏΠΎΠ΄Π³ΠΎΡΠΎΠ²ΠΈΡΡ:
- ΠΠ»Π΅ΠΊΡΡΠΈΡΠ΅ΡΠΊΠΈΠΉ ΠΌΠΎΡΠΎΡ, Π½Π°ΠΏΡΠΈΠΌΠ΅Ρ, Π΄Π²ΠΈΠ³Π°ΡΠ΅Π»Ρ ΡΠΎ ΡΡΠΈΡΠ°Π»ΡΠ½ΠΎΠΉ ΠΌΠ°ΡΠΈΠ½Ρ.
- ΠΠ΅Π±ΠΎΠ»ΡΡΠΎΠΉ ΠΎΡΡΠ΅Π· ΡΡΡΠ±Ρ, ΠΆΠ΅Π»Π°ΡΠ΅Π»ΡΠ½ΠΎ Π΄ΠΈΠ°ΠΌΠ΅ΡΡΠ° 25 ΠΌΠΌ ΠΈΠ»ΠΈ ΠΌΠ΅Π½Π΅Π΅.
- ΠΠΈΡΡΡ ΠΌΠ΅ΡΠ°Π»Π»Π°, ΡΠΎΠ»ΡΠΈΠ½ΠΎΠΉ 2 ΠΈ 3 ΠΌΠΌ.
- ΠΠ΅ΡΠ°Π»Π»ΠΈΡΠ΅ΡΠΊΠΈΠΉ Π»ΠΈΡΡ, ΡΠΎΠ»ΡΠΈΠ½ΠΎΠΉ 10 ΠΌΠΌ.
- Π‘ΡΠ°Π»ΡΠ½Π°Ρ ΠΏΠ»ΠΈΡΠ°, ΠΏΡΠΈΠ±Π»ΠΈΠ·ΠΈΡΠ΅Π»ΡΠ½ΠΎΠ³ΠΎ ΡΠ°Π·ΠΌΠ΅ΡΠ° 25*3 ΡΠΌ.
Π£ Π½Π°ΡΠΈΠ½Π°ΡΡΠΈΡ ΠΌΠ°ΡΡΠ΅ΡΠΎΠ² ΠΌΠΎΠΆΠ΅Ρ Π²ΠΎΠ·Π½ΠΈΠΊΠ½ΡΡΡ Π²ΠΎΠΏΡΠΎΡ ΠΈΠ· ΡΠ΅Π³ΠΎ ΠΈΠ·Π³ΠΎΡΠΎΠ²ΠΈΡΡ Π½ΠΎΠΆΠΈ Π΄Π»Ρ ΠΈΠ·ΠΌΠ΅Π»ΡΡΠ΅Π½ΠΈΡ ΡΠ΅Π½Π° ΠΈΠ»ΠΈ ΡΠ΅ΠΌ Π·Π°ΠΌΠ΅Π½ΠΈΡΡ ΠΈΡ . ΠΠ°ΠΌΠ΅Π½ΠΈΡΡ Π½ΠΎΠΆΠΈ ΠΌΠΎΠΆΠ½ΠΎ Π΄ΠΈΡΠΊΠΎΠΌ ΠΎΡ ΡΠΈΡΠΊΡΠ»ΡΡΠ½ΠΎΠΉ ΠΏΠΈΠ»Ρ ΠΈΠ»ΠΈ Π΄ΠΈΡΠΊΠΎΠΌ ΠΎΡ ΠΊΡΡ ΠΎΠ½Π½ΠΎΠ³ΠΎ ΠΊΠΎΠΌΠ±Π°ΠΉΠ½Π°.
ΠΡΠ°ΠΏΡ ΠΈΠ·Π³ΠΎΡΠΎΠ²Π»Π΅Π½ΠΈΡ
ΠΠ»Ρ ΡΠΎΠ³ΠΎ, ΡΡΠΎΠ±Ρ Π½Π°ΡΠ°ΡΡ ΠΈΠ·Π³ΠΎΡΠΎΠ²Π»Π΅Π½ΠΈΠ΅ ΠΏΡΠΈΡΠΏΠΎΡΠΎΠ±Π»Π΅Π½ΠΈΡ Π΄Π»Ρ ΠΈΠ·ΠΌΠ΅Π»ΡΡΠ΅Π½ΠΈΡ ΡΠΎΠ»ΠΎΠΌΡ Π½Π΅ΠΎΠ±Ρ ΠΎΠ΄ΠΈΠΌΠΎ ΡΠ΄Π΅Π»Π°ΡΡ ΡΠ΅ΡΡΠ΅ΠΆΠΈ Π±ΡΠ΄ΡΡΠ΅ΠΉ Π΄ΡΠΎΠ±ΠΈΠ»ΠΊΠΈ Ρ ΡΠΊΠ°Π·Π°Π½ΠΈΠ΅ΠΌ ΡΠ°Π·ΠΌΠ΅ΡΠΎΠ². ΠΠΎΡΠ»Π΅ ΠΏΠΎ ΡΠ°Π·ΠΌΠ΅ΡΠ°ΠΌ Π²ΡΡΠ΅Π·Π°ΡΡΡΡ ΠΌΠ΅ΡΠ°Π»Π»ΠΈΡΠ΅ΡΠΊΠΈΠ΅ Π·Π°Π³ΠΎΡΠΎΠ²ΠΊΠΈ. ΠΡΠΎΡΠ΅ΡΡ Π΄Π°Π»ΡΠ½Π΅ΠΉΡΠ΅ΠΉ ΡΠ±ΠΎΡΠΊΠΈ Π²ΡΠΏΠΎΠ»Π½ΡΠ΅ΡΡΡ Π² ΡΠ»Π΅Π΄ΡΡΡΠ΅ΠΌ ΠΏΠΎΡΡΠ΄ΠΊΠ΅.
- Π’ΡΡΠ±Ρ Π½Π°ΡΠ΅Π·Π°ΡΡΡΡ ΠΏΠΎ Π½ΡΠΆΠ½ΠΎΠΌΡ ΡΠ°Π·ΠΌΠ΅ΡΡ. ΠΠ½ΠΈ Π±ΡΠ΄ΡΡ ΠΈΡΠΏΠΎΠ»ΡΠ·ΠΎΠ²Π°ΡΡΡΡ ΠΊΠ°ΠΊ ΠΎΠΏΠΎΡΠ° Π΄Π»Ρ ΠΈΠ·ΠΌΠ΅Π»ΡΡΠΈΡΠ΅Π»Ρ.
- ΠΠ΅ΡΠ΅ΡΡΡ Π³ΠΎΡΠΎΠ²ΡΠΉ Π±ΡΠ½ΠΊΠ΅Ρ ΠΈΠ»ΠΈ ΠΈΠ·Π³ΠΎΡΠ°Π²Π»ΠΈΠ²Π°Π΅ΡΡΡ ΠΈΠ· Π»ΠΈΡΡΠΎΠ²ΠΎΠΉ ΡΡΠ°Π»ΠΈ.
Π Π½Π΅ΠΌΡ ΠΏΡΠΈΠ²Π°ΡΠΈΠ²Π°Π΅ΡΡΡ ΠΈΠ·Π³ΠΎΡΠΎΠ²Π»Π΅Π½Π½ΡΠΉ Π·Π°ΡΠ°Π½Π΅Π΅ ΠΊΡΠΎΠ½ΡΡΠ΅ΠΉΠ½, Π½Π° ΠΊΠΎΡΠΎΡΡΠΉ Π±ΡΠ΄Π΅Ρ ΠΊΡΠ΅ΠΏΠΈΡΡΡΡ ΡΠ»Π΅ΠΊΡΡΠΎΠ΄Π²ΠΈΠ³Π°ΡΠ΅Π»Ρ. - Π ΠΏΠ»ΠΈΡΠ΅ ΠΈΠ· ΡΡΠ°Π»ΠΈ Π²ΡΡΠ²Π΅ΡΠ»ΠΈΠ²Π°ΡΡΡΡ ΠΎΡΠ²Π΅ΡΡΡΠΈΡ, ΠΊΠΎΡΠΎΡΡΠ΅ ΡΠΎΠ²ΠΏΠ°Π΄Π°ΡΡ Ρ ΠΊΡΠ΅ΠΏΠ΅ΠΆΠ½ΡΠΌΠΈ ΠΎΡΠ²Π΅ΡΡΡΠΈΡΠΌΠΈ Π½Π° ΡΠ°ΠΌΠΎΠΌ ΡΠ»Π΅ΠΊΡΡΠΎΠ΄Π²ΠΈΠ³Π°ΡΠ΅Π»Π΅. Π‘ΡΠ°Π»ΡΠ½Π°Ρ ΠΏΠ»ΠΈΡΠ° ΠΏΡΠΈΠΊΡΠ΅ΠΏΠ»ΡΠ΅ΡΡΡ ΠΊ ΠΊΡΠΎΠ½ΡΡΠ΅ΠΉΠ½Ρ.
- ΠΠΏΠΎΡΡ ΠΈΠ· ΡΡΡΠ± ΠΊΡΠ΅ΠΏΡΡΡΡ ΠΊ ΠΊΠΎΡΠΏΡΡΡ ΡΠΎΠ»ΠΎΠΌΠΎΡΠ΅Π·ΠΊΠΈ. ΠΠ»Ρ Π±ΠΎΠ»Π΅Π΅ ΠΏΡΠΎΡΠ½ΠΎΠΉ ΠΊΠΎΠ½ΡΡΡΡΠΊΡΠΈΠΈ ΠΊ Π½ΠΈΠΌ ΠΏΡΠΈΠ²Π°ΡΠΈΠ²Π°ΡΡΡΡ ΡΠ΅Π±ΡΠ° ΠΆΠ΅ΡΡΠΊΠΎΡΡΠΈ.
- ΠΠΎΠ³Π΄Π° ΡΠΆΠ΅ ΡΡΡΡΠΎΠΉΡΡΠ²ΠΎ ΠΈΠΌΠ΅Π΅Ρ ΡΡΡΠΎΠΉΡΠΈΠ²ΠΎΡΡΡ, ΠΊ Π½Π΅ΠΌΡ ΠΏΡΠΈ ΠΏΠΎΠΌΠΎΡΠΈ ΡΠ²Π°ΡΠΊΠΈ ΠΏΡΠΈΠΊΡΠ΅ΠΏΠ»ΡΠ΅ΡΡΡ ΠΏΠ°ΡΡΡΠ±ΠΎΠΊ, ΡΠ΅ΡΠ΅Π· ΠΊΠΎΡΠΎΡΡΠΉ Π±ΡΠ΄Π΅Ρ Π²ΡΡ ΠΎΠ΄ΠΈΡΡ ΠΈΠ·ΠΌΠ΅Π»ΡΡΠ΅Π½Π½ΠΎΠ΅ ΡΡΡΡΠ΅.
- Π‘ΠΎΠ»ΠΎΠΌΠΎΡΠ΅Π·ΠΊΡ ΠΌΠΎΠΆΠ½ΠΎ ΡΡΠΈΡΠ°ΡΡ ΠΏΠΎΠ»Π½ΠΎΡΡΡΡ Π³ΠΎΡΠΎΠ²ΠΎΠΉ ΠΏΠΎΡΠ»Π΅ Π·Π°ΠΊΡΠ΅ΠΏΠ»Π΅Π½ΠΈΡ Π½Π° Π½Π΅ΠΉ Π΄Π²ΠΈΠ³Π°ΡΠ΅Π»Ρ ΠΈ Π½ΠΎΠΆΠ΅ΠΉ Π΄Π»Ρ ΠΈΠ·ΠΌΠ΅Π»ΡΡΠ΅Π½ΠΈΡ ΡΠΎΠ»ΠΎΠΌΡ. Π’Π°ΠΊ ΠΊΠ°ΠΊ Π½ΠΎΠΆΠΈ ΡΠ°ΠΌΠ°Ρ Π²Π°ΠΆΠ½Π°Ρ Π΄Π΅ΡΠ°Π»Ρ, ΠΎΡ ΠΏΡΠ°Π²ΠΈΠ»ΡΠ½ΠΎΠΉ ΡΡΡΠ°Π½ΠΎΠ²ΠΊΠΈ ΠΊΠΎΡΠΎΡΡΡ Π·Π°Π²ΠΈΡΠΈΡ ΠΈ ΠΊΠ°ΡΠ΅ΡΡΠ²ΠΎ ΠΈΠ·ΠΌΠ΅Π»ΡΡΠ°Π΅ΠΌΠΎΠΉ ΡΡΠ°Π²Ρ ΠΈ Π±Π΅Π·ΠΎΠΏΠ°ΡΠ½ΠΎΡΡΡ ΡΠ°Π±ΠΎΡΠ½ΠΈΠΊΠ°, Π²Π°ΠΆΠ½ΠΎ ΠΏΡΠ°Π²ΠΈΠ»ΡΠ½ΠΎ ΠΎΡΡΠ΅Π½ΡΡΠΈΡΠΎΠ²Π°ΡΡ ΠΈΡ .
ΠΡΠΈ ΠΏΡΠΎΡΡΠΎΠΌ Π½Π°Π±ΠΎΡΠ΅ ΠΈΠ½ΡΡΡΡΠΌΠ΅Π½ΡΠΎΠ² ΠΈΠ·Π³ΠΎΡΠΎΠ²ΠΈΡΡ ΡΠ°ΠΌΠΎΠ΄Π΅Π»ΡΠ½ΡΠΉ ΠΈΠ·ΠΌΠ΅Π»ΡΡΠΈΡΠ΅Π»Ρ ΠΌΠΎΠΆΠ½ΠΎ Π·Π° ΠΎΠ΄ΠΈΠ½ Π΄Π΅Π½Ρ. ΠΡΠ»ΠΈ Π² Π½Π°Π»ΠΈΡΠΈΠΈ Π΅ΡΡΡ ΠΏΡΠΎΡΠ΅ΡΡΠΈΠΎΠ½Π°Π»ΡΠ½ΡΠ΅ ΠΈΠ½ΡΡΡΡΠΌΠ΅Π½ΡΡ, Π½Π°ΠΏΡΠΈΠΌΠ΅Ρ, ΡΠ²Π°ΡΠΎΡΠ½ΡΠΉ Π°ΠΏΠΏΠ°ΡΠ°Ρ, ΡΠΎ ΠΈΠ·Π³ΠΎΡΠΎΠ²Π»Π΅Π½ΠΈΠ΅ Π·Π°ΠΉΠΌΠ΅Ρ Π²ΡΠ΅Π³ΠΎ Π½Π΅ΡΠΊΠΎΠ»ΡΠΊΠΎ ΡΠ°ΡΠΎΠ².
Π‘Π΅Π½ΠΎΡΠ΅Π·ΠΊΠ° ΠΈΠ· ΡΡΠΈΡΠ°Π»ΡΠ½ΠΎΠΉ ΠΌΠ°ΡΠΈΠ½Ρ
ΠΠ»Ρ ΠΈΠ·Π³ΠΎΡΠΎΠ²Π»Π΅Π½ΠΈΡ ΡΠ΅Π½ΠΎΡΠ΅Π·ΠΊΠΈ ΠΈΡΠΏΠΎΠ»ΡΠ·ΡΡΡ Π²ΡΠ΅ ΠΏΠΎΠ΄ΡΡΡΠ½ΡΠ΅ Π΄Π΅ΡΠ°Π»ΠΈ ΠΈ ΠΏΡΠΈΡΠΏΠΎΡΠΎΠ±Π»Π΅Π½ΠΈΡ. ΠΠ΅ΠΊΠΎΡΠΎΡΡΠ΅ ΠΈΡΠΏΠΎΠ»ΡΠ·ΡΡΡ Π² ΠΊΠ°ΡΠ΅ΡΡΠ²Π΅ Π±ΡΠ½ΠΊΠ΅ΡΠ° Π΄Π»Ρ ΡΡΠ°Π²Ρ Π±Π°ΠΊ ΠΎΡ ΡΡΠΈΡΠ°Π»ΡΠ½ΠΎΠΉ ΠΌΠ°ΡΠΈΠ½Ρ. Π§ΡΠΎΠ±Ρ ΠΈΠ·Π³ΠΎΡΠΎΠ²ΠΈΡΡ ΠΈΠ·ΠΌΠ΅Π»ΡΡΠΈΡΠ΅Π»Ρ Π½Π° ΠΎΡΠ½ΠΎΠ²Π΅ ΡΡΠΎΠ³ΠΎ Π±Π°ΠΊΠ° Π΅ΡΠ΅ Π΄ΠΎΠΏΠΎΠ»Π½ΠΈΡΠ΅Π»ΡΠ½ΠΎ ΠΏΠΎΠ½Π°Π΄ΠΎΠ±ΡΡΡΡ:
- ΠΠΎΠΆΠΈ ΠΈΠ»ΠΈ Π΄ΠΈΡΠΊΠΈ Π΄Π»Ρ ΠΈΠ·ΠΌΠ΅Π»ΡΡΠ΅Π½ΠΈΡ ΡΡΡΡΡ.
- ΠΠ»Π΅ΠΊΡΡΠΈΡΠ΅ΡΠΊΠΈΠ΅ ΠΏΡΠΎΠ²ΠΎΠ΄Π°.
- ΠΠ΅ΡΠ°Π»Π»ΠΈΡΠ΅ΡΠΊΠΎΠ΅ ΠΈΠ»ΠΈ ΠΏΠ»Π°ΡΡΠΈΠΊΠΎΠ²ΠΎΠ΅ Π²Π΅Π΄ΡΠΎ.
- ΠΠ΅ΡΠ°Π»Π»ΠΈΡΠ΅ΡΠΊΠΈΠ΅ ΡΠ³ΠΎΠ»ΠΊΠΈ.
- ΠΡΠ΅ΠΏΠ΅ΠΆ.
- ΠΠ½ΡΡΡΡΠΌΠ΅Π½ΡΡ.
ΠΠ΅ΡΠ΅Π΄ ΡΠ΅ΠΌ, ΠΊΠ°ΠΊ ΡΠΎΠ±ΠΈΡΠ°ΡΡ ΠΏΠΎΠ΄ΠΎΠ±Π½ΡΡ ΡΠ°ΠΌΠΎΠ΄Π΅Π»ΠΊΡ, ΡΠΏΠ΅ΡΠΈΠ°Π»ΠΈΡΡΡ ΡΠΎΠ²Π΅ΡΡΡΡ ΠΏΠΎΠ΄ΡΠΌΠ°ΡΡ Π½Π°Π΄ ΡΠ΅ΠΌ, ΠΊΠ°ΠΊΠΎΠΉ ΠΌΠΎΡΠ½ΠΎΡΡΠΈ ΠΏΠΎΠ΄ΠΎΠ±ΡΠ°ΡΡ ΡΠ»Π΅ΠΊΡΡΠΎΠ΄Π²ΠΈΠ³Π°ΡΠ΅Π»Ρ. ΠΡΠ»ΠΈ Π² ΠΏΠ»Π°Π½Π°Ρ ΠΊΡΠΎΠΌΠ΅ ΡΡΠ°Π²Ρ ΠΈΠ·ΠΌΠ΅Π»ΡΡΠ°ΡΡ Π΅ΡΠ΅ ΠΈ Π½Π΅Π±ΠΎΠ»ΡΡΠΈΠ΅ Π²Π΅ΡΠΊΠΈ, ΠΊΠΎΡΠΎΡΡΠ΅ Π±ΡΠ΄ΡΡ ΠΈΡΠΏΠΎΠ»ΡΠ·ΠΎΠ²Π°ΡΡΡΡ Π΄Π»Ρ ΠΈΠ·Π³ΠΎΡΠΎΠ²Π»Π΅Π½ΠΈΡ ΡΠΎΠΏΠ»ΠΈΠ²Π½ΡΡ Π±ΡΠΈΠΊΠ΅Ρ, ΡΠΎ Π²ΡΠ±ΠΈΡΠ°ΡΡ ΠΌΠΎΡΠ½ΡΠΉ Π΄Π²ΠΈΠ³Π°ΡΠ΅Π»Ρ.
ΠΠ°ΠΊ ΡΠΎΠ±ΡΠ°ΡΡ ΡΡΡΡΠΎΠΉΡΡΠ²ΠΎ
Π‘Π±ΠΎΡΠΊΠ° ΡΡΡΡΠΎΠΉΡΡΠ²Π° Π½Π° ΠΎΡΠ½ΠΎΠ²Π΅ Π±Π°ΠΊΠ° ΡΡΠΈΡΠ°Π»ΡΠ½ΠΎΠΉ ΠΌΠ°ΡΠΈΠ½Ρ ΠΏΡΠ°ΠΊΡΠΈΡΠ΅ΡΠΊΠΈ Π½Π΅ ΠΎΡΠ»ΠΈΡΠ°Π΅ΡΡΡ ΠΎΡ ΡΠ±ΠΎΡΠΊΠΈ ΠΈΠ·ΠΌΠ΅Π»ΡΡΠΈΡΠ΅Π»Ρ Ρ Π΄ΡΡΠ³ΠΎΠΉ Π΅ΠΌΠΊΠΎΡΡΡΡ. ΠΡΠ»ΠΈΡΠΈΠ΅ ΡΠΎΡΡΠΎΠΈΡ Π² ΡΠΎΠΌ, ΡΡΠΎ ΠΏΠ΅ΡΠ΅Π΄ ΡΠ±ΠΎΡΠΊΠΎΠΉ Π² Π΄Π½Π΅ Π±Π°ΠΊΠ° Π²ΡΡΠ΅Π·Π°ΡΡ Π½Π΅Π±ΠΎΠ»ΡΡΠΎΠ΅ ΠΎΡΠ²Π΅ΡΡΡΠΈΠ΅ ΠΏΡΡΠΌΠΎΡΠ³ΠΎΠ»ΡΠ½ΠΎΠΉ ΡΠΎΡΠΌΡ.
ΠΠ³ΠΎ ΡΠΊΡΠ΅ΠΏΠ»ΡΡΡ ΠΌΠ΅ΡΠ°Π»Π»ΠΈΡΠ΅ΡΠΊΠΈΠΌΠΈ ΡΠ³ΠΎΠ»ΠΊΠ°ΠΌΠΈ.
ΠΠ°Π»ΡΡΠ΅ ΠΏΡΠΎΡΠ΅ΡΡ ΡΠ±ΠΎΡΠΊΠΈ Π½ΠΈΡΠ΅ΠΌ Π½Π΅ ΠΎΡΠ»ΠΈΡΠ°Π΅ΡΡΡ. ΠΡΠ΅ΠΏΡΡΡΡ ΠΎΠΏΠΎΡΡ ΠΏΠΎΠ΄ ΡΡΡΡΠΎΠΉΡΡΠ²ΠΎ, ΠΏΠ»ΠΎΡΠ°Π΄ΠΊΠ° Π΄Π»Ρ ΠΏΡΠΈΠ΅ΠΌΠ° Π³ΠΎΡΠΎΠ²ΠΎΠ³ΠΎ ΡΡΡΡΡ.
ΠΠ°ΠΆΠ½ΠΎ ΠΎΠ±ΡΠ°ΡΠΈΡΡ Π²Π½ΠΈΠΌΠ°Π½ΠΈΠ΅ Π½Π° Π²ΡΡΠΎΡΡ ΡΡΠΎΠΉ ΠΏΠΎΠ΄ΡΡΠ°Π²ΠΊΠΈ ΠΈ Π½Π° ΡΠΎ, ΡΡΠΎ Π±ΡΠ΄Π΅Ρ ΠΈΡΠΏΠΎΠ»ΡΠ·ΠΎΠ²Π°ΡΡΡΡ Π² ΠΊΠ°ΡΠ΅ΡΡΠ²Π΅ ΠΏΡΠΈΠ΅ΠΌΠ½ΠΈΠΊΠ° ΡΠ΅Π½Π°. ΠΡΠ»ΠΈ ΠΏΡΠΈΠ΅ΠΌΠ½ΠΈΠΊΠΎΠΌ Π±ΡΠ΄Π΅Ρ Π²Π΅Π΄ΡΠΎ, ΡΠΎ ΠΏΠΎΠ΄ΡΡΠ°Π²ΠΊΠ° Π±ΡΠ΄Π΅Ρ Π²ΡΡΠ΅, ΡΠ΅ΠΌ Π΅ΡΠ»ΠΈ Π±Ρ ΡΡΡΡΠ΅ ΠΏΡΠΈΠ½ΠΈΠΌΠ°Π»ΠΎΡΡ Π² ΡΡΠΈΠΊ.
ΠΠΎΡΠ»Π΅ ΡΡΡΠ°Π½ΠΎΠ²ΠΊΠΈ Π΄Π²ΠΈΠ³Π°ΡΠ΅Π»Ρ Π΅Π³ΠΎ ΠΏΠΎΠ΄ΠΊΠ»ΡΡΠ°ΡΡ ΠΊ ΠΊΠ°Π±Π΅Π»Ρ ΠΈ ΡΡΡΡΠΎΠΉΡΡΠ²Ρ ΠΏΡΡΠΊΠ°. ΠΠΎΡΠ»Π΅ ΡΡΠΎΠ³ΠΎ ΡΠΎΠ»ΠΎΠΌΠΎΡΠ΅Π·ΠΊΠ° Π² Π΄ΠΎΠΌΠ°ΡΠ½ΠΈΡ ΡΡΠ»ΠΎΠ²ΠΈΡΡ Π³ΠΎΡΠΎΠ²Π° ΠΊ ΠΏΡΠΈΠΌΠ΅Π½Π΅Π½ΠΈΡ. Π’Π°ΠΊΠΈΠ΅, Π½Π° ΠΏΠ΅ΡΠ²ΡΠΉ Π²Π·Π³Π»ΡΠ΄ ΠΏΡΠΎΡΡΡΠ΅ Π°Π³ΡΠ΅Π³Π°ΡΡ, ΡΠΏΠΎΡΠΎΠ±Π½Ρ Π·Π½Π°ΡΠΈΡΠ΅Π»ΡΠ½Ρ ΠΎΠ±Π»Π΅Π³ΡΠΈΡΡ ΡΡΡΠ΄ ΠΈ ΡΡΠΊΠΎΠ½ΠΎΠΌΠΈΡΡ Π²ΡΠ΅ΠΌΡ Π½Π° Π²Π΅Π΄Π΅Π½ΠΈΠ΅ Ρ ΠΎΠ·ΡΠΉΡΡΠ²Π°
ΡΠ°ΠΌΠΎΠ΄Π΅Π»ΡΠ½Π°Ρ ΠΈΠ· ΡΡΠΈΡΠ°Π»ΡΠ½ΠΎΠΉ ΠΌΠ°ΡΠΈΠ½Ρ Π΄Π»Ρ ΡΠ΅Π·ΠΊΠΈ ΠΊΠΎΡΠ½Π΅ΠΏΠ»ΠΎΠ΄ΠΎΠ², ΠΈΠ·ΠΌΠ΅Π»ΡΡΠΈΡΠ΅Π»Ρ ΠΊΠΎΡΠΌΠΎΠ² ΠΈΠ· Π³Π°Π·ΠΎΠ²ΠΎΠ³ΠΎ Π±Π°Π»Π»ΠΎΠ½Π° ΠΈ Π΄ΡΡΠ³ΠΈΠ΅ Π²Π°ΡΠΈΠ°Π½ΡΡ
ΠΠΎΡΠΌΠΎΡΠ΅Π·ΠΊΠ° β ΡΡΠΎ Π½Π΅Π·Π°ΠΌΠ΅Π½ΠΈΠΌΠ°Ρ Π²Π΅ΡΡ Π² ΡΠ΅Π»ΡΡΠΊΠΎΠΌ Ρ
ΠΎΠ·ΡΠΉΡΡΠ²Π΅. ΠΠ°Π½Π½ΠΎΠ΅ ΠΏΡΠΈΡΠΏΠΎΡΠΎΠ±Π»Π΅Π½ΠΈΠ΅ ΠΏΠΎΠ·Π²ΠΎΠ»ΡΠ΅Ρ Π±ΡΡΡΡΠΎ Π½Π°ΡΠ΅Π·Π°ΡΡ ΠΏΡΠΎΠ΄ΡΠΊΡΡ Π΄Π»Ρ ΠΏΡΠΈΠ³ΠΎΡΠΎΠ²Π»Π΅Π½ΠΈΡ ΠΊΠΎΡΠΌΠ° ΡΠΊΠΎΡΡ, ΡΠ°ΠΊΠΈΠΌ ΠΎΠ±ΡΠ°Π·ΠΎΠΌ ΡΠ²ΠΎΠ΅Π²ΡΠ΅ΠΌΠ΅Π½Π½ΠΎ ΠΈ Π±Π΅Π· Ρ
Π»ΠΎΠΏΠΎΡ ΠΎΠ±Π΅ΡΠΏΠ΅ΡΠΈΠ²Π°Ρ Π²ΡΠ΅Ρ
ΠΆΠΈΠ²ΠΎΡΠ½ΡΡ
Π½Π΅ΠΎΠ±Ρ
ΠΎΠ΄ΠΈΠΌΠΎΠΉ ΠΏΠΈΡΠ΅ΠΉ.
ΠΠΎΡΠΌΠΎΡΠ΅Π·ΠΊΠ° ΠΎΡΠΎΠ±Π΅Π½Π½ΠΎ ΠΏΡΠΈΠ³ΠΎΠ΄ΠΈΡΡΡ ΡΠ°ΠΌ, Π³Π΄Π΅ ΠΊΠΎΠ»ΠΈΡΠ΅ΡΡΠ²ΠΎ ΡΠΊΠΎΡΠ° Π΄ΠΎΠ²ΠΎΠ»ΡΠ½ΠΎ Π±ΠΎΠ»ΡΡΠΎΠ΅. ΠΠΎΠ»Π΅Π΅ ΡΠΎΠ³ΠΎ, Π½Π°ΡΠΊΠ° Π³Π»Π°ΡΠΈΡ, ΡΡΠΎ ΠΈΠ·ΠΌΠ΅Π»ΡΡΠ΅Π½Π½Π°Ρ ΠΏΠΈΡΠ° Π»ΡΡΡΠ΅ ΡΡΠ²Π°ΠΈΠ²Π°Π΅ΡΡΡ Π² ΠΎΡΠ³Π°Π½ΠΈΠ·ΠΌΠ΅ ΠΆΠΈΠ²ΠΎΡΠ½ΡΡ
, Π° ΡΡΠΎ Π·Π½Π°ΡΠΈΡ, ΡΡΠΎ ΠΎΠ½Π° Π΄Π΅Π»Π°Π΅Ρ ΠΈΡ
Π±ΠΎΠ»Π΅Π΅ Π·Π΄ΠΎΡΠΎΠ²ΡΠΌΠΈ.
Π£ΡΡΡΠΎΠΉΡΡΠ²ΠΎ
ΠΠ΅ΡΠΌΠΎΡΡΡ Π½Π° ΡΠΎ, ΡΡΠΎ ΠΊΠΎΡΠΌΠΎΡΠ΅Π·ΠΊΠ° ΡΠ²Π»ΡΠ΅ΡΡΡ Π΄ΠΎΠ²ΠΎΠ»ΡΠ½ΠΎ ΡΡΠΌΠ½ΡΠΌ Π°Π³ΡΠ΅Π³Π°ΡΠΎΠΌ, ΡΡΠΎΡ Π²Π°ΡΠΈΠ°Π½Ρ ΡΠ²Π»ΡΠ΅ΡΡΡ Π½Π΅Π΄ΠΎΡΠΎΠ³ΠΈΠΌ ΠΈ ΠΏΡΠΎΡΡΡΠΌ Π² ΡΠΊΡΠΏΠ»ΡΠ°ΡΠ°ΡΠΈΠΈ. Π’Π°ΠΊΠΎΠ΅ ΡΡΡΡΠΎΠΉΡΡΠ²ΠΎ ΠΎΠ±Π»Π°Π΄Π°Π΅Ρ Π²ΡΡΠΎΠΊΠΈΠΌ ΠΠΠ ΠΈ Π²ΡΠ΅Π³Π΄Π° ΠΎΡΠΊΡΡΡΠΎ ΠΊ ΡΡΠΎΠ²Π΅ΡΡΠ΅Π½ΡΡΠ²ΠΎΠ²Π°Π½ΠΈΡ.
Π‘ΠΎΠ±ΡΠ°ΡΡ ΠΈΠ·ΠΌΠ΅Π»ΡΡΠΈΡΠ΅Π»Ρ Π΄Π»Ρ ΠΊΠΎΡΠΌΠ° Π²ΡΡΡΠ½ΡΡ ΡΠΌΠΎΠΆΠ΅Ρ ΠΊΠ°ΠΆΠ΄ΡΠΉ ΡΠΊΠΎΡΠΎΠ²ΠΎΠ΄. ΠΠ»Ρ ΡΡΠΎΠ³ΠΎ Π² ΡΠ²ΠΎΠ΅ΠΌ Π°ΡΡΠ΅Π½Π°Π»Π΅ Π½ΡΠΆΠ½ΠΎ ΠΈΠΌΠ΅ΡΡ ΠΌΠ΅ΡΠ°Π»Π»ΠΈΡΠ΅ΡΠΊΠΎΠ΅ Π²Π΅Π΄ΡΠΎ, ΡΡΠ°ΡΡΡ ΡΡΠΈΡΠ°Π»ΡΠ½ΡΡ ΠΌΠ°ΡΠΈΠ½Ρ ΠΈΠ»ΠΈ Π±ΠΎΠ»Π³Π°ΡΠΊΡ. ΠΡΠ΅ Π½ΡΠΆΠ½ΠΎ ΠΏΡΠΈΠΎΠ±ΡΠ΅ΡΡΠΈ ΡΡΡΠ±Ρ ΠΈΠ· ΡΡΠ°Π»ΠΈ Π΄ΠΈΠ°ΠΌΠ΅ΡΡΠΎΠΌ ΠΏΡΠΈΠΌΠ΅ΡΠ½ΠΎ 35 ΡΠΌ. ΠΡΠΈ Π½Π΅ΠΎΠ±Ρ ΠΎΠ΄ΠΈΠΌΠΎΡΡΠΈ ΠΊΠΎΠ½ΡΡΡΡΠΊΡΠΈΡ Π΄ΠΎΠΏΠΎΠ»Π½ΡΠ΅ΡΡΡ ΡΠ»Π΅ΠΊΡΡΠΈΡΠ΅ΡΠΊΠΈΠΌ ΠΌΠΎΡΠΎΡΠΎΠΌ, Π²ΠΎΠ·ΠΌΠΎΠΆΠ½ΠΎΡΡΠΈ ΠΊΠΎΡΠΎΡΠΎΠ³ΠΎ Π±ΡΠ΄ΡΡ Π½Π΅ Π½ΠΈΠΆΠ΅ 3000 ΠΎΠ±ΠΎΡΠΎΡΠΎΠ² Π² ΠΌΠΈΠ½ΡΡΡ.
ΠΠ»Π°Π²Π½ΡΠΉ ΠΏΠ»ΡΡ ΡΠ°ΠΌΠΎΠ΄Π΅Π»ΡΠ½ΠΎΠΉ ΠΊΠΎΡΠΌΠΎΡΠ΅Π·ΠΊΠΈ ΡΠΎΡΡΠΎΠΈΡ Π² ΡΠΎΠΌ, ΡΡΠΎ Π΅Π΅ Π²ΡΠ΅Π³Π΄Π° ΠΌΠΎΠΆΠ½ΠΎ ΠΏΠΎΠ΄ΡΡΡΠΎΠΈΡΡ ΠΏΠΎΠ΄ ΡΠ²ΠΎΠΈ ΡΠΏΠ΅ΡΠΈΡΠΈΡΠ΅ΡΠΊΠΈΠ΅ ΠΏΠΎΡΡΠ΅Π±Π½ΠΎΡΡΠΈ.
Π ΠΈΠ½ΡΠ΅ΡΠ½Π΅ΡΠ΅ ΡΡΡΠ΅ΡΡΠ²ΡΠ΅Ρ ΠΌΠ½ΠΎΠΆΠ΅ΡΡΠ²ΠΎ ΡΠ΅ΡΡΠ΅ΠΆΠ΅ΠΉ, ΠΏΠΎ ΠΊΠΎΡΠΎΡΡΠΌ ΠΌΠΎΠΆΠ½ΠΎ ΡΠΎΠΎΡΡΠ΄ΠΈΡΡ Π°ΠΏΠΏΠ°ΡΠ°Ρ Ρ ΡΠ°ΠΊΠΈΠΌ ΡΡΠ½ΠΊΡΠΈΠΎΠ½Π°Π»ΠΎΠΌ ΠΈΠ· ΠΏΠΎΠ΄ΡΡΡΠ½ΡΡ
ΠΌΠ°ΡΠ΅ΡΠΈΠ°Π»ΠΎΠ².
ΠΡ ΡΠ΅ΡΡΠ΅ΠΆΠ° Π·Π°Π²ΠΈΡΠΈΡ ΠΏΡΠΎΠΈΠ·Π²ΠΎΠ΄ΠΈΡΠ΅Π»ΡΠ½ΠΎΡΡΡ ΠΌΠ°ΡΠΈΠ½Ρ ΠΈ ΡΡΠ΅ΠΏΠ΅Π½Ρ ΠΏΠΎΠΌΠΎΠ»Π° ΠΏΠΈΡΠ΅Π²ΠΎΠ³ΠΎ ΠΌΠ°ΡΠ΅ΡΠΈΠ°Π»Π°.
ΠΠ°Π·ΠΎΠ²Π°Ρ Π΅Π΅ Π΄Π΅ΡΠ°Π»Ρ β ΡΡΠΎ Π±Π°ΠΊ ΡΠΎ ΡΠΏΠ΅ΡΠΈΠ°Π»ΡΠ½ΠΎ ΠΏΡΠΎΠ΄Π΅Π»Π°Π½Π½ΡΠΌΠΈ ΠΎΡΠ²Π΅ΡΡΡΠΈΡΠΌΠΈ, Π³Π»Π°Π²Π½ΠΎΠΉ ΡΡΠ½ΠΊΡΠΈΠ΅ΠΉ ΠΊΠΎΡΠΎΡΠΎΠ³ΠΎ ΡΠ²Π»ΡΠ΅ΡΡΡ ΠΈΠ·ΠΌΠ΅Π»ΡΡΠ΅Π½ΠΈΠ΅ ΠΏΡΠΈ Π²ΡΠ°ΡΠ΅Π½ΠΈΠΈ. ΠΠΎΠ»Π³Π°ΡΠΊΠ° ΠΈΠ»ΠΈ Π΄Π²ΠΈΠ³Π°ΡΠ΅Π»Ρ ΠΎΡ ΡΡΠ°ΡΠΎΠΉ ΡΡΠΈΡΠ°Π»ΡΠ½ΠΎΠΉ ΠΌΠ°ΡΠΈΠ½Ρ ΠΌΠΎΠ³ΡΡ ΠΏΠΎΡΠ»ΡΠΆΠΈΡΡ ΠΊΡΡΡΡΡΠΈΠΌ ΡΠ»Π΅ΠΌΠ΅Π½ΡΠΎΠΌ. ΠΠΎΠΆΠΈ Π² ΠΊΠΎΡΠΌΠΎΡΠ΅Π·ΠΊΠ΅ ΡΡΡΠ°Π½Π°Π²Π»ΠΈΠ²Π°ΡΡΡΡ ΠΊΡΠ΅ΡΡΠΎΠΌ (Π΄Π»Ρ ΡΠ²Π΅Π»ΠΈΡΠ΅Π½ΠΈΡ ΠΏΡΠΎΠΈΠ·Π²ΠΎΠ΄ΠΈΡΠ΅Π»ΡΠ½ΠΎΡΡΠΈ) ΠΈ ΠΏΡΠΈΠΊΡΠ΅ΠΏΠ»ΡΡΡΡΡ ΠΊ ΠΆΠ΅Π»Π΅Π·Π½ΠΎΠΌΡ Π΄ΠΈΡΠΊΡ Π½Π° Π΄Π½Π΅ Π°ΠΏΠΏΠ°ΡΠ°ΡΠ°. Π ΡΠ΅Π»ΠΎΠΌ ΡΡΡΡΠΎΠΉΡΡΠ²ΠΎ ΠΊΠΎΡΠΌΠΎΡΠ΅Π·ΠΊΠΈ ΠΈΠΌΠ΅Π΅Ρ Π½Π΅ΡΡΠΎ ΠΎΠ±ΡΠ΅Π΅ Ρ ΡΠΎΠΊΠΎΠ²ΡΠΆΠΈΠΌΠ°Π»ΠΊΠΎΠΉ Π±Π΅Π· ΡΠ΅ΠΏΠ°ΡΠ°ΡΠΎΡΠ°.
ΠΠ° ΠΏΠ΅ΡΠ΅Π΄Π½Π΅ΠΉ ΡΡΠΎΡΠΎΠ½Π΅ ΡΡΡΠ°Π½Π°Π²Π»ΠΈΠ²Π°Π΅ΡΡΡ ΡΠΏΠ΅ΡΠΈΠ°Π»ΡΠ½Π°Ρ ΠΊΠΎΠ½ΡΡΡΡΠΊΡΠΈΡ ΠΏΠΎΠ΄Π°ΡΠΈ ΠΊΠΎΡΠΌΠ°. Π ΠΏΠ΅ΡΠ΅Π΄Π½ΡΡ ΠΊΡΡΡΠΊΡ ΠΊΠΎΡΠΏΡΡΠ° Π·Π°Π³ΡΡΠΆΠ°ΡΡ ΠΌΠ°ΡΠ΅ΡΠΈΠ°Π» Π΄Π»Ρ ΠΈΠ·ΠΌΠ΅Π»ΡΡΠ΅Π½ΠΈΡ, Π° Π·Π°Π΄Π½ΡΡ ΡΠ»ΡΠΆΠΈΡ Π΄ΠΎΡΡΡΠΏΠΎΠΌ ΠΊ Π½ΠΎΠΆΠ°ΠΌ.
Π‘Π°ΠΌ Π°Π³ΡΠ΅Π³Π°Ρ ΡΡΡΠ°Π½Π°Π²Π»ΠΈΠ²Π°Π΅ΡΡΡ Π½Π° ΠΊΠ°ΠΊΡΡ-Π»ΠΈΠ±ΠΎ ΠΎΠΏΠΎΡΡ, Π·Π°ΠΊΡΠ΅ΠΏΠ»Π΅Π½Π½ΡΡ Ρ ΠΏΠΎΠΌΠΎΡΡΡ ΡΠΏΠΈΠ»Π΅ΠΊ ΠΈΠ»ΠΈ ΠΌΠ΅ΡΠ°Π»Π»ΠΈΡΠ΅ΡΠΊΠΈΡ ΡΠ³ΠΎΠ»ΠΊΠΎΠ². ΠΠ°ΡΠ°Π±Π°Π½ ΠΆΠ΅ ΠΏΡΠΈΠ²Π°ΡΠΈΠ²Π°Π΅ΡΡΡ ΠΊ ΡΠ³ΠΎΠ»ΠΊΠ°ΠΌ ΠΏΠΎΠ΄ΠΎΠ±Π½ΠΎ ΡΠ°ΠΌΠΎΠΌΡ Π΄Π²ΠΈΠ³Π°ΡΠ΅Π»Ρ.
ΠΡΠΎΡΠ΅ΡΡ ΠΈΠ·ΠΌΠ΅Π»ΡΡΠ΅Π½ΠΈΡ ΡΠ°ΠΊΠΎΠ², ΡΡΠΎ ΡΠ½Π°ΡΠ°Π»Π° Π·Π°ΠΏΡΡΠΊΠ°Π΅ΡΡΡ ΡΠ»Π΅ΠΊΡΡΠΎΠ΄Π²ΠΈΠ³Π°ΡΠ΅Π»Ρ, ΠΈ ΠΌΠ°ΡΠ΅ΡΠΈΠ°Π» Π΄Π»Ρ ΠΊΠΎΡΠΌΠ° Π²ΡΡΡΠ½ΡΡ Π·Π°Π³ΡΡΠΆΠ°Π΅ΡΡΡ Π² ΠΏΡΠ΅Π΄Π½Π°Π·Π½Π°ΡΠ΅Π½Π½ΡΠΉ Π΄Π»Ρ ΡΡΠΎΠ³ΠΎ ΠΏΡΠΈΠ΅ΠΌΠ½ΠΈΠΊ. ΠΠΎΠΆΠΈ ΠΈΠ·ΠΌΠ΅Π»ΡΡΠ°ΡΡ ΠΌΠ°ΡΡΡ Π΄ΠΎ Π½Π΅ΠΎΠ±Ρ ΠΎΠ΄ΠΈΠΌΠΎΠΉ ΠΊΠΎΠ½ΡΠΈΡΡΠ΅Π½ΡΠΈΠΈ, ΠΏΠΎΡΠ»Π΅ ΡΠ΅Π³ΠΎ ΠΎΠ½Π° ΠΏΠΎΠ΄Π°Π΅ΡΡΡ Π½Π° Π²ΡΡ ΠΎΠ΄.
ΠΠΎ ΠΈΡΠΎΠ³Ρ Π³Π»Π°Π²Π½ΡΠΌΠΈ ΡΠ»Π΅ΠΌΠ΅Π½ΡΠ°ΠΌΠΈ Π² ΡΡΡΡΠΎΠΉΡΡΠ²Π΅ Π»ΡΠ±ΠΎΠΉ ΠΊΠΎΡΠΌΠΎΡΠ΅Π·ΠΊΠΈ ΠΌΠΎΠΆΠ½ΠΎ Π½Π°Π·Π²Π°ΡΡ:
- ΡΠ°Π±ΠΎΡΡΡ ΠΊΠ°ΠΌΠ΅ΡΡ Ρ Π½ΠΎΠΆΠΎΠΌ;
- ΠΏΡΠΈΠ΅ΠΌΠ½ΡΠΉ Π»ΠΎΡΠΎΠΊ;
- ΠΌΠΎΡΠΎΡ;
- Π΅ΠΌΠΊΠΎΡΡΡ Π΄Π»Ρ Π³ΠΎΡΠΎΠ²ΠΎΠ³ΠΎ ΠΊΠΎΡΠΌΠ°.

ΠΠΎΡΠΌΠΎΡΠ΅Π·ΠΊΠ° ΡΠΏΠΎΡΠΎΠ±Π½Π° ΡΠΎΠ²ΠΌΠ΅ΡΠ°ΡΡ Π² ΡΠ΅Π±Π΅ Π·Π΅ΡΠ½ΠΎΠ΄ΡΠΎΠ±ΠΈΠ»ΠΊΡ ΠΈ ΡΡΠ°Π²ΠΎΡΠ΅Π·ΠΊΡ ΠΎΠ΄Π½ΠΎΠ²ΡΠ΅ΠΌΠ΅Π½Π½ΠΎ, Π²Π΅Π΄Ρ ΠΎΠ½Π° ΠΏΠ΅ΡΠ΅ΡΠ°Π±Π°ΡΡΠ²Π°Π΅Ρ ΠΎΠ²ΠΎΡΠΈ, ΠΊΠΎΡΠ½Π΅ΠΏΠ»ΠΎΠ΄Ρ, ΡΡΠ°Π²Ρ, Π° ΡΠ°ΠΊΠΆΠ΅ Π·Π΅ΡΠ½ΠΎΠ²ΡΠ΅ ΠΈ ΠΊΡΠΊΡΡΡΠ·Ρ
ΠΠ°ΠΊ ΡΠ΄Π΅Π»Π°ΡΡ ΠΈΠ· ΡΡΠΈΡΠ°Π»ΡΠ½ΠΎΠΉ ΠΌΠ°ΡΠΈΠ½Ρ?
Π‘ΠΎΠΎΡΡΠ΄ΠΈΡΡ ΠΈΠ·ΠΌΠ΅Π»ΡΡΠΈΡΠ΅Π»Ρ Π΄Π»Ρ ΠΊΠΎΡΠΌΠ° ΠΈΠ· ΡΡΠ°ΡΠΎΠΉ Π±ΡΡΠΎΠ²ΠΎΠΉ ΡΠ΅Ρ
Π½ΠΈΠΊΠΈ Π² Π΄ΠΎΠΌΠ°ΡΠ½ΠΈΡ
ΡΡΠ»ΠΎΠ²ΠΈΡΡ
Π½Π΅ΡΡΡΠ΄Π½ΠΎ. ΠΠ»Π°Π²Π½ΠΎΠ΅ β Π½Π°ΠΉΡΠΈ ΠΏΡΠ°Π²ΠΈΠ»ΡΠ½ΡΠΉ ΡΠ΅ΡΡΠ΅ΠΆ ΠΈ ΠΈΠΌΠ΅ΡΡ Π²ΡΠ΅ Π½Π΅ΠΎΠ±Ρ
ΠΎΠ΄ΠΈΠΌΠΎΠ΅ ΠΏΠΎΠ΄ ΡΡΠΊΠΎΠΉ. Π’ΠΎΠ³Π΄Π° ΠΏΡΠΎΠΈΠ·Π²ΠΎΠ΄ΠΈΡΠ΅Π»ΡΠ½ΠΎΡΡΡ ΠΌΠ°ΡΠΈΠ½Ρ ΡΠΌΠΎΠΆΠ΅Ρ Π΄ΠΎΡΡΠΈΠ³Π°ΡΡ ΠΎΡΠΌΠ΅ΡΠΊΠΈ 100 ΠΊΠΈΠ»ΠΎΠ³ΡΠ°ΠΌΠΌΠΎΠ² Π² ΡΠ°Ρ, ΠΈ Π΄ΡΠΎΠ±Π»Π΅Π½ΠΈΠ΅ ΠΏΠΈΡΠΈ Π΄Π»Ρ ΠΏΡΠΈΠ³ΠΎΡΠΎΠ²Π»Π΅Π½ΠΈΡ Π³ΡΡΠ±ΠΎΠ³ΠΎ ΠΊΠΎΡΠΌΠ° ΡΡΠ°Π½Π΅Ρ Π»Π΅Π³ΠΊΠΈΠΌ ΠΏΡΠΎΡΠ΅ΡΡΠΎΠΌ.
ΠΠ»Π΅ΠΊΡΡΠΈΡΠ΅ΡΠΊΠ°Ρ ΠΊΠΎΡΠΌΠΎΡΠ΅Π·ΠΊΠ°, ΡΠΊΠΎΠ½ΡΡΡΡΠΈΡΠΎΠ²Π°Π½Π½Π°Ρ ΡΠ²ΠΎΠΈΠΌΠΈ ΡΡΠΊΠ°ΠΌΠΈ, β Ρ
ΠΎΡΠΎΡΠΈΠΉ Π±ΡΠ΄ΠΆΠ΅ΡΠ½ΡΠΉ Π²Π°ΡΠΈΠ°Π½Ρ, ΠΊΠΎΡΠΎΡΡΠΉ ΡΠΌΠΎΠΆΠ΅Ρ ΠΏΡΠΎΡΠ»ΡΠΆΠΈΡΡ Π΄ΠΎΠ²ΠΎΠ»ΡΠ½ΠΎ Π΄ΠΎΠ»Π³ΠΎ.
ΠΠ»Ρ ΡΡΠΎΠ³ΠΎ ΠΏΠΎΠ½Π°Π΄ΠΎΠ±ΡΡΡΡ:
- Π΄Π²ΠΈΠ³Π°ΡΠ΅Π»Ρ ΡΡΠΈΡΠ°Π»ΡΠ½ΠΎΠΉ ΠΌΠ°ΡΠΈΠ½Ρ;
- Π΅Π΅ Π±Π°ΡΠ°Π±Π°Π½;
- ΠΏΡΠΎΡΠΈΠ»ΠΈΡΠΎΠ²Π°Π½Π½Π°Ρ ΡΡΡΠ±Π° Π΄Π»Ρ ΠΎΡΠ½ΠΎΠ²Π°Π½ΠΈΡ;
- ΡΠΎΠ½ΠΊΠΈΠ΅ Π»ΠΈΡΡΡ ΡΡΠ°Π»ΠΈ.
ΠΠ° ΠΎΡΠ½ΠΎΠ²Π°Π½ΠΈΠΈ ΡΠ°Π·ΠΌΠ΅ΡΠ°Π΅ΡΡΡ Π±Π°ΡΠ°Π±Π°Π½ Ρ ΠΏΡΠΎΡ ΠΎΠ΄ΠΎΠΌ Π΄Π»Ρ Π²Π°Π»Π° Π΄Π²ΠΈΠ³Π°ΡΠ΅Π»Ρ ΠΈ ΡΠ΅ΡΠΊΠ°. ΠΠΎΠΆΠΈ Π² ΠΊΠΎΠ»ΠΈΡΠ΅ΡΡΠ²Π΅ Π½Π΅ ΠΌΠ΅Π½ΡΡΠ΅ 2-Ρ Π·Π°ΠΊΡΠ΅ΠΏΠ»ΡΡΡΡΡ Π½Π° Π²Π°Π»Ρ Π΄Π²ΠΈΠ³Π°ΡΠ΅Π»Ρ. ΠΠ°ΡΠ°Π±Π°Π½ Π·Π°ΠΊΡΠ΅ΠΏΠ»ΡΠ΅ΡΡΡ ΡΠ΅ΡΡΡΡΠΌΡ Π±ΠΎΠ»ΡΠ°ΠΌΠΈ.
ΠΠ»Π΅ΠΊΡΡΠΈΡΠ΅ΡΠΊΠΈΠΉ ΠΌΠΎΡΠΎΡ ΡΡΡΠ°Π½Π°Π²Π»ΠΈΠ²Π°Π΅ΡΡΡ Ρ ΠΏΠΎΠΌΠΎΡΡΡ Π±ΠΎΠ»ΡΠΎΠ²; ΠΎΠ½ΠΈ ΠΆΠ΅ ΡΠΎΠ΅Π΄ΠΈΠ½ΡΡΡ ΠΌΠ΅ΠΆΠ΄Ρ ΡΠΎΠ±ΠΎΠΉ Π²ΡΠ΅ Π»Π΅Π·Π²ΠΈΡ. Π Π΅ΡΠ»ΠΈ Π΅ΡΡΡ ΠΏΠΎΡΡΠ΅Π±Π½ΠΎΡΡΡ Ρ
ΡΠ°Π½ΠΈΡΡ ΠΏΠΈΡΡ Π΄Π»Ρ ΡΠΊΠΎΡΠ° Π²Π½ΡΡΡΠΈ ΡΡΡΡΠΎΠΉΡΡΠ²Π°, ΠΌΠΎΠΆΠ½ΠΎ ΠΏΡΠΈΡΠΎΠ΅Π΄ΠΈΠ½ΠΈΡΡ ΠΊΡΡΡΠΊΡ.
ΠΠ° Π΄Π½Π΅ ΠΊΠΎΠ½ΡΡΡΡΠΊΡΠΈΠΈ ΠΏΡΠΎΠ΄Π΅Π»ΡΠ²Π°Π΅ΡΡΡ ΠΊΡΡΠΏΠ½ΠΎΠ΅ ΠΎΡΠ²Π΅ΡΡΡΠΈΠ΅ Π΄Π»Ρ ΠΏΠΎΡΡΡΠΏΠ»Π΅Π½ΠΈΡ ΠΊΠΎΡΠ½Π΅ΠΏΠ»ΠΎΠ΄ΠΎΠ² Π² ΡΡΡΡΠΎΠΉΡΡΠ²ΠΎ, Π° ΡΠ°Π·ΡΠ΅ΠΌ Π΄Π»Ρ ΠΏΠΎΠ΄Π°ΡΠΈ Π³ΠΎΡΠΎΠ²ΠΎΠΉ ΠΌΠ°ΡΡΡ β Π² ΡΡΠ΅Π½ΠΊΠ΅. Π£ Π²ΡΡ ΠΎΠ΄Π° ΠΊΠΎΡΠΌΠΎΡΠ΅Π·ΠΊΠΈ ΡΠ»Π΅Π΄ΡΠ΅Ρ ΠΏΡΠ΅Π΄ΡΡΠΌΠΎΡΡΠ΅ΡΡ Π΅ΠΌΠΊΠΎΡΡΡ Π΄Π»Ρ ΡΠ±ΠΎΡΠ° ΠΊΠΎΡΠΌΠ°. ΠΠ° ΡΠ°ΠΌΠ΅ ΡΠ±ΠΎΠΊΡ ΡΠ°ΡΠΏΠΎΠ»Π°Π³Π°Π΅ΡΡΡ ΡΠΏΡΠ°Π²Π»Π΅Π½ΠΈΠ΅ Ρ ΠΊΠ°Π±Π΅Π»Π΅ΠΌ ΠΏΠΈΡΠ°Π½ΠΈΡ.
Π‘Π°ΠΌΠΎΠ΄Π΅Π»ΡΠ½ΡΠΉ ΠΈΠ·ΠΌΠ΅Π»ΡΡΠΈΡΠ΅Π»Ρ ΠΊΠΎΡΠΌΠΎΠ² ΠΈΠ· Π³Π°Π·ΠΎΠ²ΠΎΠ³ΠΎ Π±Π°Π»Π»ΠΎΠ½Π°
Π§Π΅ΡΡΠ΅ΠΆ ΠΊΠΎΡΠΌΠΎΡΠ΅Π·ΠΊΠΈ ΠΈΠ· Π³Π°Π·ΠΎΠ²ΠΎΠ³ΠΎ Π±Π°Π»Π»ΠΎΠ½Π° ΡΠ΄Π΅Π»Π°ΡΡ Π½Π΅ΡΡΡΠ΄Π½ΠΎ, Π±ΠΎΠ»Π΅Π΅ ΡΠΎΠ³ΠΎ, ΡΡΠΎ Π½Π΅ ΠΎΠ±ΡΠ·Π°ΡΠ΅Π»ΡΠ½ΡΠΉ ΡΠ»Π΅ΠΌΠ΅Π½Ρ ΠΏΡΠΎΡΠ΅ΡΡΠ°. ΠΠ»Π°Π²Π½ΠΎΠ΅ β ΡΡΠΎ ΡΠΎΡΠ½ΠΎ ΠΏΡΠΎΠΈΠ·Π²Π΅ΡΡΠΈ ΡΠ°ΡΡΠ΅ΡΡ ΠΈ Π½Π°Π΄Π΅ΠΆΠ½ΠΎ ΡΠΎΠ΅Π΄ΠΈΠ½ΠΈΡΡ Π²ΡΠ΅ ΡΠΎΡΡΠ°Π²Π»ΡΡΡΠΈΠ΅ Π² Π΅Π΄ΠΈΠ½ΡΡ ΠΊΠΎΠ½ΡΡΡΡΠΊΡΠΈΡ.
- ΠΡΠ΅ΠΆΠ΄Π΅ Π²ΡΠ΅Π³ΠΎ Ρ Π³Π°Π·ΠΎΠ²ΠΎΠ³ΠΎ Π±Π°Π»Π»ΠΎΠ½Π° ΡΡΠ΅Π·Π°Π΅ΡΡΡ Π²Π΅ΡΡ
Π½ΡΡ ΠΈ Π½ΠΈΠΆΠ½ΡΡ ΡΠ°ΡΡΠΈ.
ΠΠ°ΠΆΠ½ΠΎ! ΠΠ΅ΡΠ΅Π΄ ΡΡΠΈΠΌ Π½ΡΠΆΠ½ΠΎ ΠΎΠ±ΡΠ·Π°ΡΠ΅Π»ΡΠ½ΠΎ Π²ΡΠΏΡΡΡΠΈΡΡ ΠΈΠ· Π½Π΅Π³ΠΎ Π³Π°Π·. - Π‘Π±ΠΎΠΊΡ Π²ΡΡΠ΅Π·Π°Π΅ΡΡΡ ΡΠΏΠ΅ΡΠΈΠ°Π»ΡΠ½ΡΠΉ ΠΏΡΠΎΡ ΠΎΠ΄, ΡΠ΅ΡΠ΅Π· ΠΊΠΎΡΠΎΡΡΠΉ Π±ΡΠ΄Π΅Ρ ΠΎΡΡΡΠ΅ΡΡΠ²Π»ΡΡΡΡΡ ΠΏΠΎΠ΄Π°ΡΠ° Π³ΠΎΡΠΎΠ²ΠΎΠΉ ΠΏΠΈΡΠΈ Π΄Π»Ρ ΠΆΠΈΠ²ΠΎΡΠ½ΡΡ . ΠΡΠΆΠ½ΠΎ ΡΡΠΈΡΡΠ²Π°ΡΡ, ΡΡΠΎ ΡΠ½ΠΈΠ·Ρ Π±Π°Π»Π»ΠΎΠ½Π° Π±ΡΠ΄Π΅Ρ Π½Π°Ρ ΠΎΠ΄ΠΈΡΡΡΡ Π²ΡΠ°ΡΠ°ΡΡΠ°ΡΡΡ ΡΠ°ΡΡΡ Ρ ΡΠ΅ΠΆΡΡΠΈΠΌΠΈ ΡΠ»Π΅ΠΌΠ΅Π½ΡΠ°ΠΌΠΈ.
- Π Π°ΠΌΠ° ΠΊΠΎΠ½ΡΡΡΡΠΈΡΡΠ΅ΡΡΡ Ρ ΠΏΠΎΠΌΠΎΡΡΡ ΡΠΎΠ»ΡΡΠΎΡΡΠ΅Π½Π½ΠΎΠΉ ΡΡΡΠ±Ρ, Π°ΡΠΌΠ°ΡΡΡΡ ΠΈ ΡΠ³ΠΎΠ»ΠΊΠΎΠ².
- ΠΠ½ΡΡΡΠΈ ΠΊΠΎΠ½ΡΡΡΡΠΊΡΠΈΠΈ ΡΡΡΠ°Π½Π°Π²Π»ΠΈΠ²Π°Π΅ΡΡΡ ΡΠ΅ΠΆΡΡΠΈΠΉ ΡΠ»Π΅ΠΌΠ΅Π½Ρ.
- ΠΠΎΡΠ»Π΅Π΄Π½ΠΈΠΌ ΡΡΠ°ΠΏΠΎΠΌ ΠΊΠΎΠ½ΡΡΡΡΠΊΡΠΈΡ ΠΈΠ· Π³Π°Π·ΠΎΠ²ΠΎΠ³ΠΎ Π±Π°Π»Π»ΠΎΠ½Π° Π²ΠΎΠ΄ΡΡΠΆΠ°Π΅ΡΡΡ Π½Π° ΠΌΠ΅ΡΠ°Π»Π»ΠΈΡΠ΅ΡΠΊΠΎΠ΅ ΠΎΡΠ½ΠΎΠ²Π°Π½ΠΈΠ΅ Ρ ΡΡΠ΅Ρ ΡΠ°Π·Π½ΡΠΌ Π΄Π²ΠΈΠ³Π°ΡΠ΅Π»Π΅ΠΌ ΡΠ½ΠΈΠ·Ρ.
ΠΠ· ΡΠ΅Π³ΠΎ Π΅ΡΠ΅ ΠΌΠΎΠΆΠ½ΠΎ ΠΈΠ·Π³ΠΎΡΠΎΠ²ΠΈΡΡ?
ΠΠΎΡΠΌΠΎΡΠ΅Π·ΠΊΠ° β ΡΡΠΎ Π°ΠΏΠΏΠ°ΡΠ°Ρ, ΠΊΠΎΡΠΎΡΡΠΉ ΠΌΠΎΠΆΠ½ΠΎ ΡΠΎΠ±ΡΠ°ΡΡ ΠΏΠΎΡΡΠΈ ΠΈΠ· Π»ΡΠ±ΠΎΠ³ΠΎ Ρ
Π»Π°ΠΌΠ°, Ρ
ΡΠ°Π½ΡΡΠ΅Π³ΠΎΡΡ Π² Π³Π°ΡΠ°ΠΆΠ΅, ΠΈ Π²ΡΠ΅ ΡΡΠΎ Π² Π΄ΠΎΠΌΠ°ΡΠ½ΠΈΡ
ΡΡΠ»ΠΎΠ²ΠΈΡΡ
.
ΠΠ½Π° ΠΏΡΠΈΠΌΠ΅Π½ΡΠ΅ΡΡΡ Π² ΡΠ°Π·Π½ΡΡ
ΡΡΠ΅ΡΠ°Ρ
Π΄Π΅ΡΡΠ΅Π»ΡΠ½ΠΎΡΡΠΈ, Π° Π°Π΄Π°ΠΏΡΠΈΡΠΎΠ²Π°ΡΡ ΠΊΠΎΠ½ΡΡΡΡΠΊΡΠΈΡ ΠΏΠΎΠ΄ ΠΊΠΎΠ½ΠΊΡΠ΅ΡΠ½ΡΡ ΡΠΈΡΡΠ°ΡΠΈΡ Π΄ΠΎΠ²ΠΎΠ»ΡΠ½ΠΎ Π»Π΅Π³ΠΊΠΎ. ΠΠ½Π° ΠΌΠΎΠΆΠ΅Ρ Π±ΡΡΡ ΡΠΎΠ²Π΅ΡΡΠ΅Π½Π½ΠΎ ΡΠ°Π·Π½ΠΎΠΉ, Π½Π°ΠΏΡΠΈΠΌΠ΅Ρ, ΡΡΡΠ½Π°Ρ ΡΠ΅ΡΠΊΠ°-ΠΊΠΎΡΠΌΠΎΡΠ΅Π·ΠΊΠ°, ΠΌΠ΅Π»ΡΠ½ΠΈΡΠ°, ΡΠΎΠ»ΠΎΠΌΠΎΡΠ΅Π·ΠΊΠ°. Π ΠΏΡΡΠ΅ΠΌ Π·Π°ΠΌΠ΅Π½Ρ ΡΠ΅ΠΆΡΡΠ΅Π³ΠΎ ΡΠ»Π΅ΠΌΠ΅Π½ΡΠ° ΠΌΠΎΠΆΠ½ΠΎ Ρ Π»Π΅Π³ΠΊΠΎΡΡΡΡ ΡΠ΅Π³ΡΠ»ΠΈΡΠΎΠ²Π°ΡΡ ΡΠ΅ΠΆΠΈΠΌΡ ΡΠ°Π±ΠΎΡΡ ΠΈΠ·ΠΌΠ΅Π»ΡΡΠΈΡΠ΅Π»Ρ. ΠΠ΅Ρ
Π°Π½ΠΈΠ·ΠΈΡΠΎΠ²Π°Π½Π½ΡΠ΅ ΠΊΠΎΡΠΌΠΎΡΠ΅Π·ΠΊΠΈ ΠΏΡΠ΅Π΄ΡΡΠ°Π²Π»ΡΡΡ ΡΠΎΠ±ΠΎΠΉ ΡΡΡΡΠΎΠΉΡΡΠ²Π° Ρ Π΄Π²ΠΈΠ³Π°ΡΠ΅Π»Π΅ΠΌ, ΡΠ°Π±ΠΎΡΠ°ΡΡΠΈΠ΅ Π½Π° ΡΠ»Π΅ΠΊΡΡΠΎΠΏΡΠΈΠ²ΠΎΠ΄Π΅, ΠΊΠΎΡΠΎΡΡΠΉ ΠΎΠ±Π΅ΡΠΏΠ΅ΡΠΈΠ²Π°Π΅Ρ Π²ΡΡΠΎΠΊΡΡ ΡΡΡΠ΅ΠΊΡΠΈΠ²Π½ΠΎΡΡΡ ΡΡΡΠ΄Π°.
ΠΠ°ΠΆΠ½ΠΎ! Π ΠΊΠΎΠ½ΡΡΡΡΠΊΡΠΈΠΈ ΡΠ°ΠΊΠΎΠ³ΠΎ ΡΠΎΠ΄Π° Π²ΡΠ΅Π³Π΄Π° ΡΠ»Π΅Π΄ΡΠ΅Ρ ΠΈΡΠΏΠΎΠ»ΡΠ·ΠΎΠ²Π°ΡΡ ΡΠΎΠ»ΡΠΊΠΎ ΠΌΠ΅ΡΠ°Π»Π»ΠΈΡΠ΅ΡΠΊΠΎΠ΅ Π²Π΅Π΄ΡΠΎ. ΠΠ»Π°ΡΡΠΈΠΊΠΎΠ²ΡΠΉ Π²Π°ΡΠΈΠ°Π½Ρ ΠΌΠΎΠΆΠ΅Ρ ΠΎΠ±ΠΎΠΉΡΠΈΡΡ Π΄Π΅ΡΠ΅Π²Π»Π΅, Π½ΠΎ Π²ΠΏΠΎΡΠ»Π΅Π΄ΡΡΠ²ΠΈΠΈ ΡΡΠΎΠΈΡΡ ΡΠ²ΠΎΠΈΠΌ Ρ ΠΎΠ·ΡΠ΅Π²Π°ΠΌ Π·Π΄ΠΎΡΠΎΠ²ΡΡ ΠΈΠ»ΠΈ Π΄Π°ΠΆΠ΅ ΠΆΠΈΠ·Π½ΠΈ. ΠΡΠ»ΠΈ Π²Π΄ΡΡΠ³ ΠΎΡΠΊΠΎΠ»ΠΎΠΊ Π½ΠΎΠΆΠ° ΠΎΠΊΠ°ΠΆΠ΅ΡΡΡ Π² ΡΠ°Π±ΠΎΡΠ°ΡΡΠ΅ΠΉ ΠΊΠΎΡΠΌΠΎΡΠ΅Π·ΠΊΠ΅, ΠΏΠ»Π°ΡΡΠΈΠΊ Π½Π΅ ΠΏΠΎΡΠ»ΡΠΆΠΈΡ Π½Π°Π΄Π΅ΠΆΠ½ΡΠΌ Π±Π°ΡΡΠ΅ΡΠΎΠΌ, ΠΈ ΠΌΠ΅ΡΠ°Π»Π» ΠΌΠΎΠΆΠ΅Ρ ΠΏΠΎΠΏΠ°ΡΡΡ Π² ΡΠ΅Π»ΠΎΠ²Π΅ΠΊΠ° ΠΈΠ»ΠΈ ΠΆΠΈΠ²ΠΎΡΠ½ΡΡ , Π½Π°Ρ ΠΎΠ΄ΡΡΠΈΡ ΡΡ ΡΡΠ΄ΠΎΠΌ Ρ Π°Π³ΡΠ΅Π³Π°ΡΠΎΠΌ.
ΠΠΎΡΠΌΠΎΡΠ΅Π·ΠΊΠ° ΠΈΠ· ΡΠ³Π»ΠΎΠ²ΠΎΠΉ ΡΠ»ΠΈΡΠΌΠ°ΡΠΈΠ½ΠΊΠΈ ΠΈΠΌΠ΅Π΅Ρ ΠΎΡΠ½ΠΎΡΠΈΡΠ΅Π»ΡΠ½ΠΎ ΠΏΡΠΎΡΡΠΎΠ΅ ΡΡΡΡΠΎΠΉΡΡΠ²ΠΎ.
- Π‘Π½Π°ΡΠ°Π»Π° Π½ΡΠΆΠ½ΠΎ Π²Π·ΡΡΡ Π»ΡΠ±ΠΎΠΉ ΡΠΎΡΡΠ΄ (Π³Π»Π°Π²Π½ΠΎΠ΅, ΡΡΠΎΠ±Ρ ΠΎΠ½ Π±ΡΠ» ΠΈΠ· ΡΠΎΠ»ΡΡΠΎΠΉ Π½Π΅ΡΠΆΠ°Π²Π΅ΡΡΠ΅ΠΉ ΡΡΠ°Π»ΠΈ) ΠΈ ΠΏΡΠΎΠ΄Π΅Π»Π°ΡΡ Π² Π½Π΅ΠΌ ΠΎΡΠ²Π΅ΡΡΡΠΈΡ 1,5-2 ΡΠΌ Π² Π΄ΠΈΠ°ΠΌΠ΅ΡΡΠ΅. ΠΠ°ΠΆΠ½ΡΠΉ Π½ΡΠ°Π½Ρ ΡΠΎΡΡΠΎΠΈΡ Π² ΡΠΎΠΌ, ΡΡΠΎΠ±Ρ Π·Π°Π³Π½ΡΡΡ ΠΈΡ ΠΊΡΠ°Ρ Π²Π½ΡΡΡΡ Π΄Π»Ρ Π±ΠΎΠ»Π΅Π΅ ΡΡΡΠ΅ΠΊΡΠΈΠ²Π½ΠΎΠ³ΠΎ ΠΈΠ·ΠΌΠ΅Π»ΡΡΠ΅Π½ΠΈΡ.
- ΠΠ°Π»Π΅Π΅ Π½ΡΠΆΠ½ΠΎ ΡΠΊΠΎΠ½ΡΡΡΡΠΈΡΠΎΠ²Π°ΡΡ ΡΠ°ΠΌΡ, ΠΊΠΎΡΠΎΡΠ°Ρ Π²ΠΏΠΎΡΠ»Π΅Π΄ΡΡΠ²ΠΈΠΈ Π±ΡΠ΄Π΅Ρ ΡΠ»ΡΠΆΠΈΡΡ ΠΏΠΎΠ΄ΡΡΠ°Π²ΠΊΠΎΠΉ Π΄Π»Ρ Π΅ΠΌΠΊΠΎΡΡΠΈ. Π‘Π°ΠΌΠ° Π΅ΠΌΠΊΠΎΡΡΡ ΡΡΡΠ°Π½Π°Π²Π»ΠΈΠ²Π°Π΅ΡΡΡ Π½Π° ΠΎΡΠ½ΠΎΠ²Π°Π½ΠΈΠ΅ Ρ ΠΏΠΎΠΌΠΎΡΡΡ ΡΠ»Π°Π½ΡΠ° ΠΈ ΡΠ°Π»ΡΠ½ΠΈΠΊΠΎΠ².
- ΠΠΎΠ»Π³Π°ΡΠΊΠ° ΠΏΠΎΠ΄ΠΊΠ»ΡΡΠ°Π΅ΡΡΡ ΠΈΠΌΠ΅Π½Π½ΠΎ ΠΊ ΡΠ»Π°Π½ΡΡ, Π° ΠΏΠΎΠ²Π΅ΡΡ ΠΎΡΠΈ Π²Π½ΡΡΡΠΈ Π΅ΠΌΠΊΠΎΡΡΠΈ ΡΡΡΠ°Π½Π°Π²Π»ΠΈΠ²Π°Π΅ΡΡΡ ΠΊΠΎΡΠΏΡΡ Π΄Π»Ρ ΡΠ°Π»ΡΠ½ΠΈΠΊΠ°.
- ΠΠ±ΡΠ·Π°ΡΠ΅Π»ΡΠ½ΡΠΌ ΡΠ»Π΅ΠΌΠ΅Π½ΡΠΎΠΌ Π·Π΄Π΅ΡΡ ΡΠ²Π»ΡΠ΅ΡΡΡ Π΅ΠΌΠΊΠΎΡΡΡ Π΄Π»Ρ ΠΏΡΠΈΠ΅ΠΌΠ° ΠΈΠ·ΠΌΠ΅Π»ΡΡΠ΅Π½Π½ΠΎΠ³ΠΎ ΠΌΠ°ΡΠ΅ΡΠΈΠ°Π»Π° ΡΠ²Π΅ΡΡ Ρ ΠΊΠΎΡΠΌΠΎΡΠ΅Π·ΠΊΠΈ. ΠΠΎΠΆΠ½ΠΎ ΠΈΠ·Π³ΠΎΡΠΎΠ²ΠΈΡΡ ΡΠ°ΠΊΡΡ ΠΈΠ· ΠΊΠ°ΡΡΡΡΠ»ΠΈ ΠΈΠ»ΠΈ ΠΎΠ±ΡΡΠ½ΠΎΠ³ΠΎ Π²Π΅Π΄ΡΠ°.
ΠΡΠΎΡΡΡΠΌ ΠΈ Π½Π΅Π΄ΠΎΡΠΎΠ³ΠΈΠΌ Π²Π°ΡΠΈΠ°Π½ΡΠΎΠΌ ΡΠ²Π»ΡΠ΅ΡΡΡ ΡΠ°ΠΊΠΆΠ΅ ΠΊΠΎΠ½ΡΡΡΡΠΈΡΠΎΠ²Π°Π½ΠΈΠ΅ ΠΊΠΎΡΠΌΠΎΡΠ΅Π·ΠΊΠΈ Π½Π° ΠΎΡΠ½ΠΎΠ²Π΅ ΡΠ²Π΅ΡΠ»ΠΈΠ»ΡΠ½ΠΎΠ³ΠΎ ΡΡΠ°Π½ΠΊΠ°, Π½ΠΎ ΡΠ°ΠΌΠΎΠ΄Π΅Π»ΠΊΠ° ΠΏΠΎΠ΄ΠΎΠ±Π½ΠΎΠ³ΠΎ ΡΠΎΠ΄Π°, ΠΊΠ°ΠΊ ΠΏΡΠ°Π²ΠΈΠ»ΠΎ, ΡΠ°ΡΡ ΠΎΠ΄ΡΠ΅Ρ ΠΌΠ½ΠΎΠ³ΠΎ ΡΠ½Π΅ΡΠ³ΠΈΠΈ.
ΠΡΠ΅ ΠΎΠ΄ΠΈΠ½ ΡΠΏΠΎΡΠΎΠ± ΡΠΎΠΎΡΡΠ΄ΠΈΡΡ ΠΏΡΠΎΠΈΠ·Π²ΠΎΠ΄ΠΈΡΠ΅Π»ΡΠ½ΡΡ ΠΊΠΎΡΠΌΠΎΡΠ΅Π·ΠΊΡ Π΄ΠΎΠΌΠ° β ΡΠΎΠ±ΡΠ°ΡΡ ΠΊΠΎΠ½ΡΡΡΡΠΊΡΠΈΡ, Π² ΠΎΡΠ½ΠΎΠ²Π΅ ΠΊΠΎΡΠΎΡΠΎΠΉ Π±ΡΠ΄Π΅Ρ Π»Π΅ΠΆΠ°ΡΡ Π΄ΡΠ΅Π»Ρ.
- ΠΠ»Ρ ΡΡΠΎΠ³ΠΎ ΠΏΠΎΠ½Π°Π΄ΠΎΠ±ΠΈΡΡΡ ΠΎΠ±ΡΡΠ½ΡΠΉ ΡΠ°Π±ΡΡΠ΅Ρ Ρ ΠΎΡΠ²Π΅ΡΡΡΠΈΠ΅ΠΌ ΠΎΠΊΠΎΠ»ΠΎ 13 ΠΌΠΌ Π² Π΄ΠΈΠ°ΠΌΠ΅ΡΡΠ΅. ΠΠΎΡΠ»Π΅ Π½ΡΠΆΠ½ΠΎ ΠΏΠΎΠ΄ΠΎΠ±ΡΠ°ΡΡ Π΄Π΅ΡΠ΅Π²ΡΠ½Π½ΡΠΉ Π±ΡΡΡΠΎΠΊ ΡΠ°Π·ΠΌΠ΅ΡΠΎΠΌ 20×40 ΠΌΠΌ, Π° Π·Π°ΡΠ΅ΠΌ ΠΏΡΠΈΠΊΡΠ΅ΠΏΠΈΡΡ ΠΊ Π΅Π³ΠΎ ΠΌΠ΅Π½ΡΡΠ΅ΠΌΡ ΡΠΎΡΡΡ ΠΏΠΎΠ΄ΡΠΈΠΏΠ½ΠΈΠΊΠΎΠ²ΡΠΉ ΡΠ·Π΅Π» UPC 201. ΠΡΡ ΡΡΠ° ΠΊΠΎΠ½ΡΡΡΡΠΊΡΠΈΡ ΡΡΡΠ°Π½Π°Π²Π»ΠΈΠ²Π°Π΅ΡΡΡ Π½Π° ΠΎΠ΄Π½ΠΎΠΉ ΠΈΠ· ΡΡΠΎΡΠΎΠ½ ΡΠ°Π±ΡΡΠ΅ΡΠΊΠΈ.
- Π‘Π»Π΅Π΄ΡΡΡΠΈΠΉ ΡΡΠ°ΠΏ β ΡΡΠΎ ΡΡΡΠ°Π½ΠΎΠ²ΠΊΠ° Π½Π° ΡΠ°Π±ΡΡΠ΅ΡΠ΅ ΠΎΡΠΈΠ½ΠΊΠΎΠ²Π°Π½Π½ΠΎΠ³ΠΎ 12-Π»ΠΈΡΡΠΎΠ²ΠΎΠ³ΠΎ Π²Π΅Π΄ΡΠ° Ρ ΠΎΡΠ²Π΅ΡΡΡΠΈΠ΅ΠΌ Π² Π½ΠΈΠΆΠ½Π΅ΠΉ ΡΠ°ΡΡΠΈ.
- ΠΠ°Π» Π΄Π»Ρ Π»Π΅Π·Π²ΠΈΠΉ Π½ΡΠΆΠ½ΠΎ ΠΈΠ·Π³ΠΎΡΠΎΠ²ΠΈΡΡ ΠΈΠ· ΠΊΡΠ΅ΠΏΠΊΠΎΠ³ΠΎ ΡΡΠ΅ΡΠΆΠ½Ρ, Π²ΡΡΠ΅Π·Π°Π² Π½Π° Π½Π΅ΠΌ Ρ ΠΎΠ΄Π½ΠΎΠΉ ΡΡΠΎΡΠΎΠ½Ρ ΡΠ΅Π·ΡΠ±Ρ Π12.
- ΠΠ°Π»Π΅Π΅ Π½ΡΠΆΠ½ΠΎ Π²Π°Π» ΠΏΡΠΎΡΡΠ½ΡΡΡ ΡΠ΅ΡΠ΅Π· ΠΎΡΠ²Π΅ΡΡΡΠΈΠ΅ Π² Π²Π΅Π΄ΡΠ΅ ΠΈ ΡΠΈΠ΄Π΅Π½ΡΠ΅ ΡΠ°Π±ΡΡΠ΅ΡΠ° Π½Π° 16 ΠΌΠΌ ΠΈ Π·Π°ΠΊΡΠ΅ΠΏΠΈΡΡ Π² ΠΏΠΎΠ΄ΡΠΈΠΏΠ½ΠΈΠΊΠ΅. Π§Π΅ΡΡΠ΅ΠΆ Π½ΡΠΆΠ½ΠΎ ΡΠ°ΡΡΡΠΈΡΠ°ΡΡ ΡΠ°ΠΊ, ΡΡΠΎΠ±Ρ ΡΡΠΈΡΡΠ²Π°ΡΡ ΡΠ°Π·ΠΌΠ΅Ρ ΠΈΡΠΏΠΎΠ»ΡΠ·ΡΠ΅ΠΌΠΎΠΉ Π΄ΡΠ΅Π»ΠΈ, ΠΈ ΡΠΎΠ³Π΄Π° ΠΊΠΎΠ½ΡΡΡΡΠΊΡΠΈΡ Π±ΡΠ΄Π΅Ρ ΡΡΡΠΎΠΉΡΠΈΠ²ΠΎΠΉ.
- ΠΠΎΡΠ»Π΅ ΡΠ»Π΅Π΄ΡΠ΅Ρ ΠΈΠ·Π³ΠΎΡΠΎΠ²ΠΈΡΡ ΡΠΎΠΌΠ±ΠΎΠ²ΠΈΠ΄Π½ΡΠΉ Π½ΠΎΠΆ ΠΈ Π·Π°ΡΠΈΠΊΡΠΈΡΠΎΠ²Π°ΡΡ Π΅Π³ΠΎ Π½Π° ΡΠ°Π±ΠΎΡΠ΅ΠΌ Π²Π°Π»Ρ.
ΠΠΎΡΠΌΠΎΡΠ΅Π·ΠΊΠ° ΠΈΠ· Π΄ΡΠ΅Π»ΠΈ ΠΎΠ±ΡΡΠ½ΠΎ ΡΠ°Π±ΠΎΡΠ°Π΅Ρ Π½Π° Π΅Π΅ ΠΆΠ΅ ΠΏΡΠΈΠ²ΠΎΠ΄Π΅ ΠΏΡΠΈΠΌΠ΅ΡΠ½ΠΎ Π² 1000 ΠΡ. ΠΡΠ²Π΅ΡΡΡΠΈΡ ΠΏΠΎΠ΄ΡΠΈΠΏΠ½ΠΈΠΊΠ° ΠΈ ΡΠ°Π±ΡΡΠ΅ΡΠΊΠΈ Π΄ΠΎΠ»ΠΆΠ½Ρ Π±ΡΡΡ ΡΠΎΠΎΡΠ½ΡΠΌΠΈ.
ΠΠ°ΠΊ ΡΠ΄Π΅Π»Π°ΡΡ ΠΊΠΎΡΠΌΠΎΡΠ΅Π·ΠΊΡ ΡΠ²ΠΎΠΈΠΌΠΈ ΡΡΠΊΠ°ΠΌΠΈ, ΡΠΌΠΎΡΡΠΈΡΠ΅ Π² Π²ΠΈΠ΄Π΅ΠΎ Π½ΠΈΠΆΠ΅.
Π‘ΠΎΠ»ΠΎΠΌΠΎΡΠ΅Π·ΠΊΠ° ΡΠ²ΠΎΠΈΠΌΠΈ ΡΡΠΊΠ°ΠΌΠΈ-Π΄Π΅Π»Π°Π΅ΠΌ ΠΈΠ·ΠΌΠ΅Π»ΡΡΠΈΡΠ΅Π»Ρ ΡΠΎΠ»ΠΎΠΌΡ, ΡΡΠ°Π²Ρ
ΠΡΠΈΡΡΠ°Π΄Π΅Π±Π½ΠΎΠ΅ Ρ ΠΎΠ·ΡΠΉΡΡΠ²ΠΎ /10-ΡΠ΅Π²,2018,13;22 / 13999Π ΡΡΠΎΠΉ ΡΡΠ°ΡΡΠ΅ ΠΌΡ ΡΠ°ΡΡΠΌΠΎΡΡΠΈΠΌ, ΠΊΠ°ΠΊ ΡΠ²ΠΎΠΈΠΌΠΈ ΡΡΠΊΠ°ΠΌΠΈ ΡΠ΄Π΅Π»Π°ΡΡ ΠΈΠ·ΠΌΠ΅Π»ΡΡΠΈΡΠ΅Π»Ρ Π΄Π»Ρ ΡΠΎΠ»ΠΎΠΌΡ, ΡΠ΅Π½Π° ΠΈ ΡΡΠ°Π²Ρ, ΡΠ°ΠΊ Π½Π°Π·ΡΠ²Π°Π΅ΠΌΠ°Ρ ΡΠΎΠ»ΠΎΠΌΠΎΡΠ΅Π·ΠΊΠ°. Π Π°ΡΡ ΠΎΠ΄Π½ΡΠ΅ ΠΌΠ°ΡΠ΅ΡΠΈΠ°Π»Ρ, Π·Π°ΠΏΡΠ°ΡΡΠΈ, ΡΠ΅ΠΌΠ½ΠΈ, Π½ΠΎΠΆΠΈ Π±ΡΠΎΡΠΎΠ²ΡΠ΅, ΠΎΠ½ΠΈ ΠΌΠΎΠ³ΡΡ Π½Π°Ρ ΠΎΠ΄ΠΈΡΡΡ Π² Π»ΡΠ±ΠΎΠΌ Π³Π°ΡΠ°ΠΆΠ΅. Π‘Π΄Π΅Π»Π°Π² ΡΡΠΎ ΠΏΡΠΈΡΠΏΠΎΡΠΎΠ±Π»Π΅Π½ΠΈΠ΅ ΡΠ²ΠΎΠΈΠΌΠΈ ΡΡΠΊΠ°ΠΌΠΈ, Π²Ρ ΡΡΠΊΠΎΠ½ΠΎΠΌΠΈΡΠ΅ ΠΈ Π±ΡΠ΄Π΅ΡΠ΅ ΡΠ²Π°ΡΠ΅Π½Ρ ΡΡΠΎ Ρ Π²Π°Ρ Π½Π°Π΄Π΅ΠΆΠ½ΡΠΉ Π°ΠΏΠΏΠ°ΡΠ°Ρ, ΠΊΠΎΡΠΎΡΡΠΉ Π²ΡΠ΅Π³Π΄Π° Π²ΡΠΏΠΎΠ»Π½ΠΈΡ ΡΠ²ΠΎΡ ΡΠ°Π±ΠΎΡΡ.
ΠΠ°ΡΠ½ΠΈΠΊΡ ΡΠ»ΠΎΠΆΠ½ΠΎ ΠΎΠ±ΠΎΠΉΡΠΈΡΡ Π±Π΅Π· ΡΠ°ΠΊΠΎΠ³ΠΎ ΠΈΠ·ΠΌΠ΅Π»ΡΡΠΈΡΠ΅Π»Ρ. ΠΠ½ Π² ΠΏΡΠΎΡΡΠΎΠΉ ΡΠΏΠΎΡΠΎΠ± ΠΈΠ·ΠΌΠ΅Π»ΡΡΠΈΡ ΡΡΠ°Π²Ρ, Π±ΠΎΡΠ²Ρ, ΡΠΎΠ»ΠΎΠΌΡ, ΡΠ΅Π½Π° ΠΊΠΎΡΠΎΡΡΠ΅ ΠΌΠΎΠΆΠ½ΠΎ ΡΠΎΠ±ΠΈΡΠ°ΡΡ Π½Π° ΡΡΠ°ΡΡΠΊΠ΅, ΠΈ ΠΏΠΎΡΠΎΠΌ Π·Π°Π»ΠΎΠΆΠΈΡ Π² ΠΊΠΎΠΌΠΏΠΎΡΡΠ½ΡΡ ΡΠΌΡ. Π’Π°ΠΊΠΈΠΌ ΠΎΠ±ΡΠ°Π·ΠΎΠΌ ΠΊΠΎΠΌΠΏΠΎΡΡ Π±ΡΡΡΡΠΎ ΠΏΠ΅ΡΠ΅Π³Π½ΠΈΠ²Π°Π΅Ρ ΠΈ ΠΏΡΠ΅Π²ΡΠ°ΡΠ°Π΅ΡΡΡ Π² ΡΠ΄ΠΎΠ±ΡΠ΅Π½ΠΈΡ, ΠΊΠΎΡΠΎΡΡΠ΅ Π±ΡΠ΄ΡΡ ΠΏΠΎΠ»Π΅Π·Π½Ρ Π΄Π»Ρ Π³ΡΡΠ΄ΠΎΠΊ. ΠΡΡΠ°ΡΡΠΈΡ Ρ ΠΎΡΠΎΡΠΈΠΉ ΡΡΠΎΠΆΠ°ΠΉ ΠΎΠ²ΠΎΡΠ΅ΠΉ ΠΈ ΠΏΠΎΡΠ°Π΄ΡΠ΅Ρ ΡΠΌΠ΅Π»ΡΡΠ°-Π΄Π°ΡΠ½ΠΈΠΊΠ°.
ΠΠ΅ΠΎΠ±Ρ ΠΎΠ΄ΠΈΠΌΠΎ Π±ΡΠ΄Π΅Ρ ΠΏΡΠΈΠ³ΠΎΡΠΎΠ²ΠΈΡΡ ΠΏΠ»Π°ΡΡΠΈΠΊΠΎΠ²ΡΡ Π±ΠΎΡΠΊΡ, Π² ΠΊΠΎΡΠΎΡΡΡ Π±ΡΠ΄Π΅Ρ ΡΠΎΠ±ΠΈΡΠ°ΡΡΡΡ ΠΈΠ·ΠΌΠ΅Π»ΡΡΠ΅Π½Π½Π°Ρ ΡΠΎΠ»ΠΎΠΌΠ° ΠΈΠ»ΠΈ ΡΡΠ°Π²Π°.
ΠΠΎΡΡΠ°ΠΏΠ½ΠΎΠ΅ ΠΈΠ·Π³ΠΎΡΠΎΠ²Π»Π΅Π½ΠΈΠ΅ ΠΈΠ·ΠΌΠ΅Π»ΡΡΠΈΡΠ΅Π»Ρ ΡΠΎΠ»ΠΎΠΌΡ ΡΠ²ΠΎΠΈΠΌΠΈ ΡΡΠΊΠ°ΠΌΠΈ
ΠΠ·ΠΌΠ΅Π»ΡΡΠΈΡΠ΅Π»Ρ ΠΈΠ·Π³ΠΎΡΠΎΠ²Π»ΡΠ΅ΡΡΡ Ρ ΠΈΡΠΏΠΎΠ»ΡΠ·ΠΎΠ²Π°Π½ΠΈΠ΅ΠΌ ΡΠ°ΠΊΠΈΡ ΠΌΠ°ΡΠ΅ΡΠΈΠ°Π»ΠΎΠ²:
β’ ΡΠ»Π΅ΠΊΡΡΠΎΠ΄Π²ΠΈΠ³Π°ΡΠ΅Π»Ρ;
β’ Π΄ΠΈΡΠΊΠ° Π½Π° ΡΠΈΡΠΊΡΠ»ΡΡΠ½ΡΡ ΠΏΠΈΠ»Ρ;
β’ ΠΌΠ΅ΡΠ°Π»Π»ΠΈΡΠ΅ΡΠΊΠΎΠ³ΠΎ Π»ΠΈΡΡΠ° ΡΠΎΠ»ΡΠΈΠ½ΠΎΠΉ 2β3 ΠΌΠΌ;
β’ ΡΠ³ΠΎΠ»ΠΊΠ°;
β’ Π±ΠΎΠ»ΡΠΎΠ², Π³Π°ΠΉΠ΅ΠΊ, ΡΠ°ΠΉΠ±.
ΠΠ΅ΡΠ΅ΡΠ΅Π½Ρ Π½Π΅ΠΎΠ±Ρ
ΠΎΠ΄ΠΈΠΌΡΡ
ΠΈΠ½ΡΡΡΡΠΌΠ΅Π½ΡΠΎΠ²:
β’ ΡΠ²Π°ΡΠΎΡΠ½ΡΠΉ ΠΈΠ½Π²Π΅ΡΡΠΎΡ;
β’ Π±ΠΎΠ»Π³Π°ΡΠΊΠ°;
β’ Π΄ΡΠ΅Π»Ρ;
β’ Π½Π°Π±ΠΎΡ Π³Π°Π΅ΡΠ½ΡΡ
ΠΊΠ»ΡΡΠ΅ΠΉ.
ΠΠ·ΡΠ»ΠΈ ΠΏΠΈΠ»ΡΠ½ΡΠΉ Π΄ΠΈΡΠΊ ΠΎΡ ΡΠΈΡΠΊΡΠ»ΡΡΠ½ΠΎΠΉ ΠΏΠΈΠ»Ρ, ΠΏΠΎ Π·Π°ΡΠ°Π½Π΅Π΅ ΠΏΠΎΠ΄Π³ΠΎΡΠΎΠ²Π»Π΅Π½Π½ΠΎΠΌΡ ΡΠ°Π±Π»ΠΎΠ½Ρ, Π±ΠΎΠ»Π³Π°ΡΠΊΠΎΠΉ Π²ΡΡΠ΅Π·Π°Π»ΠΈ Π²Π΅ΡΡΠΈΠΊΠ°Π»ΡΠ½ΡΠ΅ Π½ΠΎΠΆΠΈ.
ΠΠ°Π»Π΅Π΅ Π²ΡΠ΅Π·Π°Π½Π½ΡΠ΅ Π½ΠΎΠΆΠΈ Π·Π°ΠΊΡΠ΅ΠΏΠΈΠ»ΠΈ Π½Π° Π³ΠΎΡΠΈΠ·ΠΎΠ½ΡΠ°Π»ΡΠ½ΠΎΠΌ Π΄ΠΈΡΠΊΠ΅.
Π ΠΊΠΎΡΠΏΡΡΠ΅ ΡΠ°Π·ΠΌΠ΅ΡΠ΅Π½ Π΄ΠΈΡΠΊ Ρ Π½ΠΎΠΆΠ°ΠΌΠΈ, ΠΎΠ½ ΡΠ΅ΡΠ΅Π· Π²ΡΡΠ»ΠΊΡ ΡΠΎ ΡΠΏΠΎΠ½ΠΊΠΎΠΉ Π½Π°ΡΠ°ΠΆΠ΅Π½ Π½Π° Π²Π°Π» Π΄Π²ΠΈΠ³Π°ΡΠ΅Π»Ρ. Π‘Π°ΠΌ Π΄Π²ΠΈΠ³Π°ΡΠ΅Π»Ρ ΠΏΡΠΎΡΠ½ΠΎ Π·Π°ΠΊΡΠ΅ΠΏΠ»Π΅Π½ Π½Π° ΡΠ°ΠΌΠ΅ ΡΠΎΠ»ΠΎΠΌΠΎΡΠ΅Π·ΠΊΠΈ.
ΠΠΎΡΠΏΡΡ ΡΠΎΠ»ΠΎΠΌΠΎΡΠ΅Π·ΠΊΠΈ Π·Π°ΠΊΡΡΠ²Π°Π΅ΡΡΡ ΠΊΡΡΡΠΊΠΎΠΉ Ρ Π±ΡΠ½ΠΊΠ΅ΡΠΎΠΌ, Π² ΠΊΠΎΡΠΎΡΡΠΉ ΡΠ΄ΠΎΠ±Π½ΠΎ ΠΏΠΎΠΌΠ΅ΡΠ°ΡΡ Π±ΠΎΠ»ΡΡΠΈΠ΅ ΠΎΠ±ΡΠ΅ΠΌΡ ΡΠΎΠ»ΠΎΠΌΡ
Π ΠΈΡΠΎΠ³Π΅ ΠΌΡ ΠΈΠΌΠ΅Π΅Ρ Π²ΠΎΡ ΡΠ°ΠΊΡΡ ΠΏΡΠ°ΠΊΡΠΈΡΠ½ΡΡ ΡΠΎΠ»ΠΎΠΌΠΎΡΠ΅Π·ΠΊΡ, ΠΊΠΎΡΠΎΡΠ°Ρ ΠΏΠΎΠΌΠΎΠΆΠ΅Ρ Π²Π°ΠΌ ΠΈΠ·ΠΌΠ΅Π»ΡΡΠ°ΡΡ ΡΠΎΠ»ΠΎΠΌΡ, ΡΡΠ°Π²Ρ Π΄Π»Ρ ΠΊΠΎΠΌΠΏΠΎΡΡΠ½ΠΎΠΉ ΡΠΌΡ, Π²ΡΠΏΠΎΠ»Π½ΡΠ΅Ρ ΡΠ°Π±ΠΎΡΡ Π½Π΅ΠΎΠ±Ρ ΠΎΠ΄ΠΈΠΌΡΠ΅ Π½Π° ΡΡΠ°ΡΡΠΊΠ΅.
ΠΠ°ΠΊ ΡΠ°Π±ΠΎΡΠ°Π΅Ρ ΠΈΠ·ΠΌΠ΅Π»ΡΡΠΈΡΠ΅Π»Ρ ΡΠΎΠ»ΠΎΠΌΡ, ΡΠ΅Π½Π° ΠΏΠΎΠΊΠ°Π·Π°Π½ΠΎ Π½Π° Π²ΠΈΠ΄Π΅ΠΎ:
Π‘Π΅Π½ΠΎΠΈΠ·ΠΌΠ΅Π»ΡΡΠΈΡΠ΅Π»Ρ ΡΠ²ΠΎΠΈΠΌΠΈ ΡΡΠΊΠ°ΠΌΠΈ
ΠΠ°ΠΆΠ΄ΡΠΉ ΡΠ΅ΡΠΌΠ΅Ρ Π΄ΠΎΠ»ΠΆΠ΅Π½ ΠΈΠΌΠ΅ΡΡ Π² ΡΠ²ΠΎΠ΅ΠΌ ΡΠ°ΡΠΏΠΎΡΡΠΆΠ΅Π½ΠΈΠΈ Π±ΠΎΠ»ΡΡΠΎΠ΅ ΠΊΠΎΠ»ΠΈΡΠ΅ΡΡΠ²ΠΎ ΡΠ΅Ρ Π½ΠΈΠΊΠΈ. ΠΠ½Π° ΠΏΠΎΠ·Π²ΠΎΠ»ΡΠ΅Ρ Π΅ΠΌΡ ΡΡΡΠ΅ΡΡΠ²Π΅Π½Π½ΠΎ ΠΎΠ±Π»Π΅Π³ΡΠΈΡΡ ΡΠ΅Π»ΡΡΠΊΠΎΡ ΠΎΠ·ΡΠΉΡΡΠ²Π΅Π½Π½ΡΠ΅ ΡΠ°Π±ΠΎΡΡ. Π’Π°ΠΊ, ΡΡΠ΅Π±ΡΠ΅ΡΡΡ Π½Π°Π»ΠΈΡΠΈΠ΅ ΡΡΡΡΠΎΠΉΡΡΠ²Π° Π΄Π»Ρ ΠΈΠ·ΠΌΠ΅Π»ΡΡΠ΅Π½ΠΈΡ ΡΠ΅Π½Π°, ΠΊΠΎΡΠΎΡΠΎΠ΅ ΠΏΠΎΠ·Π²ΠΎΠ»ΡΠ΅Ρ ΡΡΠΊΠΎΠ½ΠΎΠΌΠΈΡΡ Π²ΡΠ΅ΠΌΡ ΠΈ ΡΠΈΠ»Ρ, Π·Π°ΡΡΠ°ΡΠ΅Π½Π½ΡΠ΅ Π½Π° ΡΡΠΎΡ ΠΏΡΠΎΡΠ΅ΡΡ. Π ΡΠΎΠΌΡ ΠΆΠ΅ ΠΌΠΎΠΆΠ½ΠΎ ΡΠ΄Π΅Π»Π°ΡΡ ΡΠ΅Π½ΠΎΠΈΠ·ΠΌΠ΅Π»ΡΡΠΈΡΠ΅Π»Ρ ΡΠ²ΠΎΠΈΠΌΠΈ ΡΡΠΊΠ°ΠΌΠΈ Π»ΠΈΠ±ΠΎ ΠΏΡΠΈΠΎΠ±ΡΠ΅ΡΡΠΈ Π³ΠΎΡΠΎΠ²ΡΠ΅ Π·Π°Π²ΠΎΠ΄ΡΠΊΠΈΠ΅ Π²Π°ΡΠΈΠ°Π½ΡΡ.
ΠΠ»Ρ ΡΠ΅Π³ΠΎ Π½ΡΠΆΠ΅Π½ ΠΈΠ·ΠΌΠ΅Π»ΡΡΠΈΡΠ΅Π»Ρ
ΠΠΎΠ΄ΠΎΠ±Π½Π°Ρ ΡΠ΅Ρ Π½ΠΈΠΊΠ° ΠΏΠΎΠ·Π²ΠΎΠ»ΡΠ΅Ρ ΠΌΡΠ»ΡΡΠΈΡΠΎΠ²Π°ΡΡ ΡΠΎΠ»ΠΎΠΌΡ, Ρ ΡΠ΅Π»ΡΡ Π΅Ρ Π΄Π°Π»ΡΠ½Π΅ΠΉΡΠ΅Π³ΠΎ ΠΏΡΠΈΠΌΠ΅Π½Π΅Π½ΠΈΡ Π² ΡΠ΅Π»ΡΡΠΊΠΎΡ ΠΎΠ·ΡΠΉΡΡΠ²Π΅Π½Π½ΡΡ ΡΠ°Π±ΠΎΡΠ°Ρ . ΠΠ·ΠΌΠ΅Π»ΡΡΠ΅Π½Π½ΠΎΠ΅ ΡΠ΅Π½ΠΎ ΠΈΡΠΏΠΎΠ»ΡΠ·ΡΠ΅ΡΡΡ:
- ΠΠ»Ρ ΠΏΡΠΈΠ³ΠΎΡΠΎΠ²Π»Π΅Π½ΠΈΡ ΠΊΠΎΡΠΌΠΎΠ² ΠΆΠΈΠ²ΠΎΡΠ½ΡΠΌ.
- Π§ΡΠΎΠ±Ρ ΡΠΎΠ·Π΄Π°ΡΡ ΡΠ»ΠΎΠΉ Π½Π°ΡΡΠΈΠ»Π° Π² Ρ Π»Π΅Π²Ρ.
- Π‘ ΡΠ΅Π»ΡΡ ΠΈΠ·Π³ΠΎΡΠΎΠ²Π»Π΅Π½ΠΈΡ ΠΊΠΎΠΌΠΏΠΎΡΡΠ°.
- ΠΠ»Ρ ΠΏΡΠΈΠ³ΠΎΡΠΎΠ²Π»Π΅Π½ΠΈΡ ΡΠΎΠΏΠ»ΠΈΠ²Π½ΡΡ Π±ΡΠΈΠΊΠ΅ΡΠΎΠ².
- Π§ΡΠΎΠ±Ρ Π½Π°ΠΊΡΡΡΡ Π·Π΅ΠΌΠ»Ρ Π½Π°Π΄ ΠΏΠΎΡΠ°ΠΆΠ΅Π½ΠΎΠΉ ΠΊΡΠ»ΡΡΡΡΠΎΠΉ.
Π‘ ΡΠ΅Π»ΡΡ ΠΏΡΠΎΠ²Π΅Π΄Π΅Π½ΠΈΡ ΠΏΠΎΠ»Π΅Π²ΡΡ ΡΠ°Π±ΠΎΡ ΡΠ΅ΠΊΠΎΠΌΠ΅Π½Π΄ΡΠ΅ΡΡΡ ΠΈΡΠΏΠΎΠ»ΡΠ·ΠΎΠ²Π°ΡΡ ΡΡΠ»ΠΎΠ½Π½ΡΠΉ ΠΈΠ·ΠΌΠ΅Π»ΡΡΠΈΡΠ΅Π»Ρ Π΄Π»Ρ ΡΠ΅Π½Π°. ΠΡΠΎ ΠΏΠΎΠ·Π²ΠΎΠ»ΠΈΡ Π²ΡΠ΅Π³ΠΎ Π·Π° ΠΎΠ΄ΠΈΠ½ Π²ΡΠ΅Π·Π΄ ΠΏΡΠΎΠ²Π΅ΡΡΠΈ ΠΎΠ±ΡΠ°Π±ΠΎΡΠΊΡ Π½Π΅ΡΠΊΠΎΠ»ΡΠΊΠΈΡ Π³Π΅ΠΊΡΠ°ΡΠΎΠ².
ΠΠ·ΠΌΠ΅Π»ΡΡΠΈΡΠ΅Π»Ρ Π³ΠΎΡΠΎΠ²ΠΈΡ ΡΠ΅Π½ΠΎ Π΄Π»Ρ Π΄Π°Π»ΡΠ½Π΅ΠΉΡΠΈΡ Π½ΡΠΆΠ΄
ΠΠΎΠ½ΡΡΡΡΠΊΡΠΈΠ²Π½ΡΠ΅ ΠΎΡΠΎΠ±Π΅Π½Π½ΠΎΡΡΠΈ
ΠΡΠ΅Π³ΠΎ ΠΆΠ΅, ΠΊΠΎΠ½ΡΡΡΡΠΊΡΠΈΡ Π°Π³ΡΠ΅Π³Π°ΡΠ° ΡΠΎΡΡΠΎΠΈΡ ΠΈΠ· ΡΠ»Π΅Π΄ΡΡΡΠΈΡ ΠΊΠΎΠΌΠΏΠΎΠ½Π΅Π½ΡΠΎΠ²:
- ΡΠΈΠ»ΠΎΠ²Π°Ρ ΡΡΡΠ°Π½ΠΎΠ²ΠΊΠ°, ΠΌΠΎΡΠ½ΠΎΡΡΡ ΠΊΠΎΡΠΎΡΠΎΠΉ ΠΎΠΏΡΠ΅Π΄Π΅Π»ΡΠ΅Ρ ΡΠΊΠΎΡΠΎΡΡΡ ΠΏΠ΅ΡΠ΅ΡΠ°Π±ΠΎΡΠΊΠΈ ΡΠΎΠ»ΠΎΠΌΡ;
- Π΅ΠΌΠΊΠΎΡΡΡ, ΠΊΡΠ΄Π° ΡΠΊΠ»Π°Π΄ΡΠ²Π°Π΅ΡΡΡ ΡΡΠ΅Π±ΡΡΡΠΈΠΉ ΠΎΠ±ΡΠ°Π±ΠΎΡΠΊΠΈ ΠΌΠ°ΡΠ΅ΡΠΈΠ°Π». ΠΠ΅Π»Π°ΡΡ Π΅Ρ Π² ΡΠ°Π·Π½ΡΡ ΡΠΎΡΠΌΠ°Ρ ΠΈ ΡΠ°Π·ΠΌΠ΅ΡΠ°Ρ ;
- Π²Π°Π», ΠΊΡΠ΄Π° ΡΡΡΠ°Π½Π°Π²Π»ΠΈΠ²Π°ΡΡΡΡ Π½ΠΎΠΆΠΈ, Π° ΡΠ°ΠΊΠΆΠ΅ ΠΊΠΎΠ½ΡΡΠ½ΠΎΠΆΠΈ. ΠΡ ΡΡΠ΅Π±ΡΠ΅ΡΡΡ Π΄Π΅Π»Π°ΡΡ ΠΈΠ· ΠΏΡΠΎΡΠ½ΠΎΠΉ ΡΡΠ°Π»ΠΈ ΠΈ ΠΏΠ΅ΡΠ΅Π΄ ΠΈΡΠΏΠΎΠ»ΡΠ·ΠΎΠ²Π°Π½ΠΈΠ΅ΠΌ Ρ ΠΎΡΠΎΡΠΎ Π·Π°ΡΠΎΡΠΈΡΡ;
- ΡΠΏΠ΅ΡΠΈΠ°Π»ΡΠ½ΡΠΉ Π±ΡΠ½ΠΊΠ΅Ρ, Π³Π΄Π΅ Π±ΡΠ΄Π΅Ρ ΡΠΎΠ±ΠΈΡΠ°ΡΡΡΡ ΠΎΠ±ΡΠ°Π±ΠΎΡΠ°Π½Π½ΠΎΠ΅ ΡΡΡΡΠ΅. ΠΠ³ΠΎ ΡΠ΅ΠΊΠΎΠΌΠ΅Π½Π΄ΡΠ΅ΡΡΡ ΡΡΡΠ°Π½Π°Π²Π»ΠΈΠ²Π°ΡΡ ΠΏΠΎΠ΄ Π½Π΅Π±ΠΎΠ»ΡΡΠΈΠΌ ΡΠ³Π»ΠΎΠΌ;
- ΠΎΠΏΠΎΡΡ, Π²ΡΠΏΠΎΠ»Π½Π΅Π½Π½ΡΠ΅ ΠΈΠ· ΡΡΡΠ±, ΠΈΠΌΠ΅ΡΡΠΈΡ Π΄ΠΈΠ°ΠΌΠ΅ΡΡ Π±ΠΎΠ»Π΅Π΅ 2,5 ΡΠΌ, Π° ΠΏΠΎΠΊΠ°Π·Π°ΡΠ΅Π»ΠΈ Π²ΡΡΠΎΡΡ ΠΎΠΏΡΠ΅Π΄Π΅Π»ΡΠ΅ΡΡΡ ΡΠ°Π·ΠΌΠ΅ΡΠ°ΠΌΠΈ ΡΠΈΠ»ΠΎΠ²ΠΎΠΉ ΡΡΡΠ°Π½ΠΎΠ²ΠΊΠΈ.
ΠΠΎΠΏΡΠ»ΡΡΠ½ΡΠ΅ Π·Π°Π²ΠΎΠ΄ΡΠΊΠΈΠ΅ ΠΌΠΎΠ΄Π΅Π»ΠΈ
ΠΠΎΠ³Π΄Π° Π½Π΅Ρ ΠΆΠ΅Π»Π°Π½ΠΈΡ ΡΠ°ΠΌΠΎΡΡΠΎΡΡΠ΅Π»ΡΠ½ΠΎ Π΄Π΅Π»Π°ΡΡ ΡΠ΅Π½ΠΎΠ΄ΡΠΎΠ±ΠΈΠ»ΠΊΠΈ Π΄Π»Ρ Π΄ΠΎΠΌΠ°, ΠΌΠΎΠΆΠ½ΠΎ Π²ΡΠ±ΡΠ°ΡΡ Π³ΠΎΡΠΎΠ²ΡΠ΅ ΡΡΡΡΠΎΠΉΡΡΠ²Π°, ΠΏΡΠ΅Π΄ΡΡΠ°Π²Π»Π΅Π½Π½ΡΠ΅ Π² ΠΌΠ°Π³Π°Π·ΠΈΠ½Π°Ρ . ΠΠ°ΠΈΠ±ΠΎΠ»Π΅Π΅ ΡΠ°ΡΠΏΡΠΎΡΡΡΠ°Π½Π΅Π½Π½ΡΠΌΠΈ ΠΌΠΎΠ΄Π΅Π»ΡΠΌΠΈ ΡΡΠΈΡΠ°ΡΡΡΡ ΡΠ»Π΅Π΄ΡΡΡΠΈΠ΅ Π²Π°ΡΠΈΠ°Π½ΡΡ:
- Π15. ΠΠ³ΡΠ΅Π³Π°Ρ ΠΎΠ±ΠΎΡΡΠ΄ΠΎΠ²Π°Π½ ΠΎΡΡΡΡΠΌΠΈ Π½ΠΎΠΆΠ°ΠΌΠΈ, Π²ΡΠΏΠΎΠ»Π½Π΅Π½Π½ΡΠΌΠΈ ΠΈΠ· Π²ΡΡΠΎΠΊΠΎΠΏΡΠΎΡΠ½ΠΎΠΉ ΡΡΠ°Π»ΠΈ, Π° ΡΠ°ΠΊΠΆΠ΅ Π½Π°Π΄Π΅ΠΆΠ½ΡΠΌ ΡΠ»Π΅ΠΊΡΡΠΎΠ΄Π²ΠΈΠ³Π°ΡΠ΅Π»Π΅ΠΌ, Π²ΡΠ΄Π°ΡΡΠΈΠΌ 3 ΠΊΠΡ ΠΌΠΎΡΠ½ΠΎΡΡΠΈ. Π ΡΠΎΠΌΡ ΠΆΠ΅ ΡΡΡΡΠΎΠΉΡΡΠ²ΠΎ ΠΈΠΌΠ΅Π΅Ρ ΡΠ΄ΠΎΠ±Π½ΡΠΉ Π±ΡΠ½ΠΊΠ΅Ρ, ΠΊΡΠ΄Π° ΠΏΠΎΠ΄Π°Π΅ΡΡΡ ΡΡΡΡΠ΅. ΠΡΠ΅Π³ΠΎ ΠΆΠ΅, ΠΈΡΠΏΠΎΠ»ΡΠ·ΡΡ Π15, ΠΌΠΎΠΆΠ½ΠΎ ΠΎΠ±ΡΠ°Π±Π°ΡΡΠ²Π°ΡΡ ΡΠΎΠ»ΠΎΠΌΡ, ΡΠ΅Π½ΠΎ, Π° ΡΠ°ΠΊΠΆΠ΅ ΡΠΎΠ½ΠΊΠΈΠ΅ Π²Π΅ΡΠΊΠΈ. Π‘ΠΊΠΎΡΠΎΡΡΡ Π²ΡΠ°ΡΠ΅Π½ΠΈΡ Π±Π°ΡΠ°Π±Π°Π½Π° ΡΠΎΡΡΠ°Π²Π»ΡΠ΅Ρ 1500 ΠΎΠ±ΠΎΡΠΎΡΠΎΠ², Π° Π²Π΅Ρ ΠΏΠΎΠ΄ΠΎΠ±Π½ΠΎΠ³ΠΎ Π°Π³ΡΠ΅Π³Π°ΡΠ° ΠΏΠΎΡΡΠΈ 130 ΠΊΠ³.
- ΠΠ 02. Π£ΡΡΡΠΎΠΉΡΡΠ²ΠΎ ΠΎΡΠ΅Π½Ρ ΠΊΠΎΠΌΠΏΠ°ΠΊΡΠ½ΠΎ, Π½ΠΎ ΠΈΠΌΠ΅Π΅Ρ Π²ΡΡΠΎΠΊΡΡ ΠΏΡΠΎΠΈΠ·Π²ΠΎΠ΄ΠΈΡΠ΅Π»ΡΠ½ΠΎΡΡΡ. ΠΠ° ΡΡΠ΅Ρ Π½Π°Π»ΠΈΡΠΈΡ ΠΌΠΎΡΠ½ΠΎΡΡΠΈ Π² 1,54 ΠΊΠΡ, ΠΌΠΎΠ΄Π΅Π»Ρ ΡΠΏΠΎΡΠΎΠ±Π½Π° ΠΏΠ΅ΡΠ΅ΡΠ°Π±Π°ΡΡΠ²Π°ΡΡ ΠΊΠ°ΠΆΠ΄ΡΠΉ ΡΠ°Ρ ΠΏΠΎΡΡΠ΄ΠΊΠ° 250 ΠΊΠ³ ΠΌΠ°ΡΠ΅ΡΠΈΠ°Π»Π°. ΠΠΎΠΆΠ½ΠΎ Π·Π°ΠΏΡΡΠΊΠ°ΡΡ ΠΎΡ ΡΠ΅ΡΠΈ 220Π.
- Π-500. ΠΠ³ΡΠ΅Π³Π°Ρ, ΠΌΠΎΡΠ½ΠΎΡΡΡΡ 2 ΠΊΠΡ, ΠΏΠΎΠ·Π²ΠΎΠ»ΡΡΡΠΈΠΉ Π·Π° ΠΎΠ΄ΠΈΠ½ ΡΠ°Ρ ΠΎΠ±ΡΠ°Π±ΠΎΡΠ°ΡΡ ΠΏΠΎΡΡΠ΄ΠΊΠ° 300 ΠΊΠ³ ΡΡΡΡΡ. ΠΠ° ΡΡΠ΅Ρ ΡΡΠΎΠ³ΠΎ ΡΡΡΡΠΎΠΉΡΡΠ²ΠΎ ΠΏΠΎΠ΄ΠΎΠΉΠ΄Π΅Ρ Π΄Π»Ρ ΠΈΡΠΏΠΎΠ»ΡΠ·ΠΎΠ²Π°Π½ΠΈΡ Π² Ρ ΠΎΠ·ΡΠΉΡΡΠ²Π΅, Π³Π΄Π΅ Π΅ΡΡΡ Π·Π½Π°ΡΠΈΡΠ΅Π»ΡΠ½ΠΎΠ΅ ΠΊΠΎΠ»ΠΈΡΠ΅ΡΡΠ²ΠΎ ΡΠΊΠΎΡΠ°.
Π‘Π°ΠΌΠΎΡΡΠΎΡΡΠ΅Π»ΡΠ½ΠΎΠ΅ ΠΈΠ·Π³ΠΎΡΠΎΠ²Π»Π΅Π½ΠΈΠ΅
Π‘ ΠΈΡΠΏΠΎΠ»ΡΠ·ΠΎΠ²Π°Π½ΠΈΠ΅ΠΌΒ ΠΊΠ»Π°ΡΡΠΈΡΠ΅ΡΠΊΠΈΡ ΡΠ΅ΡΡΠ΅ΠΆΠ΅ΠΉ ΠΈΠ·ΠΌΠ΅Π»ΡΡΠΈΡΠ΅Π»Ρ ΡΠ΅Π½Π° ΠΈ ΡΠΎΠ»ΠΎΠΌΡ, ΡΠ²ΠΎΠΈΠΌΠΈ ΡΡΠΊΠ°ΠΌΠΈ Π΅Π³ΠΎ ΡΠΎΠ·Π΄Π°Π½ΠΈΠ΅ ΠΏΡΠΎΠΈΡΡ ΠΎΠ΄ΠΈΡ ΡΠ»Π΅Π΄ΡΡΡΠΈΠΌ ΠΎΠ±ΡΠ°Π·ΠΎΠΌ:
- Π‘Π½Π°ΡΠ°Π»Π° ΡΡΠΎΠΈΡ Π½Π°ΠΉΡΠΈ ΠΏΠΎΠ΄Ρ ΠΎΠ΄ΡΡΡΡ ΡΠΈΠ»ΠΎΠ²ΡΡ ΡΡΡΠ°Π½ΠΎΠ²ΠΊΡ. ΠΠΎΠ³Π΄Π° ΡΡΠ΅Π±ΡΠ΅ΡΡΡ ΠΎΠ±ΡΠ°Π±Π°ΡΡΠ²Π°ΡΡ ΠΏΠΎΡΡΠ΄ΠΊΠ° 200 Π» ΡΡΡΡΡ, ΡΠ΅ΠΊΠΎΠΌΠ΅Π½Π΄ΡΠ΅ΡΡΡ Π²ΡΠ±ΠΈΡΠ°ΡΡ Π²Π°ΡΠΈΠ°Π½ΡΡ, Π²ΡΠ΄Π°ΡΡΠΈΠ΅ ΠΌΠΎΡΠ½ΠΎΡΡΡ Π±ΠΎΠ»ΡΡΠ΅ 2 ΠΊΠΡ. Π§Π΅ΠΌ Π±ΠΎΠ»ΡΡΠ΅ Π±ΡΠ΄Π΅Ρ ΡΡΠΎ Π·Π½Π°ΡΠ΅Π½ΠΈΠ΅, ΡΠ΅ΠΌ Π±ΡΡΡΡΠ΅Π΅ Π±ΡΠ΄Π΅Ρ ΠΏΡΠΎΠΈΡΡ ΠΎΠ΄ΠΈΡΡ ΠΏΠ΅ΡΠ΅ΡΠ°Π±ΠΎΡΠΊΠ°.
- Π§ΡΠΎΠ±Ρ ΠΏΠΎΠ΄Π³ΠΎΡΠΎΠ²ΠΈΡΡ Π½Π΅ΠΎΠ±Ρ ΠΎΠ΄ΠΈΠΌΡΠ΅ Π΄Π΅ΡΠ°Π»ΠΈ, ΡΡΠΎΠΈΡ ΠΏΡΠΈΠΌΠ΅Π½ΡΡΡ ΠΌΠ΅ΡΠ°Π»Π», ΠΈΠΌΠ΅ΡΡΠΈΠΉ ΡΠΎΠ»ΡΠΈΠ½Ρ Π±ΠΎΠ»ΡΡΠ΅ 0,3 ΠΌΠΌ. Π‘ ΡΠ΅Π»ΡΡ ΡΠΎΠΎΡΡΠΆΠ΅Π½ΠΈΡ ΠΎΠΏΠΎΡ ΡΡΠΎΠΈΡ Π²ΡΠ±ΠΈΡΠ°ΡΡ Π΅ΡΠ΅ Π±ΠΎΠ»Π΅Π΅ ΡΠΎΠ»ΡΡΡΠ΅ ΠΈΠ·Π΄Π΅Π»ΠΈΡ.
- Π Π°Π±ΠΎΡΠ°Ρ Π΅ΠΌΠΊΠΎΡΡΡ β ΡΡΠΎ ΠΌΠ΅ΡΠ°Π»Π»ΠΈΡΠ΅ΡΠΊΠΈΠΉ ΡΠΈΠ»ΠΈΠ½Π΄Ρ, Π³Π΄Π΅ Π½Π°Ρ ΠΎΠ΄ΠΈΡΡΡ Π΄ΠΈΡΠΊΒ Ρ ΡΡΡΠ°Π½ΠΎΠ²Π»Π΅Π½Π½ΡΠΌΠΈ ΠΎΡΡΡΡΠΌΠΈ Π½ΠΎΠΆΠ°ΠΌΠΈ. ΠΡΡ, ΠΈΠ΄ΡΡΠ°Ρ ΠΎΡ Π½Π΅Π³ΠΎ, Π½Π°Π΄Π΅ΠΆΠ½ΠΎ ΠΏΠΎΠ΄ΠΊΠ»ΡΡΠ°Π΅ΡΡΡ ΠΊ ΡΠ»Π΅ΠΊΡΡΠΎΠΌΠΎΡΠΎΡΡ.
- Π Π²ΠΈΠ΄Π΅ Π·Π°Π³ΡΡΠ·ΠΎΡΠ½ΠΎΠΉ Π΅ΠΌΠΊΠΎΡΡΠΈ ΠΈΡΠΏΠΎΠ»ΡΠ·ΡΡΡ ΠΎΠ±ΡΡΠ½ΡΡ ΠΌΠ΅ΡΠ°Π»Π»ΠΈΡΠ΅ΡΠΊΡΡ Π±ΠΎΡΠΊΡ.
- Π‘Π½ΠΈΠ·Ρ ΠΊ ΡΠ°Π±ΠΎΡΠ΅ΠΉ ΡΠ°ΡΡΠΈ ΠΏΡΠΈΠ²Π°ΡΠΈΠ²Π°ΡΡΡΡ ΠΎΠΏΠΎΡΡ, ΠΏΠΎΡΠ»Π΅ ΡΠ΅Π³ΠΎ ΠΊ Π½ΠΈΠΌ Π·Π° ΡΡΠ΅Ρ Π±ΠΎΠ»ΡΠΎΠ², ΠΊΡΠ΅ΠΏΠΈΡΡΡ ΡΠΈΠ»ΠΎΠ²Π°Ρ ΡΡΡΠ°Π½ΠΎΠ²ΠΊΠ°.
- Π ΠΊΠΎΠ½ΡΠ΅ ΠΏΠΎΠ΄ΠΊΠ»ΡΡΠ°Π΅ΡΡΡ ΡΠ»Π΅ΠΊΡΡΠΎΠ½ΠΈΠΊΠ°, Π½ΠΎ ΡΠΎΠ»ΡΠΊΠΎ ΠΏΠΎΡΠ»Π΅ ΡΠ΅ΡΠΊΠΎΠΉ ΡΠΈΠΊΡΠ°ΡΠΈΠΈ Π²ΡΠ΅Ρ ΡΠ»Π΅ΠΌΠ΅Π½ΡΠΎΠ².
Π‘Π±ΠΎΡ ΠΊΠΎΠ½ΡΡΡΡΠΊΡΠΈΠΈ Π²Π°ΠΆΠ½ΠΎ ΠΎΡΡΡΠ΅ΡΡΠ²Π»ΡΡΡ Π² ΡΠ΅ΡΠΊΠΎΠΌ ΡΠΎΠΎΡΠ²Π΅ΡΡΡΠ²ΠΈΠΈ Ρ ΠΈΠΌΠ΅ΡΡΠΈΠΌΠΈΡΡ ΡΠ΅ΡΡΠ΅ΠΆΠ°ΠΌΠΈ.
ΠΠΎΠ³ΡΡΠ·ΠΎΡΠ½Π°Ρ Π΅ΠΌΠΊΠΎΡΡΡ
ΠΠ½ΡΡΡΡΠΌΠ΅Π½ΡΡ ΠΈ ΠΌΠ°ΡΠ΅ΡΠΈΠ°Π»Ρ
ΠΠΎ ΡΠΎΠ³ΠΎ, ΠΊΠ°ΠΊ ΡΠ΄Π΅Π»Π°ΡΡ ΡΠ΅Π½ΠΎΠ΄ΡΠΎΠ±ΠΈΠ»ΠΊΡ ΡΠ²ΠΎΠΈΠΌΠΈ ΡΡΠΊΠ°ΠΌΠΈ, ΡΡΠ΅Π±ΡΠ΅ΡΡΡ ΠΏΠΎΠ΄Π³ΠΎΡΠΎΠ²ΠΈΡΡ Π½Π΅ΠΎΠ±Ρ ΠΎΠ΄ΠΈΠΌΡΠΉ ΠΈΠ½ΡΡΡΡΠΌΠ΅Π½Ρ. ΠΡΠ΅ΠΆΠ΄Π΅ Π²ΡΠ΅Π³ΠΎ, ΠΏΠΎΡΡΠ΅Π±ΡΠ΅ΡΡΡ ΡΠ²Π°ΡΠΎΡΠ½ΡΠΉ Π°ΠΏΠΏΠ°ΡΠ°Ρ, Π΄ΡΠ΅Π»Ρ, Π° ΡΠ°ΠΊΠΆΠ΅ ΡΠ»ΠΈΡΠΎΠ²Π°Π»ΡΠ½Π°Ρ ΠΌΠ°ΡΠΈΠ½Π°. ΠΡΠ»ΠΈ ΠΆΠ΅ Π³ΠΎΠ²ΠΎΡΠΈΡΡ ΠΎ ΠΌΠ°ΡΠ΅ΡΠΈΠ°Π»Π°Ρ , ΡΠΎ ΠΈΡ Π½Π°Π±ΠΎΡ Π·Π°Π²ΠΈΡΠΈΡ ΠΎΡ ΡΠΎΠ³ΠΎ, ΠΈΠ· ΡΠ΅Π³ΠΎ Π±ΡΠ΄Π΅Ρ ΡΠΎΠΎΡΡΠΆΠ°ΡΡΡΡ ΠΏΠΎΠ΄ΠΎΠ±Π½Π°Ρ ΠΊΠΎΠ½ΡΡΡΡΠΊΡΠΈΡ. ΠΠΎΠΆΠΈ ΡΡΠ΅Π±ΡΠ΅ΡΡΡ Π²ΡΠ±ΠΈΡΠ°ΡΡ, ΡΠ΄Π΅Π»Π°Π½Π½ΡΠ΅ ΠΈΠ· Π²ΡΡΠΎΠΊΠΎΠΊΠ°ΡΠ΅ΡΡΠ²Π΅Π½Π½ΠΎΠΉ ΡΡΠ°Π»ΠΈ ΠΊΠ»Π°ΡΡΠ° Π‘Π’45. ΠΡΠΎΠΌΠ΅ ΡΡΠΎΠ³ΠΎ, ΠΈΡ ΠΌΠΎΠΆΠ½ΠΎ Π²ΡΡΠ΅Π·Π°ΡΡ ΠΈΠ· Π½ΠΎΠ²ΠΎΠΉ ΡΠΈΡΠΊΡΠ»ΡΡΠ½ΠΎΠΉ ΠΏΠΈΠ»Ρ Π»ΠΈΠ±ΠΎ ΠΈΡ Π½ΠΎΠΆΠΎΠ²ΠΎΡΠ½ΡΡ ΠΏΠΎΠ»ΠΎΡΠ΅Π½.
ΠΠ³ΡΠ΅Π³Π°Ρ ΠΈΠ· ΠΏΡΠ»Π΅ΡΠΎΡΠ°
ΠΡΡΡ Π²ΠΎΠ·ΠΌΠΎΠΆΠ½ΠΎΡΡΡ ΡΠ°ΠΌΠΎΡΡΠΎΡΡΠ΅Π»ΡΠ½ΠΎ ΡΠΎΠ±ΡΠ°ΡΡ ΠΈΠ·ΠΌΠ΅Π»ΡΡΠΈΡΠ΅Π»Ρ Π½Π° ΠΎΡΠ½ΠΎΠ²Π΅ ΠΏΡΠ»Π΅ΡΠΎΡΠ°. Π‘ ΡΡΠΎΠΉ ΡΠ΅Π»ΡΡ ΠΈΡΠΏΠΎΠ»ΡΠ·ΡΠ΅ΡΡΡ Π±ΡΡΠΎΠ²ΠΎΠ΅ ΡΡΡΡΠΎΠΉΡΡΠ²ΠΎ Β«Π’Π°ΠΉΡΡΠ½Β». ΠΡΠΎ ΠΎΠ±ΡΡΠ»ΠΎΠ²Π»Π΅Π½ΠΎ Π½Π°Π»ΠΈΡΠΈΠ΅ΠΌ Ρ Π½Π΅Π³ΠΎ Π² Π½Π΅ΡΠΊΠΎΠ»ΡΠΊΠΎ ΡΠ°Π· Π±ΠΎΠ»ΡΡΠ΅ΠΉ ΠΏΡΠΎΠΈΠ·Π²ΠΎΠ΄ΠΈΡΠ΅Π»ΡΠ½ΠΎΡΡΠΈ, Π½Π΅ΠΆΠ΅Π»ΠΈ Ρ ΠΊΠ»Π°ΡΡΠΈΡΠ΅ΡΠΊΠΈΡ ΠΌΠΎΠ΄Π΅Π»Π΅ΠΉ, Π·Π° ΡΡΠ΅Ρ Π²ΡΡΠΎΠΊΠΎΠΉ ΠΌΠΎΡΠ½ΠΎΡΡΠΈ ΡΠΈΠ»ΠΎΠ²ΠΎΠΉ ΡΡΡΠ°Π½ΠΎΠ²ΠΊΠΈ. Π Π²ΠΈΠ΄Π΅ ΡΠ°ΡΡ Π½Π΅ ΡΠ΅ΠΊΠΎΠΌΠ΅Π½Π΄ΡΠ΅ΡΡΡ ΠΏΡΠΈΠΌΠ΅Π½ΡΡΡ Π²Π΅Π΄ΡΠΎ. ΠΠ½Π° Π΄ΠΎΠ»ΠΆΠ½Π° ΠΏΠΎΠ·Π²ΠΎΠ»ΡΡΡ Π·Π°ΡΡΠΏΠ°ΡΡ ΡΠΎΠ»ΠΎΠΌΡ ΡΠ²Π΅ΡΡ Ρ, ΡΡΠΎΠ±Ρ ΠΎΠ±ΡΠ°Π±ΠΎΡΠ°Π½Π½ΡΠΉ ΠΌΠ°ΡΠ΅ΡΠΈΠ°Π» Π²ΡΡ ΠΎΠ΄ΠΈΠ» ΠΏΠΎΡΡΠ΅Π΄ΡΡΠ²ΠΎΠΌ Π±ΠΎΠΊΠΎΠ²ΠΎΠ³ΠΎ ΠΎΡΠ²Π΅ΡΡΡΠΈΡ. ΠΠΎΡΡΠΎΠΌΡ ΡΡΠΎΠΈΡ ΡΠΎΠ·Π΄Π°Π²Π°ΡΡ ΠΊΠΎΠ½ΡΡΡΡΠΊΡΠΈΡ, Π³Π΄Π΅ ΠΏΡΠΈΡΡΡΡΡΠ²ΡΠ΅Ρ Π·Π°ΡΠΈΡΠ½ΡΠΉ ΠΊΠΎΠΆΡΡ , ΠΏΡΠ΅ΠΏΡΡΡΡΠ²ΡΡΡΠΈΠΉ ΡΠ°Π·Π±ΡΠ°ΡΡΠ²Π°Π½ΠΈΡ ΡΠ»Π΅ΠΌΠ΅Π½ΡΠΎΠ² Π² ΠΏΡΠΎΡΠ΅ΡΡΠ΅ ΠΈΡ ΠΈΠ·ΠΌΠ΅Π»ΡΡΠ΅Π½ΠΈΡ.
ΠΠΎ ΡΠ²ΠΎΠ΅ΠΌΡ Π²Π½Π΅ΡΠ½Π΅ΠΌΡ Π²ΠΈΠ΄Ρ Π°Π³ΡΠ΅Π³Π°Ρ Π½Π΅Π»ΡΠ·Ρ ΡΡΠ°Π²Π½ΠΈΡΡ Ρ ΠΏΠΎΠΊΡΠΏΠ½ΡΠΌΠΈ Π°Π½Π°Π»ΠΎΠ³Π°ΠΌΠΈ, Π½ΠΎ ΠΏΠΎ ΡΡΠ½ΠΊΡΠΈΠΎΠ½ΠΈΡΠΎΠ²Π°Π½ΠΈΡ ΠΌΠ°Π»ΠΎ ΡΠ΅ΠΌ ΡΡΡΡΠΏΠ°Π΅Ρ. ΠΠΎΠ΄ΠΎΠ±Π½Π°Ρ ΡΠ΅Ρ Π½ΠΈΠΊΠ° ΠΏΠΎΠ·Π²ΠΎΠ»ΠΈΡ ΠΎΠ±Π΅ΡΠΏΠ΅ΡΠΈΡΡ ΠΌΠ°Π»Π΅Π½ΡΠΊΠΎΠ΅ ΡΠ΅ΡΠΌΠ΅ΡΡΠΊΠΎΠ΅ Ρ ΠΎΠ·ΡΠΉΡΡΠ²ΠΎ ΠΈΠ·ΠΌΠ΅Π»ΡΡΠ΅Π½Π½ΡΠΌ ΡΠ΅Π½ΠΎΠΌ Π»ΠΈΠ±ΠΎ ΡΠΎΠ»ΠΎΠΌΠΎΠΉ.
ΠΠ·Π³ΠΎΡΠΎΠ²Π»Π΅Π½ΠΈΠ΅ Π½ΠΎΠΆΠ΅ΠΉ
ΠΠ»Π°Π²Π½ΡΠΌ ΡΠ»Π΅ΠΌΠ΅Π½ΡΠΎΠΌ Π΄Π»Ρ ΠΈΠ·ΠΌΠ΅Π»ΡΡΠΈΡΠ΅Π»ΡΠ½ΠΎΠΉ ΡΠ΅Ρ Π½ΠΈΠΊΠΈ ΡΡΠΈΡΠ°ΡΡΡΡ Π½ΠΎΠΆΠΈ. ΠΠ»Ρ ΠΈΡ ΡΠΎΠ·Π΄Π°Π½ΠΈΡ ΡΡΠ΅Π±ΡΠ΅ΡΡΡ ΠΏΡΠΈΠΌΠ΅Π½ΡΡΡ ΡΠΏΠ΅ΡΠΈΠ°Π»ΡΠ½ΡΠΉ ΠΌΠ°ΡΠ΅ΡΠΈΠ°Π», ΠΊΠΎΡΠΎΡΡΠΉ Π½Π°Π·ΡΠ²Π°Π΅ΡΡΡ Π½ΠΎΠΆΠΎΠ²ΠΎΡΠ½ΠΎΠ΅ ΠΏΠΎΠ»ΠΎΡΠ½ΠΎ. ΠΡΠΏΠΎΠ»ΡΠ·ΡΡ Π±ΠΎΠ»Π³Π°ΡΠΊΡ, ΠΏΡΠΎΠ²ΠΎΠ΄ΠΈΡΡΡ Π²ΡΡΠ΅Π·ΠΊΠ° Π½ΡΠΆΠ½ΠΎΠ³ΠΎ ΠΊΠΎΠ»ΠΈΡΠ΅ΡΡΠ²Π° Π·Π°Π³ΠΎΡΠΎΠ²ΠΎΠΊ (Π²ΡΠ΅Π³ΠΎ ΠΈΡ ΡΡΠ΅Π±ΡΠ΅ΡΡΡ 4 ΡΡ.). ΠΡΠΈ ΡΡΠΎΠΌ ΠΏΠΎ ΡΠ΅Π½ΡΡΡ ΠΊΠ°ΠΆΠ΄ΠΎΠΉ ΠΈΠ· Π½ΠΈΡ Π΄Π΅Π»Π°Π΅ΡΡΡ ΠΎΡΠ²Π΅ΡΡΡΠΈΠ΅ ΠΊΠ²Π°Π΄ΡΠ°ΡΠ½ΠΎΠ³ΠΎ ΡΠΈΠΏΠ° Ρ ΡΠ°Π·ΠΌΠ΅ΡΠΎΠΌ ΡΡΠΎΡΠΎΠ½ Π² 2,6 ΡΠΌ. ΠΠ°ΡΠ°ΠΌΠ΅ΡΡΡ ΡΠΈΡΠΈΠ½Ρ ΠΎΠΏΡΠ΅Π΄Π΅Π»ΡΡΡΡΡ ΠΆΠ΅ΡΡΠΊΠΎΡΡΡΡ ΠΏΡΠΈΠΌΠ΅Π½ΡΠ΅ΠΌΠΎΠ³ΠΎ ΠΌΠ°ΡΠ΅ΡΠΈΠ°Π»Π°. ΠΠΎΡΠ»Π΅ ΡΡΠΎΠ³ΠΎ Π½ΠΎΠΆΠΈ ΡΠΎΡΠ°ΡΡΡ ΠΈ ΡΠ°Π·ΠΌΠ΅ΡΠ°ΡΡΡΡ Π² Π½ΠΈΠΆΠ½Π΅ΠΉ ΡΠ°ΡΡΠΈ ΡΠ°Π±ΠΎΡΠ΅ΠΉ Π΅ΠΌΠΊΠΎΡΡΠΈ.
Π‘Π»Π΅Π΄ΡΠ΅Ρ ΡΡΠ°ΡΠ΅Π»ΡΠ½ΠΎ ΠΏΡΠΎΠ΄ΡΠΌΠ°ΡΡ Π²ΡΡ ΠΊΠΎΠ½ΡΡΡΡΠΊΡΠΈΡ, Π½Π° ΠΊΠΎΡΠΎΡΠΎΠΉ Π±ΡΠ΄Π΅Ρ ΠΊΡΠ΅ΠΏΠΈΡΡΡΡ ΠΈΠ·ΠΌΠ΅Π»ΡΡΠΈΡΠ΅Π»Ρ. ΠΠ»Ρ ΡΠΎΠ·Π΄Π°Π½ΠΈΡ Ρ ΠΎΡΠΎΡΠ΅ΠΉ ΡΡΡΠΎΠΉΡΠΈΠ²ΠΎΡΡΠΈ ΡΡΠΎΠΈΡ ΡΠ΄Π΅Π»Π°ΡΡ Π±ΠΎΠ»Π΅Π΅ ΠΊΡΡΠΏΠ½ΡΠ΅ ΠΎΠΏΠΎΡΡ, Π½Π΅ΠΆΠ΅Π»ΠΈ ΡΠ°ΠΌ Π°Π³ΡΠ΅Π³Π°Ρ. ΠΡΠ΅ΠΏΠ»Π΅Π½ΠΈΠ΅ ΡΠ΅ΠΊΠΎΠΌΠ΅Π½Π΄ΡΠ΅ΡΡΡ Π²ΡΠΏΠΎΠ»Π½ΡΡΡ ΠΏΠΎΡΡΠ΅Π΄ΡΡΠ²ΠΎΠΌ Π±ΠΎΠ»ΡΠΎΠ², ΡΡΠΎΠ±Ρ ΡΠ½ΠΈΠ·ΠΈΡΡ Π²ΠΈΠ±ΡΠ°ΡΠΈΡ Π² ΠΏΡΠΎΡΠ΅ΡΡΠ΅ ΡΠ°Π±ΠΎΡΡ.
ΠΠ·ΠΌΠ΅Π»ΡΡΠΈΡΠ΅Π»Ρ ΠΈΠ· Π½Π°ΡΠΎΡΠ°
Π§ΡΠΎΠ±Ρ ΠΏΡΠΈΠ³ΠΎΡΠΎΠ²ΠΈΡΡ ΠΏΠΎΠ΄ΠΎΠ±Π½ΡΠΉ ΠΈΠ·ΠΌΠ΅Π»ΡΡΠΈΡΠ΅Π»Ρ ΡΠΎΠ»ΠΎΠΌΡ ΡΠ²ΠΎΠΈΠΌΠΈ ΡΡΠΊΠ°ΠΌΠΈ, ΡΠ΅ΡΡΠ΅ΠΆΠΈ, Π²ΠΈΠ΄Π΅ΠΎ ΠΈ Π΄ΡΡΠ³ΠΈΠ΅ Π½Π°Π³Π»ΡΠ΄Π½ΡΠ΅ ΠΌΠ°ΡΠ΅ΡΠΈΠ°Π»Ρ ΠΎΡΠ΅Π½Ρ ΠΏΡΠΈΠ³ΠΎΠ΄ΡΡΡΡ. Π‘ ΡΡΠΎΠΉ ΡΠ΅Π»ΡΡ ΡΡΠΎΠΈΡ ΠΏΡΠΈΠΌΠ΅Π½ΡΡΡ Π½Π°ΡΠΎΡΡ ΠΌΠ°ΡΠΊΠΈ Β«ΠΠ³ΠΈΠ΄Π΅Π»ΡΒ» Π»ΠΈΠ±ΠΎ ΠΈΠ½ΡΠ΅ Π²Π°ΡΠΈΠ°Π½ΡΡ, ΠΈΠΌΠ΅ΡΡΠΈΠ΅ ΠΌΠΎΡΠ½ΠΎΡΡΡ, ΠΏΠΎΠ·Π²ΠΎΠ»ΡΡΡΡΡ ΡΠ°Π·Π²ΠΈΠ²Π°ΡΡ Π±ΠΎΠ»Π΅Π΅ 3 ΡΡΡΡΡ ΠΎΠ±ΠΎΡΠΎΡΠΎΠ² Π² ΠΌΠΈΠ½ΡΡΡ, ΠΏΠΈΡΠ°ΡΡΡ ΠΎΡ ΡΠ΅ΡΠΈ 220Π. ΠΠ»Ρ ΡΠΎΠ·Π΄Π°Π½ΠΈΡ ΠΏΠΎΠ΄ΠΎΠ±Π½ΠΎΠ³ΠΎ Π°Π³ΡΠ΅Π³Π°ΡΠ°, ΡΡΠ΅Π±ΡΠ΅ΡΡΡ Π½Π°ΠΉΡΠΈ ΠΊΡΡΠΏΠ½ΡΡ Π°Π»ΡΠΌΠΈΠ½ΠΈΠ΅Π²ΡΡ ΠΊΠ°ΡΡΡΡΠ»Ρ, Π° ΡΠ°ΠΊΠΆΠ΅ Π½ΠΎΠΆΠΎΠ²ΠΊΡ ΠΏΠΎ Π΄Π΅ΡΠ΅Π²Ρ.
ΠΠ½ΠΈ ΠΏΠΎΡΡΠ΅Π±ΡΡΡΡΡ Π΄Π»Ρ ΡΠΎΠ·Π΄Π°Π½ΠΈΡ Π½ΠΎΠΆΠ΅ΠΉ. ΠΠ»Ρ Π·Π°ΠΏΡΡΠΊΠ° ΡΠ°ΠΌΠΎΠ΄Π΅Π»ΡΠ½ΠΎΠ³ΠΎ ΡΡΡΡΠΎΠΉΡΡΠ²Π° ΡΡΠΎΠΈΡ ΠΈΡΠΏΠΎΠ»ΡΠ·ΠΎΠ²Π°ΡΡ ΠΊΠ½ΠΎΠΏΠΊΡ. ΠΡ ΠΌΠΎΠΆΠ½ΠΎ Π²Π·ΡΡΡ ΠΈΠ· ΡΠ΅Ρ Π½ΠΈΠΊΠΈ, Π²ΡΡΠ΅Π΄ΡΠ΅ΠΉ ΠΈΠ· ΡΡΡΠΎΡ. ΠΡΠ΅ ΠΏΠΎΡΡΠ΅Π±ΡΠ΅ΡΡΡ ΡΠ»Π΅ΠΊΡΡΠΎΠΏΡΠΈΠ²ΠΎΠ΄, Π° ΡΠ°ΠΊΠΆΠ΅ Π²ΠΈΠ»ΠΊΠ°. Π‘ΠΈΠ»ΠΎΠ²ΡΡ ΡΡΡΠ°Π½ΠΎΠ²ΠΊΡ ΡΠ°Π·ΠΌΠ΅ΡΠ°ΡΡ ΠΏΠΎΠ΄ ΠΊΠ°ΡΡΡΡΠ»Π΅ΠΉ, Π° ΠΌΠ΅Ρ Π°Π½ΠΈΠ·ΠΌ ΠΏΡΡΠΊ Ρ Π·Π°Π΄Π½Π΅ΠΉ ΡΡΠΎΡΠΎΠ½Ρ.
ΠΠ»Ρ ΠΎΠ±Π΅ΡΠΏΠ΅ΡΠ΅Π½ΠΈΡ Π΄Π»ΠΈΡΠ΅Π»ΡΠ½ΠΎΠ³ΠΎ ΠΈ ΠΏΡΠΎΠ΄ΡΠΊΡΠΈΠ²Π½ΠΎΠ³ΠΎ ΡΡΠ½ΠΊΡΠΈΠΎΠ½ΠΈΡΠΎΠ²Π°Π½ΠΈΡ ΡΠ°ΠΌΠΎΠ΄Π΅Π»ΡΠ½ΠΎΠ³ΠΎ ΡΠ΅Π½ΠΎΠΈΠ·ΠΌΠ΅Π»ΡΡΠΈΡΠ΅Π»Ρ ΡΠ΅ΠΊΠΎΠΌΠ΅Π½Π΄ΡΠ΅ΡΡΡ ΡΠ΅ΡΠΊΠΎ ΠΏΡΠΈΠ΄Π΅ΡΠΆΠΈΠ²Π°ΡΡΡΡ ΡΠ΅ΡΡΠ΅ΠΆΠ΅ΠΉ, ΡΡΠΎ ΠΏΠΎΠ·Π²ΠΎΠ»ΠΈΡ ΠΏΡΠ΅Π΄ΠΎΡΠ²ΡΠ°ΡΠΈΡΡ ΠΎΡΠΈΠ±ΠΊΠΈ Π²ΠΎ Π²ΡΠ΅ΠΌΡ ΡΠ±ΠΎΡΠΊΠΈ.
ΠΠ³ΡΠ΅Π³Π°Ρ ΠΏΠΎΠ·Π²ΠΎΠ»ΡΠ΅Ρ ΠΎΠ±ΡΠ°Π±Π°ΡΡΠ²Π°ΡΡ Π±ΠΎΠ»ΡΡΠΈΠ΅ ΠΎΠ±ΡΠ΅ΠΌΡ ΡΠ΅Π½Π°
ΠΠ·ΠΌΠ΅Π»ΡΡΠΈΡΠ΅Π»Ρ ΠΈΠ· ΡΡΠΈΡΠ°Π»ΡΠ½ΠΎΠΉ ΠΌΠ°ΡΠΈΠ½Ρ
ΠΡΠΏΠΎΠ»ΡΠ·ΡΡ Π΄Π»Ρ ΡΠΎΠ·Π΄Π°Π½ΠΈΡ ΠΏΠΎΠ΄ΠΎΠ±Π½ΠΎΠ³ΠΎ ΡΠ°ΠΌΠΎΠ΄Π΅Π»ΡΠ½ΠΎΠ³ΠΎ ΡΡΡΡΠΎΠΉΡΡΠ²Π° ΡΡΠ°ΡΡΡ ΡΡΠΈΡΠ°Π»ΡΠ½ΡΡ ΠΌΠ°ΡΠΈΠ½Ρ, ΠΌΠΎΠΆΠ½ΠΎ ΠΏΠΎΠ»ΡΡΠΈΡΡ ΠΏΡΠ°ΠΊΡΠΈΡΠ΅ΡΠΊΠΈ Π²ΡΠ΅ ΡΡΠ΅Π±ΡΠ΅ΠΌΡΠ΅ Π΄Π΅ΡΠ°Π»ΠΈ ΠΈΠ· Π½Π΅Ρ. ΠΠΎΠΏΠΎΠ»Π½ΠΈΡΠ΅Π»ΡΠ½ΠΎ ΡΡΠΎΠΈΡ ΠΏΠΎΠ΄Π³ΠΎΡΠΎΠ²ΠΈΡΡ Π½ΠΎΠΆΠΊΠΈ Ρ ΠΊΡΠ΅ΠΏΠ΅ΠΆΠΎΠΌ, Π° ΡΠ°ΠΊΠΆΠ΅ Π΄ΠΎΠΏΠΎΠ»Π½ΠΈΡΠ΅Π»ΡΠ½ΡΠΉ ΠΏΡΠΎΠ²ΠΎΠ΄, ΡΡΠΎΠ±Ρ ΡΠ΄Π»ΠΈΠ½ΠΈΡΡ ΠΈΠΌΠ΅ΡΡΠΈΠΉΡΡ. ΠΠΎ ΠΈΠ·-Π·Π° ΡΠ»Π°Π±ΠΎΠ³ΠΎ Π΄Π²ΠΈΠ³Π°ΡΠ΅Π»Ρ, ΠΊΠΎΡΠΎΡΡΠΉ ΠΎΠ±ΡΡΠ½ΠΎ ΡΡΡΠ°Π½Π°Π²Π»ΠΈΠ²Π°ΡΡ Π½Π° ΠΏΠΎΠ΄ΠΎΠ±Π½ΡΠ΅ Π°Π³ΡΠ΅Π³Π°ΡΡ, ΠΎΠ½ ΠΎΠ±ΡΡΠ½ΠΎ Π²ΡΠ΄Π°Π΅Ρ ΠΌΠΎΡΠ½ΠΎΡΡΡ, Π½Π΅ ΠΏΡΠ΅Π²ΡΡΠ°ΡΡΡΡ 0,5 ΠΊΠΡ. ΠΠΎΡΡΠΎΠΌΡ ΡΠΎΠ·Π΄Π°Π²Π°Π΅ΠΌΠΎΠ΅ ΡΡΡΡΠΎΠΉΡΡΠ²ΠΎ Π±ΡΠ΄Π΅Ρ ΠΎΠ±ΡΠ°Π±Π°ΡΡΠ²Π°ΡΡ ΠΈΡΠΊΠ»ΡΡΠΈΡΠ΅Π»ΡΠ½ΠΎ ΡΠΎΠ»ΠΎΠΌΡ Π»ΠΈΠ±ΠΎ ΡΡΠ°Π²Ρ. ΠΡΠΎΡΠ΅ΡΡ ΠΈΠ·Π³ΠΎΡΠΎΠ²Π»Π΅Π½ΠΈΡ ΡΠ΅Π½ΠΎΠΈΠ·ΠΌΠ΅Π»ΡΡΠΈΡΠ΅Π»Ρ Π²ΡΠ³Π»ΡΠ΄ΠΈΡ ΡΠ»Π΅Π΄ΡΡΡΠΈΠΌ ΠΎΠ±ΡΠ°Π·ΠΎΠΌ:
- ΠΠΎΡΠΏΡΡ ΡΡΠΈΡΠ°Π»ΡΠ½ΠΎΠΉ ΠΌΠ°ΡΠΈΠ½Ρ ΠΎΠ±ΡΠ΅Π·Π°Π΅ΡΡΡ ΠΏΠΎ Π²ΡΡΠΎΡΠ΅, Π΄Π»Ρ ΡΠ΄ΠΎΠ±ΡΡΠ²Π° Π΄Π°Π»ΡΠ½Π΅ΠΉΡΠ΅ΠΉ ΡΠ°Π±ΠΎΡΡ.
- Π‘ Π±ΠΎΠΊΠΎΠ²ΠΎΠΉ ΡΠ°ΡΡΠΈ Π΄Π΅Π»Π°Π΅ΡΡΡ ΠΎΡΠ²Π΅ΡΡΡΠΈΠ΅, ΠΈΠΌΠ΅ΡΡΠΈΠ΅ ΡΠΈΡΠΈΠ½Ρ 200 ΠΌΠΌ, Π° Π²ΡΡΠΎΡΡ Π² 70 ΠΌΠΌ. Π§Π΅ΡΠ΅Π· Π½Π΅Π³ΠΎ Π±ΡΠ΄Π΅Ρ Π²ΡΡ ΠΎΠ΄ΠΈΡΡ ΠΎΠ±ΡΠ°Π±ΠΎΡΠ°Π½Π½ΡΠΉ ΠΌΠ°ΡΠ΅ΡΠΈΠ°Π».
- ΠΠΎ ΠΏΠ΅ΡΠΈΠΌΠ΅ΡΡΡ ΠΏΡΠΎΡΠ΅Π·ΠΈ ΡΠΎΠ·Π΄Π°Π΅ΡΡΡ ΠΊΠΎΠΆΡΡ , Π·Π°Π΄Π°ΡΠ΅ΠΉ ΠΊΠΎΡΠΎΡΠΎΠ³ΠΎ Π±ΡΠ΄Π΅Ρ Π½Π°ΠΏΡΠ°Π²Π»Π΅Π½ΠΈΠ΅ ΠΈΠ·ΠΌΠ΅Π»ΡΡΠ΅Π½Π½ΠΎΠΉ ΠΌΠ°ΡΡΡ Π² Π΅ΠΌΠΊΠΎΡΡΡ.
- ΠΠΎΡΠ»Π΅ ΡΡΠΎΠ³ΠΎ ΡΡΡΠ°Π½Π°Π²Π»ΠΈΠ²Π°ΡΡΡΡ Π½ΠΎΠΆΠΊΠΈ, Π° ΠΊΠΎΡΠΏΡΡ ΡΠΎΠ΅Π΄ΠΈΠ½ΡΠ΅ΡΡΡ Ρ ΠΏΠΎΠ΄ΡΡΠ°Π²ΠΊΠΎΠΉ.
- ΠΠ°Π»ΡΡΠ΅ Π½Π° Π²Π°Π»Ρ Π΄Π²ΠΈΠ³Π°ΡΠ΅Π»Ρ ΡΠ²Π΅ΡΠ»ΠΈΡΡΡ Π½Π΅ΡΠΊΠΎΠ»ΡΠΊΠΎ ΠΎΡΠ²Π΅ΡΡΡΠΈΠΉ, ΠΈΠΌΠ΅ΡΡΠΈΡ Π΄ΠΈΠ°ΠΌΠ΅ΡΡ Π² 7 ΠΌΠΌ, ΠΊΡΠ΄Π° Π²ΡΡΠ°Π²Π»ΡΡΡ Π²ΡΡΠ»ΠΊΡ Ρ ΡΠ΅Π·ΡΠ±ΠΎΠΉ.
- Π‘Π½ΠΈΠ·Ρ ΠΊΠΎΡΠΎΠ±Π° ΠΌΠΎΠ½ΡΠΈΡΡΠ΅ΡΡΡ ΡΠ»Π΅ΠΊΡΡΠΎΠ΄Π²ΠΈΠ³Π°ΡΠ΅Π»Ρ Π·Π° ΡΡΠ΅Ρ ΡΠΏΠΈΠ»Π΅ΠΊ ΠΈ Π³Π°Π΅ΠΊ.
- ΠΠ° Π²ΡΡΠ»ΠΊΡ ΠΌΠΎΠ½ΡΠΈΡΡΡΡ Π½ΠΎΠΆΠΈ, ΡΠ°ΠΊ, ΡΡΠΎΠ±Ρ ΠΎΠ½ΠΈ Π½Π°Ρ ΠΎΠ΄ΠΈΠ»ΠΈΡΡ ΡΡΡΡ Π²ΡΡΠ΅ Π»ΠΈΠ±ΠΎ Π² ΡΡΠΎΠ²Π΅Π½Ρ Ρ Π²ΡΡ ΠΎΠ΄Π½ΡΠΌ ΠΎΡΠ²Π΅ΡΡΡΠΈΠ΅ΠΌ.
- Π ΠΊΠΎΠ½ΡΠ΅ ΠΊΠΎΡΠΎΠ± Π±ΠΎΠ»ΡΠ°ΠΌΠΈ ΠΊΡΠ΅ΠΏΠΈΡΡΡ ΠΊ ΠΏΠΎΠ΄ΡΡΠ°Π²ΠΊΠ΅.
ΠΡΠ°Π²ΠΈΠ»Π° Π±Π΅Π·ΠΎΠΏΠ°ΡΠ½ΠΎΡΡΠΈ
ΠΠ°ΠΆΠ½ΠΎ ΡΠΎΠ±Π»ΡΠ΄Π°ΡΡ ΠΌΠ΅ΡΡ ΠΎΡΡΠΎΡΠΎΠΆΠ½ΠΎΡΡΠΈ Π² ΠΏΡΠΎΡΠ΅ΡΡΠ΅ ΠΊΠΎΠ½ΡΡΡΡΠΈΡΠΎΠ²Π°Π½ΠΈΡ Π°Π³ΡΠ΅Π³Π°ΡΠ°, Π° ΡΠ°ΠΊΠΆΠ΅ Π΅Π³ΠΎ Π΄Π°Π»ΡΠ½Π΅ΠΉΡΠ΅Π³ΠΎ ΠΈΡΠΏΠΎΠ»ΡΠ·ΠΎΠ²Π°Π½ΠΈΡ. ΠΡΠΎ ΠΎΠ±ΡΡΠ»ΠΎΠ²Π»Π΅Π½ΠΎ ΠΎΡΡΡΠΎΡΠΎΠΉ Π½ΠΎΠΆΠ΅ΠΉ ΠΈ ΡΠΊΠΎΡΠΎΡΡΡΡ ΠΈΡ Π²ΡΠ°ΡΠ΅Π½ΠΈΡ. ΠΠ΅ΡΠΎΠ±Π»ΡΠ΄Π΅Π½ΠΈΠ΅ ΠΏΡΠ°Π²ΠΈΠ» Π±Π΅Π·ΠΎΠΏΠ°ΡΠ½ΠΎΡΡΠΈ ΠΌΠΎΠΆΠ΅Ρ ΠΏΡΠΈΠ²Π΅ΡΡΠΈ ΠΊ ΡΠ΅ΡΡΠ΅Π·Π½ΡΠΌ ΠΏΠΎΠ²ΡΠ΅ΠΆΠ΄Π΅Π½ΠΈΡΠΌ ΠΊΠΎΠ½Π΅ΡΠ½ΠΎΡΡΠ΅ΠΉ. ΠΠΎΠΏΠΎΠ»Π½ΠΈΡΠ΅Π»ΡΠ½ΠΎ ΡΡΠΎΠΈΡ ΠΏΡΠ΅Π΄ΡΡΠΌΠΎΡΡΠ΅ΡΡ Π·Π°ΡΠΈΡΡ ΠΎΡ ΡΠ΅ΠΏΠΎΠΊ, ΠΊΠΎΡΠΎΡΡΠ΅ Π±ΡΠ΄ΡΡ Π»Π΅ΡΠ΅ΡΡ Π² ΠΈΠ·ΠΌΠ΅Π»ΡΡΠ΅Π½ΠΈΡ ΠΌΠ°ΡΠ΅ΡΠΈΠ°Π»Π°, ΡΠ°ΠΊΠΆΠ΅ ΡΠΏΠΎΡΠΎΠ±Π½ΡΡ Π½Π°Π½Π΅ΡΡΠΈ Π²ΡΠ΅Π΄. ΠΡΠΈ ΠΈΡΠΏΠΎΠ»ΡΠ·ΠΎΠ²Π°Π½ΠΈΠΈ ΡΠ°ΠΌΠΎΠ΄Π΅Π»ΡΠ½ΠΎΠ³ΠΎ ΡΡΡΡΠΎΠΉΡΡΠ²Π° Ρ ΡΠ»Π΅ΠΊΡΡΠΎΠ΄Π²ΠΈΠ³Π°ΡΠ΅Π»Π΅ΠΌ, Π²Π°ΠΆΠ½ΠΎ ΠΌΠΈΠ½ΠΈΠΌΠΈΠ·ΠΈΡΠΎΠ²Π°ΡΡ Π²ΠΎΠ·ΠΌΠΎΠΆΠ½ΡΠΉ ΠΊΠΎΠ½ΡΠ°ΠΊΡ Ρ ΡΠ»Π΅ΠΊΡΡΠΎΠΏΡΠΎΠ²ΠΎΠ΄Π°ΠΌΠΈ.
ΠΠ»Ρ ΡΠ°ΠΌΠΎΡΡΠΎΡΡΠ΅Π»ΡΠ½ΠΎ ΠΈΠ·Π³ΠΎΡΠΎΠ²Π»Π΅Π½ΠΈΡ ΡΠ΅Π½ΠΎΠΈΠ·ΠΌΠ΅Π»ΡΡΠΈΡΠ΅Π»Ρ ΠΌΠΎΠΆΠ½ΠΎ ΠΈΡΠΏΠΎΠ»ΡΠ·ΠΎΠ²Π°ΡΡ ΠΏΠΎΠ΄ΡΡΡΠ½ΡΠ΅ ΡΡΡΡΠΎΠΉΡΡΠ²Π°, ΠΎΠ±ΠΎΡΡΠ΄ΠΎΠ²Π°Π½Π½ΡΠ΅ ΡΠ»Π΅ΠΊΡΡΠΎΠΌΠΎΡΠΎΡΠ°ΠΌΠΈ. ΠΡΠΏΠΎΠ»ΡΠ·ΡΡ ΠΈΡ ΠΌΠΎΡΠ½ΠΎΡΡΡ, ΡΠΎΠ·Π΄Π°Π΅ΡΡΡ ΠΎΡΠ½ΠΎΠ²Π½Π°Ρ ΠΊΠΎΠ½ΡΡΡΡΠΊΡΠΈΡ, Π΄Π»Ρ ΠΈΠ·ΠΌΠ΅Π»ΡΡΠ΅Π½ΠΈΡ ΠΌΠ°ΡΠ΅ΡΠΈΠ°Π»ΠΎΠ². Π ΡΠΎΠΌΡ ΠΆΠ΅ ΠΏΠΎΠ΄ΠΎΠ±Π½ΡΠ΅ Π°Π³ΡΠ΅Π³Π°ΡΡ ΠΌΠΎΠΆΠ½ΠΎ ΠΏΡΠΈΠΎΠ±ΡΠ΅ΡΡΠΈ Π² ΠΌΠ°Π³Π°Π·ΠΈΠ½Π΅ Π² Π³ΠΎΡΠΎΠ²ΠΎΠΌ Π²ΠΈΠ΄Π΅.
ΠΠ·ΠΌΠ΅Π»ΡΡΠΈΡΠ΅Π»Ρ ΡΠΎΠ»ΠΎΠΌΡ Π΄Π»Ρ ΠΏΠ΅Π»Π»Π΅Ρ — Π° ΠΊΠ°ΠΊ ΡΠ΄Π΅Π»Π°ΡΡ ΡΠ²ΠΎΠΈΠΌΠΈ ΡΡΠΊΠ°ΠΌΠΈ
ΠΡΠΈΠ²Π΅ΡΡΡΠ²ΡΡ Π²ΡΠ΅Ρ ΡΠΈΡΠ°ΡΠ΅Π»Π΅ΠΉ ΠΈ ΠΏΠΎΠ΄ΠΏΠΈΡΡΠΈΠΊΠΎΠ² Π±Π»ΠΎΠ³Π°, Π½Π° ΡΠ²ΡΠ·ΠΈ Ρ Π²Π°ΠΌΠΈ ΠΠ½Π΄ΡΠ΅ΠΉ ΠΠΎΠ°ΠΊ. Π‘Π΅Π³ΠΎΠ΄Π½Ρ Ρ ΡΠ°ΡΡΠΊΠ°ΠΆΡ Π²Π°ΠΌ ΠΊΠ°ΠΊ ΡΠ΄Π΅Π»Π°ΡΡΒ ΠΈΠ·ΠΌΠ΅Π»ΡΡΠΈΡΠ΅Π»Ρ ΡΠΎΠ»ΠΎΠΌΡ Π΄Π»Ρ ΠΏΠ΅Π»Π»Π΅Ρ ΡΠ²ΠΎΠΈΠΌΠΈ ΡΡΠΊΠ°ΠΌΠΈ. ΠΠΎ ΡΠ½Π°ΡΠ°Π»Π° ΠΌΡ ΡΠ°ΡΡΠΌΠΎΡΡΠΈΠΌ Π΄Π»Ρ ΡΠ΅Π³ΠΎ ΠΎΠ½ Π²ΠΎΠΎΠ±ΡΠ΅ Π½ΡΠΆΠ΅Π½.
ΠΠ²Π΅Π΄Π΅Π½ΠΈΠ΅ ΠΏΡΠΎ ΠΈΠ·ΠΌΠ΅Π»ΡΡΠΈΡΠ΅Π»ΠΈ
ΠΠΎΠ³Π΄Π° Ρ ΡΡΠΈΠ»ΡΡ Π² Π΄Π΅ΡΡΡΠΎΠΌ ΠΊΠ»Π°ΡΡΠ΅, Π° ΡΡΠΎ Π±ΡΠ» 2000 Π³ΠΎΠ΄, Π½Π°Ρ ΡΠΊΠΎΠ»Π° ΡΠΎΠ²ΠΌΠ΅ΡΡΠ½ΠΎ Ρ ΡΠΎΠ²Ρ ΠΎΠ·ΠΎΠΌ, Π² ΡΠ΅Π»Π΅ ΠΠΈΠ»ΡΡΡΡΠΈ Π§Π΅ΡΠ΅ΠΏΠ°Π½ΠΎΠ²ΡΠΊΠΎΠ³ΠΎ Ρ-Π½Π° ΠΠΎΠ²ΠΎΡΠΈΠ±ΠΈΡΡΠΊΠΎΠΉ ΠΎΠ±Π»Π°ΡΡΠΈ, ΠΎΡΠΏΡΠ°Π²Π»ΡΠ»Π° Π²Π΅ΡΠ½ΠΎΠΉ Π½Π° ΡΠΆΠΈΠ³Π°Π½ΠΈΠ΅ ΡΠΎΠ»ΠΎΠΌΡ. ΠΡ Ρ ΠΎΠ΄ΠΈΠ»ΠΈ ΠΏΠΎ ΠΎΠ³ΡΠΎΠΌΠ½ΡΠΌ ΠΏΠΎΠ»ΡΠΌ ΠΈ ΠΏΠΎΠ΄ΠΆΠΈΠ³Π°Π»ΠΈ ΡΠΎΠ»ΠΎΠΌΡ, Π² ΡΡΠΎΠΌ Π·Π°Π½ΡΡΠΈΠΈ ΠΏΡΠΈΠ½ΠΈΠΌΠ°Π»ΠΈΒ ΡΡΠ°ΡΡΠΈΠ΅ ΡΡΠ΅Π½ΠΈΠΊΠΈ Ρ 8-Π³ΠΎ ΠΏΠΎ 11 ΠΊΠ»Π°ΡΡΡ, Π° ΡΡΠΎ Π±ΠΎΠ»Π΅Π΅ 200 ΡΠ΅Π»ΠΎΠ²Π΅ΠΊ. ΠΡΠΎΠΌΠ΅ ΡΡΠΎΠ³ΠΎ ΡΠΎΠ²Ρ ΠΎΠ· ΡΠΆΠΈΠ³Π°Π» ΡΠΎΠ»ΠΎΠΌΡ Π΅ΡΠ΅ ΠΈ ΡΠ²ΠΎΠΈΠΌΠΈ ΡΠΈΠ»Π°ΠΌΠΈ.
ΠΠΎΠ³Π΄Π° ΡΠ΅Π» ΠΏΠ΅ΡΠΈΠΎΠ΄ ΡΠΆΠΈΠ³Π°Π½ΠΈΡ ΡΠΎΠ»ΠΎΠΌΡ, Π²ΡΠ΅ ΠΏΡΠΈΠ»Π΅Π³Π°ΡΡΠΈΠ΅ ΡΠ΅Π»Π° Π±ΡΠ»ΠΈ Π² Π΄ΡΠΌΡ. ΠΡΠΈ ΡΡΠΎΠΌ ΡΠ°ΠΌ ΡΠΎΠ²Ρ ΠΎΠ· Π΅Π»Π΅ ΡΠ²ΠΎΠ΄ΠΈΠ» ΠΊΠΎΠ½ΡΡ Ρ ΠΊΠΎΠ½ΡΠ°ΠΌΠΈ, Π·Π°ΡΠ°Π±ΠΎΡΠ½Π°Ρ ΠΏΠ»Π°ΡΠ° ΠΌΠΈΠ·Π΅ΡΠ½Π°Ρ, ΡΠ΅Ρ Π½ΠΈΠΊΠ° ΡΡΡΠ°ΡΠ΅Π²ΡΠ°Ρ. ΠΠΊΠ°Π·ΡΠ²Π°Π΅ΡΡΡ Π΅ΡΠ»ΠΈ Π±Ρ ΠΎΠ½ΠΈ Π·Π½Π°Π»ΠΈ ΠΏΡΠΎ ΠΈΠ·ΠΌΠ΅Π»ΡΡΠ΅Π½ΠΈΠ΅ ΠΈ Π³ΡΠ°Π½ΡΠ»ΠΈΡΠΎΠ²Π°Π½ΠΈΠ΅ ΡΠΎΠ»ΠΎΠΌΡ, ΡΠΎ Π΄ΠΎΡ ΠΎΠ΄Ρ ΡΠΎΠ²Ρ ΠΎΠ·Π° Π²ΡΡΠΎΡΠ»ΠΈ Π±Ρ Π² ΡΠ°Π·Ρ.
ΠΠΊΠ°Π·ΡΠ²Π°Π΅ΡΡΡ Π·Π° ΡΡΠ±Π΅ΠΆΠΎΠΌ Π΄Π°Π²Π½ΠΎ ΡΠ΅ΡΠΈΠ»ΠΈ Π²ΠΎΠΏΡΠΎΡ Ρ ΡΡΠΈΠ»ΠΈΠ·Π°ΡΠΈΠ΅ΠΉ ΡΠ΅Π»ΡΡΠΊΠΎΡ ΠΎΠ·ΡΠΉΡΡΠ²Π΅Π½Π½ΡΡ ΠΎΡΡ ΠΎΠ΄ΠΎΠ², ΡΠ°ΠΊΠΈΡ ΠΊΠ°ΠΊ Π»ΡΠ·Π³Π° ΡΠ΅ΠΌΠ΅ΡΠ΅ΠΊ, ΡΡΠ΅Π±Π»ΠΈ ΠΏΠΎΠ΄ΡΠΎΠ»Π½Π΅ΡΠ½ΠΈΠΊΠ°, ΡΠ΅Π½Π°, ΡΡΠ°Π²Ρ, ΡΠΎΡΡΠ°, ΠΊΠ°ΠΌΡΡΠ° ΠΈ Π΄Π°ΠΆΠ΅ Π²Π΅ΡΠΎΠΊ. ΠΡΡ ΡΡΠ° Π»ΠΈΠ½Π΅ΠΉΠΊΠ° ΠΈΠΌΠ΅Π΅Ρ Π½ΡΠΆΠ½ΡΡ Π²Π»Π°ΠΆΠ½ΠΎΡΡΡ ΠΈ ΠΏΡΠΎΡΡΠΎ Π³ΡΠ°Π½ΡΠ»ΠΈΡΡΠ΅ΡΡΡ Π² ΠΏΠ΅Π»Π»Π΅ΡΡ. ΠΠ°Π»Π΅Π΅ ΠΏΠ΅Π»Π»Π΅ΡΡ ΠΈΠ΄ΡΡ ΠΊΠ°ΠΊ Π½Π° ΠΏΠΎΠ΄ΡΡΠΈΠ»ΠΊΡ ΠΆΠΈΠ²ΠΎΡΠ½ΡΠΌ, ΡΠ°ΠΊ ΠΈ Π΄Π»Ρ ΠΏΠΎΠ»ΡΡΠ΅Π½ΠΈΡ ΡΠ΅ΠΏΠ»Π° Π² ΡΠΏΠ΅ΡΠΈΠ°Π»ΡΠ½ΡΡ Π°Π²ΡΠΎΠΌΠ°ΡΠΈΡΠ΅ΡΠΊΠΈΡ ΠΊΠΎΡΠ»Π°Ρ . ΠΡ , Π΄Π° ΠΊΡΡΠ°ΡΠΈ Π² ΠΠΈΡΠ°Π΅ ΡΠΆΠ΅ Π΄Π°Π²Π½ΠΎ Π΄Π΅Π»Π°ΡΡ ΠΈΠ· Π²ΡΠ΅Ρ ΡΡΠΈΡ ΠΎΡΡ ΠΎΠ΄ΠΎΠ² Π½Π΅ ΡΠΎΠ»ΡΠΊΠΎ ΠΏΠ΅Π»Π»Π΅Ρ, Π° Π΄Π°ΠΆΠ΅ ΠΈ ΠΠ‘Π, ΠΊ ΠΏΡΠΈΠΌΠ΅ΡΡ Ρ ΠΌΠ΅Π½Ρ Π΅ΡΡΡ ΡΡΠ°ΡΡΡ ΠΏΡΠΎ ΠΈΠ·Π³ΠΎΡΠΎΠ²Π»Π΅Π½ΠΈΠ΅ Π΄ΡΠ΅Π²Π΅ΡΠ½ΡΡ ΠΏΠ»ΠΈΡ ΠΈΠ· ΠΊΠ°ΠΌΡΡΠ°.
ΠΠ·ΠΌΠ΅Π»ΡΡΠΈΡΠ΅Π»Ρ ΡΠ΅Π½Π° ΠΌΠΎΠΆΠ½ΠΎ ΠΈΡΠΏΠΎΠ»ΡΠ·ΠΎΠ²Π°ΡΡ ΠΈ Π΄Π»Ρ Π΄ΡΡΠ³ΠΈΡ ΡΠ΅Π»ΡΡΠΊΠΎΡ ΠΎΠ·ΡΠΉΡΡΠ²Π΅Π½Π½ΡΡ ΠΎΡΡ ΠΎΠ΄ΠΎΠ². ΠΠ½ ΠΏΠ΅ΡΠ΅ΡΠ°Π±Π°ΡΡΠ²Π°Π΅Ρ ΡΡΠΊΠΈ, ΡΡΠ»ΠΎΠ½Ρ ΠΈ ΠΏΡΠΎΡΡΠΎ Π½Π°ΡΡΠΏΠ½ΡΡ ΠΌΠ°ΡΡΡ Π² ΠΌΠ΅Π»ΠΊΡΡ ΠΈΠ·ΠΌΠ΅Π»ΡΡΠ΅Π½Π½ΡΡ ΡΡΠ°ΠΊΡΠΈΡ. Π Π½Π°ΡΠ°Π»Π΅ ΡΡΠ°ΡΡΠΈ ΠΌΠΎΠΆΠ½ΠΎ ΡΠ²ΠΈΠ΄Π΅ΡΡ ΠΊΠ°ΡΡΠΈΠ½ΠΊΡ Ρ ΡΡΠ°ΠΊΡΠΈΠ΅ΠΉ ΠΈΠ· ΠΎΡΡ ΠΎΠ΄ΠΎΠ² ΡΠΎΡΠ½ΡΠΊΠΎΠ². Π‘ΡΡΠ΅ΡΡΠ²ΡΡΡ Π²Π΅ΡΡΠΈΠΊΠ°Π»ΡΠ½ΡΠ΅ ΠΈ Π³ΠΎΡΠΈΠ·ΠΎΠ½ΡΠ°Π»ΡΠ½ΡΠ΅ ΠΈΠ·ΠΌΠ΅Π»ΡΡΠΈΡΠ΅Π»ΠΈ.
Π‘ΡΡΠΎΠ΅Π½ΠΈΠ΅
Π’Π°ΠΊΠΎΠΉ Π΄ΡΠΎΠ±ΠΈΡΠ΅Π»Ρ ΠΎΡΡ ΠΎΠ΄ΠΎΠ²Β ΠΌΠΎΠΆΠ½ΠΎ ΠΊΠ°ΠΊ ΠΊΡΠΏΠΈΡΡ, ΡΠ°ΠΊ ΠΈ ΠΈΠ·Π³ΠΎΡΠΎΠ²ΠΈΡΡ ΡΠΎΠ±ΡΡΠ²Π΅Π½Π½ΡΠΌΠΈ ΡΠΈΠ»Π°ΠΌΠΈ. ΠΠ»Ρ ΡΠΎΠ³ΠΎ ΡΡΠΎΠ±Ρ ΡΠ΄Π΅Π»Π°ΡΡ Π½ΡΠΆΠ½ΠΎ ΠΏΠΎΠ½ΠΈΠΌΠ°ΡΡ Π΅Π³ΠΎ ΡΡΡΠΎΠ΅Π½ΠΈΠ΅.
Π‘ΠΎΡΡΠΎΠΈΡ ΠΈΠ·ΠΌΠ΅Π»ΡΡΠΈΡΠ΅Π»Ρ ΠΈΠ·:
- ΠΠΌΠΊΠΎΡΡΠΈ Π΄Π»Ρ Π·Π°Π³ΡΡΠ·ΠΊΠΈ ΡΡΠΊΠΎΠ², ΡΡΠ»ΠΎΠ½ΠΎΠ² ΠΈΠ»ΠΈ Π½Π°ΡΡΠΏΠΎΠΌ ΡΡΡΡΡ;
- ΠΠΎΠΆΠ΅ΠΉ ΠΈ ΠΊΠΎΠ½ΡΡΠ½ΠΎΠΆΠ΅ΠΉ;
- ΠΡΠ³ΡΡΠ·Π½ΠΎΠ³ΠΎ ΡΡΡΡΠΎΠΉΡΡΠ²Π°;
- ΠΠ°Π»Π° Π½Π° ΠΊΠΎΡΠΎΡΠΎΠΌ ΡΠ°ΡΠΏΠΎΠ»ΠΎΠΆΠ΅Π½Ρ Π½ΠΎΠΆΠΈ;
- ΠΠ»Π΅ΠΊΡΡΠΎΠ΄Π²ΠΈΠ³Π°ΡΠ΅Π»Ρ 380 ΠΠΎΠ»ΡΡ, ΠΏΠΎ ΠΌΠΎΡΠ½ΠΎΡΡΠΈ Π΄Π»Ρ 200 Π»ΠΈΡΡΠΎΠ²ΠΎΠΉ Π±ΠΎΡΠΊΠΈ ΠΏΠΎΠ΄ΠΎΠΉΠ΄Π΅Ρ 1500 ΠΎΠ±/ΠΌΠΈΠ½ ΠΈ 2,2Β β 5,5 ΠΠΡ. ΠΡΠ»ΠΈ ΠΆΠ΅ ΠΏΠ»Π°Π½ΠΈΡΡΠ΅ΡΡΡ Π΄ΡΠΎΠ±Π»Π΅Π½ΠΈΠ΅ Π² ΡΡΠ»ΠΎΠ½Π°Ρ , ΡΠΎ Π΄Π²ΠΈΠ³Π°ΡΠ΅Π»Ρ Π½ΡΠΆΠ΅Π½ Π±ΡΠ΄Π΅Ρ ΠΏΠΎΠΌΠΎΡΠ½Π΅Π΅ 11Β β 18 ΠΠΡ ΠΈ ΡΠ°ΠΊΠΆΠ΅ 1500 ΠΎΠ±/ΠΌΠΈΠ½;
- Π‘Π΅ΡΠΊΠ°, Π΄Π»Ρ ΠΏΠ΅Π»Π»Π΅Ρ Π½Π°ΠΌ ΠΏΠΎΠ΄ΠΎΠΉΠ΄Π΅Ρ Ρ ΡΡΠ΅Π΅ΠΉ 7-8 ΠΌΠΌ;
- Π‘ΠΈΡΡΠ΅ΠΌΠ° ΡΠΊΠΈΠ²ΠΎΠ², ΠΏΠ΅ΡΠ΅Π΄Π°ΡΡΠ°Ρ Π²ΡΠ°ΡΠ΅Π½ΠΈΠ΅ ΠΎΡ ΡΠ»Π΅ΠΊΡΡΠΎΠ΄Π²ΠΈΠ³Π°ΡΠ΅Π»Ρ ΠΊ Π½ΠΎΠΆΠ΅Π²ΠΎΠΌΡ Π²Π°Π»Ρ. ΠΠ½ΠΎΠ³Π΄Π° ΡΠΊΠΈΠ²Ρ Π½Π΅ ΠΈΡΠΏΠΎΠ»ΡΠ·ΡΡΡΡΡ, Π° Π΄Π²ΠΈΠ³Π°ΡΠ΅Π»Ρ ΡΡΡΠ°Π½Π°Π²Π»ΠΈΠ²Π°Π΅ΡΡΡ Π²Π½ΠΈΠ·Ρ ΠΈΠ·ΠΌΠ΅Π»ΡΡΠΈΡΠ΅Π»Ρ.
ΠΠ°ΠΊ ΡΠ΄Π΅Π»Π°ΡΡ ΡΠ²ΠΎΠΈΠΌΠΈ ΡΡΠΊΠ°ΠΌΠΈ ΠΈΠ·ΠΌΠ΅Π»ΡΡΠΈΡΠ΅Π»Ρ
ΠΠ°Π²Π°ΠΉΡΠ΅Β Π΄Π»Ρ ΡΠ΅Π±Ρ ΡΠΎΡΡΠ°Π²ΠΈΠΌ ΠΏΠΎΡΠ°Π³ΠΎΠ²ΡΡ ΠΈΠ½ΡΡΡΡΠΊΡΠΈΡ ΠΏΠΎ ΠΈΠ·Π³ΠΎΡΠΎΠ²Π»Π΅Π½ΠΈΡ Π½Π°ΡΠ΅Π³ΠΎ Π΄ΡΠΎΠ±ΠΈΡΠ΅Π»Ρ, ΡΠ΅ΡΡΠ΅ΠΆΠ΅ΠΉ Ρ Π΄ΡΠΌΠ°Ρ Π½Π°ΠΌ Π½Π΅ ΠΏΠΎΠ½Π°Π΄ΠΎΠ±ΠΈΡΡΡ, ΡΠ°ΠΊ ΠΊΠ°ΠΊ Π²ΡΠ΅ Π΄ΠΎΠ²ΠΎΠ»ΡΠ½ΠΎ ΠΏΡΠΎΡΡΠΎ:
- ΠΡΠ΅ΠΌ Π΅ΠΌΠΊΠΎΡΡΡ Π² ΠΊΠΎΡΠΎΡΡΡ Π±ΡΠ΄ΡΡ Π²Ρ ΠΎΠ΄ΠΈΡΡ Π½Π°ΡΠΈ ΡΡΠΊΠΈ ΠΈΠ»ΠΈ ΡΡΠ»ΠΎΠ½Ρ, Π΅ΡΠ»ΠΈ Π±ΡΠ΄Π΅ΠΌ ΠΈΠ·ΠΌΠ΅Π»ΡΡΠ°ΡΡ Π½Π΅Π±ΠΎΠ»ΡΡΠΈΠ΅ ΠΎΠ±ΡΠ΅ΠΌΡ, ΡΠΎ ΠΏΠΎΠ΄ΠΎΠΉΠ΄Π΅Ρ 200 Π»ΠΈΡΡΠΎΠ²Π°Ρ Π±ΠΎΡΠΊΠ° ΠΈΠ· ΠΏΠΎΠ΄ ΠΎΠ±ΡΡΠ½ΠΎΠ³ΠΎ ΠΌΠ°ΡΠ»Π°. ΠΡΠ»ΠΈ ΠΆΠ΅ ΠΏΠ»Π°Π½ΠΈΡΡΠ΅ΡΡΡ Π΄ΡΠΎΠ±ΠΈΡΡ ΡΠΎΠ»ΠΎΠΌΡ Π² ΡΡΠΊΠ°Ρ ΠΈΠ»ΠΈ Π΄Π°ΠΆΠ΅ ΡΡΠ»ΠΎΠ½Π°Ρ , ΡΠΎ ΠΊΠΎΡΠΏΡΡ ΠΏΡΠΈΠ΄Π΅ΡΡΡ Π΄Π΅Π»Π°ΡΡ ΡΠ°ΠΌΠΈΠΌ.
- ΠΠ°Π»Π΅Π΅ ΡΠΈΡΡΠ΅ΠΌΡ Π΄Π²ΠΈΠ³Π°ΡΠ΅Π»ΡΒ β ΡΠΊΠΈΠ²Ρ, ΠΆΠ΅Π»Π°ΡΠ΅Π»ΡΠ½ΠΎ ΡΠ΄Π΅Π»Π°ΡΡ ΡΠΊΠΈΠ²Ρ 1:1. ΠΠ΅Π»Π°Π΅ΠΌ ΠΏΠ»ΠΎΡΠ°Π΄ΠΊΡ ΠΏΠΎΠ΄ Π΄Π²ΠΈΠ³Π°ΡΠ΅Π»Ρ, Π΅ΡΠ»ΠΈ Π²Ρ ΠΎΠ±Π»Π°Π΄Π°Π΅ΡΠ΅ ΡΠ»Π΅ΡΠ°ΡΠ½ΡΠΌΠΈ Π½Π°Π²ΡΠΊΠ°ΠΌΠΈ ΠΈ ΠΌΠΎΠΆΠ΅ΡΠ΅ ΠΏΠΎΠ»ΡΠ·ΠΎΠ²Π°ΡΡΡΡ ΡΠ²Π°ΡΠΊΠΎΠΉ, ΡΠΎ Π²ΡΠ΅ Π±ΡΠ΄Π΅Ρ ΠΏΡΠΎΡΡΠΎ.
- ΠΠ°Π»Π΅Π΅ ΠΈΠ·Π³ΠΎΡΠ°Π²Π»ΠΈΠ²Π°Π΅ΠΌ ΠΊΠΎΡΠΏΡΡ, Π΅Π³ΠΎ ΠΌΠΎΠΆΠ½ΠΎ ΡΠ²Π°ΡΠΈΡΡ ΠΈΠ· ΠΈΠΌΠ΅ΡΡΠ΅Π³ΠΎΡΡ ΡΡΠ°ΡΠΎΠ³ΠΎ ΠΌΠ΅ΡΠ°Π»Π»Π°. Π ΠΊΠΎΡΠΏΡΡΡ ΠΊΡΠ΅ΠΏΠΈΠΌ Π΄Π²ΠΈΠ³Π°ΡΠ΅Π»Ρ.
- Π ΠΊΠΎΡΠΏΡΡ Π²ΡΡΠ°Π²Π»ΡΠ΅ΠΌ Π±ΡΠΊΡΡ Ρ ΠΏΠΎΠ΄ΡΠΈΠΏΠ½ΠΈΠΊΠ°ΠΌΠΈ ΠΈ Π²Π°Π» Ρ Π½ΠΎΠΆΠΎΠΌ. Π’Π°ΠΊ ΠΊΠ°ΠΊ ΠΎΠ±ΠΎΡΠΎΡΡ Π΄ΠΎΡΡΠ°ΡΠΎΡΠ½ΠΎ Π²ΡΡΠΎΠΊΠΈΠ΅, Π²Π°Π» Ρ Π½ΠΎΠΆΠ°ΠΌΠΈ Π΄ΠΎΠ»ΠΆΠ΅Π½ Π±ΡΡΡ ΠΎΡΠ±Π°Π»Π°Π½ΡΠΈΡΠΎΠ²Π°Π½ ΠΈ Π²ΡΡΡΠ°Π²Π»Π΅Π½ ΡΠΎΠ²Π½ΠΎ. ΠΡΡΠΎΡΠΈΡΡ Π²Π°Π» ΠΌΠΎΠΆΠ½ΠΎ Π² Π»ΡΠ±ΠΎΠΌ ΠΌΠ΅ΡΡΠ΅ Π³Π΄Π΅ ΠΈΠΌΠ΅Π΅ΡΡΡ ΡΠΎΠΊΠ°ΡΠ½ΡΠΉ ΡΡΠ°Π½ΠΎΠΊ.
- ΠΠ° Π²Π°Π» Π΄Π²ΠΈΠ³Π°ΡΠ΅Π»Ρ ΠΊΡΠ΅ΠΏΠΈΠΌ Π½ΠΎΠΆΠΈ, ΠΏΠΎΠ΄ Π½ΠΈΠΌΠΈΒ Π΄Π΅Π»Π°Π΅ΠΌ ΠΊΠΎΠ½ΡΡΠ½ΠΎΠΆΠΈ. Π§Π΅ΠΌΒ ΠΌΠ΅Π½ΡΡΠ΅Β Π·Π°Π·ΠΎΡ ΠΌΠ΅ΠΆΠ΄Ρ Π½ΠΎΠΆΠΎΠΌ ΠΈ ΠΊΠΎΠ½ΡΡΠ½ΠΎΠΆΠΎΠΌ, ΡΠ΅ΠΌ ΠΌΠ΅Π½ΡΡΠ΅ ΡΡΠ°ΠΊΡΠΈΡ Π±ΡΠ΄Π΅Ρ ΠΏΠΎΠ»ΡΡΠ°ΡΡΡΡ.
- Π Π΅ΠΌΠΊΠΎΡΡΠΈ Π΄Π΅Π»Π°Π΅ΠΌ Π²ΡΠ³ΡΡΠ·Π½ΠΎΠ΅ ΠΎΡΠ²Π΅ΡΡΡΠΈΠ΅ Π΄Π»Ρ Π²ΡΡ ΠΎΠ΄Π° ΠΌΠ°ΡΠ΅ΡΠΈΠ°Π»Π°. ΠΠ½ΠΎ Π΄ΠΎΠ»ΠΆΠ½ΠΎ Π±ΡΡΡ ΡΡΡΠ°Π½ΠΎΠ²Π»Π΅Π½ΠΎ ΡΠ°ΠΊΠΈΠΌ ΠΎΠ±ΡΠ°Π·ΠΎΠΌ, ΡΡΠΎΠ±Ρ ΠΌΠ°ΡΠ΅ΡΠΈΠ°Π» ΠΏΠΎ ΡΠ΅Π½ΡΡΠΎΠ±Π΅ΠΆΠ½ΠΎΠΌΡ Π΄Π²ΠΈΠΆΠ΅Π½ΠΈΡ Π²ΡΠ»Π΅ΡΠ°Π» ΠΈΠ· ΠΊΠ°ΠΌΠ΅ΡΡ ΠΈΠ·ΠΌΠ΅Π»ΡΡΠ΅Π½ΠΈΡ. ΠΠ»Ρ ΡΠΎΠ³ΠΎ ΡΡΠΎΠ±Ρ ΠΌΠ°ΡΠ΅ΡΠΈΠ°Π» ΡΡ ΠΎΠ΄ΠΈΠ» Π±ΡΡΡΡΠ΅Π΅, ΠΌΠΎΠΆΠ½ΠΎ ΠΏΠΎΠ΄ ΠΊΠΎΠ½ΡΡ Π½ΠΎΠΆΠΎΠΌ ΡΠ΄Π΅Π»Π°ΡΡ Π»ΠΎΠΏΠ°ΡΡΠΈ, ΠΊΠΎΡΠΎΡΡΠ΅ Π±ΡΠ΄ΡΡ ΠΊΡΡΡΠΈΡΡΡΡ Ρ Π΄Π²ΠΈΠ³Π°ΡΠ΅Π»Π΅ΠΌ. ΠΡΠΈ Π»ΠΎΠΏΠ°ΡΡΠΈ Π±ΡΠ΄ΡΡ Π½Π°Π³Π½Π΅ΡΠ°ΡΡ Π²ΠΎΠ·Π΄ΡΡ Π² Π²ΡΠ³ΡΡΠ·Π½ΠΎΠ΅ ΠΎΡΠ²Π΅ΡΡΡΠΈΠ΅.
ΠΠ·ΠΌΠ΅Π»ΡΡΠΈΡΠ΅Π»Ρ Π³ΠΎΡΠΎΠ²! ΠΠ°Π»Π΅Π΅ ΡΡΡΠ°Π½Π°Π²Π»ΠΈΠ²Π°Π΅ΠΌ Π³ΡΠ°Π½ΡΠ»ΡΡΠΎΡ ΠΈ ΠΈΠ·Π³ΠΎΡΠ°Π²Π»ΠΈΠ²Π°Π΅ΠΌ ΠΏΠ΅Π»Π»Π΅ΡΡ ΠΈΠ· Π½Π°ΡΠ΅ΠΉ ΡΠΎΠ»ΠΎΠΌΡ ΠΈΠ»ΠΈ ΡΠ΅Π½Π°.
ΠΠΈΠ΄Π΅ΠΎ ΠΏΠΎ ΡΠ΅ΠΌΠ΅ ΠΈΠ·Π³ΠΎΡΠΎΠ²Π»Π΅Π½ΠΈΡ
Π£Π΄Π°ΡΠΈ ΠΈ Π΄ΠΎ Π½ΠΎΠ²ΡΡ Π²ΡΡΡΠ΅Ρ, Ρ Π²Π°ΠΌΠΈ Π±ΡΠ» ΠΠ½Π΄ΡΠ΅ΠΉ ΠΠΎΠ°ΠΊ!Π‘ΠΎΠ»ΠΎΠΌΠΎΡΠ΅Π·ΠΊΠ° PNG ΠΈΠ·ΠΎΠ±ΡΠ°ΠΆΠ΅Π½ΠΈΡ | ΠΠ΅ΠΊΡΠΎΡΠ½ΡΠ΅ ΠΈ PSD ΡΠ°ΠΉΠ»Ρ
ΡΡΡΠ½Π°Ρ ΡΠ²Π΅ΠΉΠ½Π°Ρ ΠΌΠ°ΡΠΈΠ½Π° ΠΏΡΠΎΡΡΠ°Ρ ΠΈΠ»Π»ΡΡΡΡΠ°ΡΠΈΡ ΡΡΡΠ½ΠΎΠΉ ΡΠ²Π΅ΠΉΠ½ΠΎΠΉ ΠΌΠ°ΡΠΈΠ½Ρ Π΄Π»Ρ Π²Π΅Π±-Π΄ΠΈΠ·Π°ΠΉΠ½Π° Π½Π° Π±Π΅Π»ΠΎΠΌ ΡΠΎΠ½Π΅
5000 * 5000
ΡΠΎΠ»ΠΎΠΌΠ΅Π½Π½Π°Ρ ΡΠ»ΡΠΏΠ° one piece luffy art png
1200 * 1200
ΡΠΈΠ½ΠΈΠΉ ΠΊΠΎΠΌΠΏΡΡΡΠ΅Ρ ΡΠΈΡΡΠΎΠ²ΡΠ΅ ΡΠ΅Ρ Π½ΠΎΠ»ΠΎΠ³ΠΈΠΈ ΡΠ΅Π»ΠΎΠ²Π΅ΠΊ ΠΌΠ°ΡΠΈΠ½Π° Π²Π·Π°ΠΈΠΌΠΎΠ΄Π΅ΠΉΡΡΠ²ΠΈΠ΅ Π΄ΠΈΠ·Π°ΠΉΠ½ ΠΏΠΎΠ»ΡΠ·ΠΎΠ²Π°ΡΠ΅Π»ΡΡΠΊΠΎΠ³ΠΎ ΠΈΠ½ΡΠ΅ΡΡΠ΅ΠΉΡΠ°
1201 * 1201
Π±ΠΎΠ»ΡΡΠΎΠΉ Π²ΡΠΈΠ³ΡΡΡ ΠΊΠ°Π·ΠΈΠ½ΠΎ Π΄ΠΆΠ΅ΠΊΠΏΠΎΡ ΠΈΠ³ΡΠΎΠ²ΠΎΠΉ Π°Π²ΡΠΎΠΌΠ°Ρ
1200 * 1200
Π΄Π΅Π½Ρ ΠΌΠ°ΡΠ΅ΡΠΈ ΡΡΠ΅Ρ ΠΌΠ΅ΡΠ½Π°Ρ ΡΠ΅ΠΊΡΡΡΡΠ° ΡΠΎΠ·ΠΎΠ²Π°Ρ Π»Π΅Π½ΡΠ° Π±Π°Π±ΠΎΡΠΊΠ° ΠΌΠ°ΡΠΈΠ½Π° Π»ΡΠ±ΠΎΠ²Ρ
1200 * 1200
Π°Π±ΡΡΡΠ°ΠΊΡΠ½ΡΠΉ Π½Π΅ΠΎΠ½ΠΎΠ²ΡΠΉ ΡΡΡΠ΅ΠΊΡ Π·Π½Π°ΡΠΎΠΊ Π²ΠΈΠ΄Π΅ΠΎΠΈΠ³ΡΡ
1200 * 1200
Π½Π°Π±ΠΎΡ ΡΡΡΠΎΠΈΡΠ΅Π»ΡΠ½ΠΎΠ³ΠΎ ΠΎΠ±ΠΎΡΡΠ΄ΠΎΠ²Π°Π½ΠΈΡ Π² ΠΆΠ΅Π»ΡΡΡ ΡΠΏΠ΅ΡΠΈΠ°Π»ΡΠ½ΡΡ ΠΌΠ°ΡΠΈΠ½Π°Ρ Π΄Π»Ρ ΡΡΡΠΎΠΈΡΠ΅Π»ΡΠ½ΡΡ ΡΠ°Π±ΠΎΡ
1200 * 1200
ΡΠΈΡΠΎΠ²Π°Π½Π½ΠΎΠΉ ΡΡΠ°ΡΠΈΠ½Π½ΡΠΉ ΠΌΠΎΡΠΎΡΠΈΠΊΠ» ΠΊΠ»Π°ΡΡΠΈΡΠ΅ΡΠΊΠΈΠΉ ΡΠΎΠΏΠΏΠ΅Ρ
800 * 800
Π·Π½Π°ΡΠΎΠΊ ΡΡΡΠ½ΠΎΠΉ ΡΠ²Π΅ΠΉΠ½ΠΎΠΉ ΠΌΠ°ΡΠΈΠ½Ρ ΠΏΡΠΎΡΡΠ°Ρ ΠΈΠ»Π»ΡΡΡΡΠ°ΡΠΈΡ Π·Π½Π°ΡΠΊΠ° ΡΡΡΠ½ΠΎΠΉ ΡΠ²Π΅ΠΉΠ½ΠΎΠΉ ΠΌΠ°ΡΠΈΠ½Ρ Π΄Π»Ρ Π²Π΅Π±-Π΄ΠΈΠ·Π°ΠΉΠ½, ΠΈΠ·ΠΎΠ»ΠΈΡΠΎΠ²Π°Π½Π½ΡΠ΅ Π½Π° Π±Π΅Π»ΠΎΠΌ ΡΠΎΠ½Π΅
5000 * 5000
Π΄ΠΆΠ΅ΠΊΠΏΠΎΡ Π²ΡΠΈΠ³ΡΡΠ²Π°Π΅Ρ ΠΈΠ³ΡΠΎΠ²ΠΎΠΉ Π°Π²ΡΠΎΠΌΠ°Ρ
1200 * 1200
ΠΌΡΠ»ΡΡΡΠΈΠ»ΡΠΌ ΡΠΈΡΠΎΠ²Π°Π½Π½ΠΎΠΉ ΠΆΠ΅Π»ΡΠ°Ρ ΡΠΎΠ»ΠΎΠΌΠ΅Π½Π½Π°Ρ ΡΠ»ΡΠΏΠ° ΠΈΠ»Π»ΡΡΡΡΠ°ΡΠΈΡ ΠΡΠ°Π·ΠΈΠ»ΠΈΠΈ
1200 * 1200
ΠΊΠ°Π·ΠΈΠ½ΠΎ ΠΈΠ³ΡΠΎΠ²ΠΎΠΉ Π°Π²ΡΠΎΠΌΠ°Ρ Π²Π΅ΠΊΡΠΎΡΠ½ΡΠ΅ ΡΠ΅ΠΌΠ΅ΡΠΊΠΈ Π΄ΠΆΠ΅ΠΊΠΏΠΎΡ ΠΊΠΎΠ½ΡΠ΅ΠΏΡΠΈΡ ΡΠΏΠΈΠ½ ΠΎΠ±ΡΠ΅ΠΊΡ ΠΈΠ»Π»ΡΡΡΡΠ°ΡΠΈΠΈ
5000 * 5000
ΠΈΠ½ΠΆΠ΅Π½Π΅ΡΠ½ΡΠΉ Π½Π°Π±ΠΎΡ ΠΈΠΊΠΎΠ½ΠΎΠΊ ΠΈΠ½ΠΆΠ΅Π½Π΅Ρ ΡΡΡΠΎΠΈΡΠ΅Π»ΡΠ½ΠΎΠ΅ ΠΎΠ±ΠΎΡΡΠ΄ΠΎΠ²Π°Π½ΠΈΠ΅ ΠΎΠΏΠ΅ΡΠ°ΡΠΎΡ ΠΌΠ°ΡΠΈΠ½Ρ ΡΠΏΡΠ°Π²Π»Π΅Π½ΠΈΠ΅ ΠΈ
5000 * 5000
ΠΆΠ΅ΠΌΡΡΠΆΠ½ΡΠΉ ΡΠ°ΠΉ Ρ ΠΌΠΎΠ»ΠΎΠΊΠΎΠΌ ΠΈ ΡΠΎΠ»ΠΎΠΌΠΈΠ½ΠΊΠΈ Π² ΠΏΡΠΎΠ·ΡΠ°ΡΠ½ΠΎΠΌ ΡΡΠ΅ΠΊΠ»Π΅
1200 * 1200
Π§ΠΎΠΏΠΏΠ΅Ρ Π§Π΅ΡΠ΅ΠΏ Π±Π°ΠΉΠΊΠ΅Ρ Ρ ΡΠ΅ΡΡΠΎ ΡΠ»Π΅ΠΌΠΎΠΌ ΠΈ Π½Π΅ΡΡΠ°Π½Π΄Π°ΡΡΠ½ΠΎΠΉ Π²Π΅ΠΊΡΠΎΡΠ½ΠΎΠΉ ΠΈΠ»Π»ΡΡΡΡΠ°ΡΠΈΠ΅ΠΉ Π²Π΅Π»ΠΎΡΠΈΠΏΠ΅Π΄Π°
2500 * 2500
Π² ΡΡΠ°Π΄ΠΈΠΈ ΡΡΡΠΎΠΈΡΠ΅Π»ΡΡΡΠ²Π° Π‘ΡΡΠΎΠΈΡΠ΅Π»ΡΠ½ΡΠΉ ΡΠ°Π±ΠΎΡΠΈΠΉ ΠΏΡΠΎΡΠ΅ΡΡ ΡΠΎ ΡΡΡΠΎΠΈΡΠ΅Π»ΡΠ½ΡΠΌΠΈ ΠΌΠ°ΡΠΈΠ½Π°ΠΌΠΈ Π²Π΅ΠΊΡΠΎΡΠ½Π°Ρ ΠΈΠ»Π»ΡΡΡΡΠ°ΡΠΈΡ
1200 * 1200
ΡΠΈΡΠΎΠ²Π°Π½Π½ΠΎΠΉ ΡΡΠ°ΡΠΈΠ½Π½ΡΠΉ ΠΌΠΎΡΠΎΡΠΈΠΊΠ» ΠΊΠ»Π°ΡΡΠΈΡΠ΅ΡΠΊΠΈΠΉ Π§ΠΎΠΏΠΏΠ΅Ρ
800 * 800
Π½Π°Π±ΠΎΡ Π΄Π»Ρ ΡΡΠΈΡΠΊΠΈ ic Π² ΠΊΠΎΠΌΠΏΠ»Π΅ΠΊΡ Π²Ρ ΠΎΠ΄ΠΈΡ Π²ΠΎΠ΄Π½ΠΎΠ΅ ΠΌΡΠ»ΠΎ Π΄Π»Ρ ΡΡΠΈΡΠ°Π»ΡΠ½ΠΎΠΉ ΠΌΠ°ΡΠΈΠ½Ρ ΠΈ ΠΌΠ½ΠΎΠ³ΠΎΠ΅ Π΄ΡΡΠ³ΠΎΠ΅
2500 * 2500
ΠΌΠΎΠ±ΠΈΠ»ΡΠ½ΡΠΉ ΡΠ΅Π»Π΅ΡΠΎΠ½ pos-ΠΌΠ°ΡΠΈΠ½Π° ΠΌΠΎΠ±ΠΈΠ»ΡΠ½ΡΠΉ ΠΎΠ½Π»Π°ΠΉΠ½-ΠΏΠ»Π°ΡΠ΅ΠΆ
1200 * 1200
dj machine cartoon
1200 * 1200
ΠΈΠ³Π»Π° Π΄Π»Ρ ΡΠ²Π΅ΠΉΠ½ΠΎΠΉ ΠΌΠ°ΡΠΈΠ½Ρ ΠΈ Π½ΠΎΠΆΠ½ΠΈΡΡ Π·Π½Π°ΡΠΎΠΊ Π²Π΅ΠΊΡΠΎΡΠ½ΡΠ΅ ΠΈΠ»Π»ΡΡΡΡΠ°ΡΠΈΠΈ
5000 * 5000
ΠΊΠ°Π·ΠΈΠ½ΠΎ ΠΈΠ³ΡΠΎΠ²ΠΎΠΉ Π°Π²ΡΠΎΠΌΠ°Ρ Π±Π°Π½Π½Π΅Ρ Π²Π΅ΠΊΡΠΎΡ ΠΏΡΡΠ»ΠΊΠ° Π±ΡΠΎΡΡΡΠ° ΠΊΠΎΠ½ΡΠ΅ΠΏΡΠΈΡ ΠΊΠ°Π·ΠΈΠ½ΠΎ Ρ ΠΈΠ³ΡΠΎΠ²ΡΠΌ Π°Π²ΡΠΎΠΌΠ°ΡΠΎΠΌ
5000 * 5000
ΠΊΡΠ°ΡΠΎΡΠ½ΡΠΉ Π·Π½Π°ΡΠΎΠΊ ΡΠ°ΡΡΠΈΡΠΎΠ²ΠΊΠΈ
800 * 800
ΡΠΎΠ»ΠΎΠΌΠ΅Π½Π½Π°Ρ ΡΠ°ΡΠΊΠ° ΠΆΠ΅ΠΌΡΡΠ³ ΡΠ°ΠΉ Ρ ΠΌΠΎΠ»ΠΎΠΊΠΎΠΌ ΠΌΠΎΡΠΎΠΆΠ΅Π½ΠΎΠ΅ Π΄Π΅ΡΠ΅ΡΡ ΡΠΈΡΠΎΠ²Π°Π½Π½ΠΎΠΉ
1200 * 1200
ΠΌΡΠΆΡΠΊΠ°Ρ ΠΆΠ΅Π»ΡΠ°Ρ ΡΠΎΠ»ΠΎΠΌΠ΅Π½Π½Π°Ρ ΡΠ»ΡΠΏΠ° ΠΈΠ»Π»ΡΡΡΡΠ°ΡΠΈΡ
1200 * 1200
ΡΠ²Π΅ΠΉΠ½Π°Ρ ΠΌΠ°ΡΠΈΠ½Π°
4000 * 4000
ΡΠΈΡΠΎΠ²Π°Π½Π½ΡΠΉ ΠΆΠ΅ΠΌΡΡΠ³ ΠΠ»Π΅ΠΌΠ΅Π½Ρ ΡΠΎΠ»ΠΎΠΌΠΈΠ½ΠΊΠΈ Π΄Π»Ρ ΡΠ°Ρ Ρ ΠΌΠΎΠ»ΠΎΠΊΠΎΠΌ
1200 * 1200
ΡΠΈΠ½ΠΈΠΉ Π°Π²ΡΠΎΠΌΠ°ΡΠΈΡΠ΅ΡΠΊΠ°Ρ ΡΡΠΈΡΠ°Π»ΡΠ½Π°Ρ ΠΌΠ°ΡΠΈΠ½Π° beauti ΠΠ²ΡΠΎΠΌΠ°ΡΠΈΡΠ΅ΡΠΊΠ°Ρ ΡΡΠΈΡΠ°Π»ΡΠ½Π°Ρ ΠΌΠ°ΡΠΈΠ½Π° Ρ ΡΡΡΠ½ΠΎΠΉ ΡΠΎΡΠΏΠΈΡΡΡ Π‘ΡΠΈΡΠ°Π»ΡΠ½Π°Ρ ΠΌΠ°ΡΠΈΠ½Π° Ρ ΡΡΡΠ½ΠΎΠΉ ΡΠΎΡΠΏΠΈΡΡΡ Π‘ΡΠΈΡΠ°Π»ΡΠ½Π°Ρ ΠΌΠ°ΡΠΈΠ½Π° Ρ Π³Π΅ΡΠΎΡΠΌΠΈ ΠΌΡΠ»ΡΡΡΠΈΠ»ΡΠΌΠΎΠ²
3000 * 3000
ΠΌΠ°ΡΠΈΠ½Π° ΠΏΡΠΎΠ²Π΅ΡΠΊΠ° ΠΊΡΠ΅Π΄ΠΈΡΠ½ΠΎΠΉ ΠΊΠ°ΡΡΡ ΠΌΠ°ΡΠΈΠ½Π° ΠΊΡΠ΅Π΄ΠΈΡΠ½ΠΎΠΉ ΠΊΠ°ΡΡΡ
5556 * 5556
ΡΠ΅ΡΡΠΎ ΡΠ²Π΅ΠΉΠ½Π°Ρ ΠΌΠ°ΡΠΈΠ½Π°
2000 * 2000
ΡΠ΅ΡΡΠ΅ΡΠ½ΠΈ ΠΌΠ΅Ρ Π°Π½ΠΈΡΠ΅ΡΠΊΠΈΠ΅ ΡΠ΅Ρ Π½ΠΎΠ»ΠΎΠ³ΠΈΠΈ ΠΌΠ°ΡΠΈΠ½ΠΎΡΡΡΠΎΠ΅Π½ΠΈΠ΅ ΡΠΈΠΌΠ²ΠΎΠ» ΡΠ°Π·Π²ΠΈΡΠΈΠ΅ ΠΏΡΠΎΠΌΡΡΠ»Π΅Π½Π½ΠΎΡΡΠΈ Π΄Π²ΠΈΠ³Π°ΡΠ΅Π»Ρ ΡΠ°Π±ΠΎΡΠ° ΠΊΠΎΠ½ΡΠ΅ΠΏΡΠΈΡ Π±ΠΈΠ·Π½Π΅Ρ-ΡΠ΅ΡΠ΅Π½ΠΈΡ Π°Π±ΡΡΡΠ°ΠΊΡΠ½ΡΠ΅ Π½ΠΈΠ·ΠΊΠΎΠΏΠΎΠ»ΠΈΠ³ΠΎΠ½Π°Π»ΡΠ½ΡΠ΅ ΠΊΠΎΠ½ΡΡΡΡΠΊΡΠΈΠΈ ΠΈΠ· Π»ΠΈΠ½ΠΈΠΉ ΠΈ ΡΠΎΡΠ΅ΠΊ ΠΊΠ°ΡΠΊΠ°ΡΠ½ΡΠ΅ Π²Π΅ΠΊΡΠΎΡΠ½ΡΠ΅ ΠΈΠ»Π»ΡΡΡΡΠ°ΡΠΈΠΈ
1200 * 1200
ΡΠ΅ΡΠ΅ΠΏ Π² ΠΊΠ΅ΠΏΠΊΠ΅ Ρ ΡΠ°ΡΡΠΈΡΠΎΠ²ΠΊΠΎΠΉ Π²Π΅ΠΊΡΠΎΡ
4703 * 4703
Π·Π΅Π»Π΅Π½ΡΠΉ ΡΠΎΠΊ Π² ΡΡΠ΅ΠΊΠ»Π΅ ΠΈ ΡΠ΅ΡΠ½Π°Ρ ΡΠΎΠ»ΠΎΠΌΠΈΠ½ΠΊΠ°
1200 * 1200
Π ΠΈΡΠΎΠ²Π°Π½Π½Π°Ρ ΠΌΡΠ»ΡΡΡΡΠ½Π°Ρ ΡΠΎΠ»ΠΎΠΌΠ΅Π½Π½Π°Ρ ΡΠ»ΡΠΏΠ° ΠΡΠ°Π·ΠΈΠ»ΡΡΠΊΠΈΠΉ ΡΠ°ΠΊΠ΅Π» ΠΈΠ»Π»ΡΡΡΡΠ°ΡΠΈΡ
1200 * 1200
ΠΏΡΠΎΠΏΡΡΡΠΈΡΡ ΡΠΎΠ»ΠΎΠΌΠΈΠ½ΠΊΡ ΡΠΏΠ°ΡΠΈΡΠ΅ ΡΠ΅ΡΠ΅ΠΏΠ°Ρ Ρ ΠΎΡΡΠ°Π½ΠΎΠ²ΠΈΡΠ΅ Π·Π°Π³ΡΡΠ·Π½Π΅Π½ΠΈΠ΅ ΠΎΠΊΠ΅Π°Π½Π° ΠΆΠΈΠ²ΠΎΡΠ½ΡΠ΅
6250 * 6250
ΡΠ°ΡΠΊΠ° ΡΠΎΠ΄ΠΎΠ²ΠΎΠΉ ΡΠ°Π±Π»ΠΎΠ½ Π²Π΅ΠΊΡΠΎΡ 3d ΡΠ΅Π°Π»ΠΈΡΡΠΈΡΠ½Π°Ρ Π±ΡΠΌΠ°Π³Π° Π½Π°Π±ΠΎΡ ΠΎΠ΄Π½ΠΎΡΠ°Π·ΠΎΠ²ΡΡ ΡΡΠ°ΠΊΠ°Π½ΡΠΈΠΊΠΎΠ² Π΄Π»Ρ Π½Π°ΠΏΠΈΡΠΊΠΎΠ² Ρ ΡΠΎΠ»ΠΎΠΌΠΈΠ½ΠΊΠΎΠΉ Π½Π° Π±Π΅Π»ΠΎΠΌ ΡΠΎΠ½Π΅, ΠΈΠ»Π»ΡΡΡΡΠ°ΡΠΈΡ ΡΠΏΠ°ΠΊΠΎΠ²ΠΊΠΈ
5000 * 5000
Π·Π½Π°ΡΠΎΠΊ ΡΠ²Π΅ΠΉΠ½ΠΎΠΉ ΠΌΠ°ΡΠΈΠ½Ρ ΠΌΡΠ»ΡΡΡΡΠ½ΠΎΠΌ ΡΡΠΈΠ»Π΅
5000 * 5000
ΠΆΠ΅ΠΌΡΡΠΆΠ½ΡΠΉ ΡΠ°ΠΉ Ρ ΠΌΠΎΠ»ΠΎΠΊΠΎΠΌ ΠΌΠΈΠ»ΡΠΉ ΡΠΈΡΠΎΠ²Π°Π½Π½ΠΎΠΉ
1200 * 1200
ΠΡΡΡΠ°Ρ ΡΠ΅Π½Π° Π½Π° ΡΠΎΠ»ΠΎΠΌΠΊΡ ΡΠ²ΠΎΠΈΠΌΠΈ ΡΡΠΊΠ°ΠΌΠΈ — ΠΡΠ³ΠΎΠ΄Π½ΡΠ΅ ΠΏΡΠ΅Π΄Π»ΠΎΠΆΠ΅Π½ΠΈΡ Π½Π° ΡΠΎΠ»ΠΎΠΌΠΊΡ ΡΠ²ΠΎΠΈΠΌΠΈ ΡΡΠΊΠ°ΠΌΠΈ ΠΎΡ ΠΌΠΈΡΠΎΠ²ΡΡ ΠΏΡΠΎΠ΄Π°Π²ΡΠΎΠ² ΡΠΎΠ»ΠΎΠΌΠΎΠΊ ΡΠ²ΠΎΠΈΠΌΠΈ ΡΡΠΊΠ°ΠΌΠΈ
ΠΡΠ»ΠΈΡΠ½ΡΠ΅ Π½ΠΎΠ²ΠΎΡΡΠΈ !!! ΠΡ ΠΏΠΎΠΏΠ°Π»ΠΈ Π² Π½ΡΠΆΠ½ΠΎΠ΅ ΠΌΠ΅ΡΡΠΎ Π΄Π»Ρ ΡΠ°ΠΌΠΎΡΡΠΎΡΡΠ΅Π»ΡΠ½ΠΎΠΉ ΡΠΎΠ»ΠΎΠΌΠΊΠΈ.Π Π½Π°ΡΡΠΎΡΡΠ΅ΠΌΡ Π²ΡΠ΅ΠΌΠ΅Π½ΠΈ Π²Ρ ΡΠΆΠ΅ Π·Π½Π°Π΅ΡΠ΅, ΡΡΠΎ ΡΡΠΎ Π±Ρ Π²Ρ Π½ΠΈ ΠΈΡΠΊΠ°Π»ΠΈ, Π²Ρ ΠΎΠ±ΡΠ·Π°ΡΠ΅Π»ΡΠ½ΠΎ Π½Π°ΠΉΠ΄Π΅ΡΠ΅ ΡΡΠΎ Π½Π° AliExpress. Π£ Π½Π°Ρ Π±ΡΠΊΠ²Π°Π»ΡΠ½ΠΎ ΡΡΡΡΡΠΈ ΠΎΡΠ»ΠΈΡΠ½ΡΡ ΠΏΡΠΎΠ΄ΡΠΊΡΠΎΠ² Π²ΠΎ Π²ΡΠ΅Ρ ΡΠΎΠ²Π°ΡΠ½ΡΡ ΠΊΠ°ΡΠ΅Π³ΠΎΡΠΈΡΡ . ΠΡΠ΅ΡΠ΅ Π»ΠΈ Π²Ρ ΡΠΎΠ²Π°ΡΡ Π²ΡΡΠΎΠΊΠΎΠ³ΠΎ ΠΊΠ»Π°ΡΡΠ° ΠΈΠ»ΠΈ Π΄Π΅ΡΠ΅Π²ΡΠ΅ ΠΈ Π½Π΅Π΄ΠΎΡΠΎΠ³ΠΈΠ΅ ΠΎΠΏΡΠΎΠ²ΡΠ΅ Π·Π°ΠΊΡΠΏΠΊΠΈ, ΠΌΡ Π³Π°ΡΠ°Π½ΡΠΈΡΡΠ΅ΠΌ, ΡΡΠΎ ΠΎΠ½ Π΅ΡΡΡ Π½Π° AliExpress.
ΠΡ Π½Π°ΠΉΠ΄Π΅ΡΠ΅ ΠΎΡΠΈΡΠΈΠ°Π»ΡΠ½ΡΠ΅ ΠΌΠ°Π³Π°Π·ΠΈΠ½Ρ ΡΠΎΡΠ³ΠΎΠ²ΡΡ ΠΌΠ°ΡΠΎΠΊ Π½Π°ΡΡΠ΄Ρ Ρ Π½Π΅Π±ΠΎΠ»ΡΡΠΈΠΌΠΈ Π½Π΅Π·Π°Π²ΠΈΡΠΈΠΌΡΠΌΠΈ ΠΏΡΠΎΠ΄Π°Π²ΡΠ°ΠΌΠΈ ΡΠΎ ΡΠΊΠΈΠ΄ΠΊΠ°ΠΌΠΈ, ΠΊΠ°ΠΆΠ΄ΡΠΉ ΠΈΠ· ΠΊΠΎΡΠΎΡΡΡ ΠΏΡΠ΅Π΄Π»Π°Π³Π°Π΅Ρ Π±ΡΡΡΡΡΡ Π΄ΠΎΡΡΠ°Π²ΠΊΡ ΠΈ Π½Π°Π΄Π΅ΠΆΠ½ΡΠ΅, Π° ΡΠ°ΠΊΠΆΠ΅ ΡΠ΄ΠΎΠ±Π½ΡΠ΅ ΠΈ Π±Π΅Π·ΠΎΠΏΠ°ΡΠ½ΡΠ΅ ΡΠΏΠΎΡΠΎΠ±Ρ ΠΎΠΏΠ»Π°ΡΡ, Π½Π΅Π·Π°Π²ΠΈΡΠΈΠΌΠΎ ΠΎΡ ΡΠΎΠ³ΠΎ, ΡΠΊΠΎΠ»ΡΠΊΠΎ Π²Ρ ΡΠ΅ΡΠΈΡΠ΅ ΠΏΠΎΡΡΠ°ΡΠΈΡΡ.
AliExpress Π½ΠΈΠΊΠΎΠ³Π΄Π° Π½Π΅ ΡΡΡΡΠΏΠΈΡ ΠΏΠΎ Π²ΡΠ±ΠΎΡΡ, ΠΊΠ°ΡΠ΅ΡΡΠ²Ρ ΠΈ ΡΠ΅Π½Π΅. ΠΠ°ΠΆΠ΄ΡΠΉ Π΄Π΅Π½Ρ Π²Ρ Π±ΡΠ΄Π΅ΡΠ΅ Π½Π°Ρ ΠΎΠ΄ΠΈΡΡ Π½ΠΎΠ²ΡΠ΅ ΠΎΠ½Π»Π°ΠΉΠ½-ΠΏΡΠ΅Π΄Π»ΠΎΠΆΠ΅Π½ΠΈΡ, ΡΠΊΠΈΠ΄ΠΊΠΈ Π² ΠΌΠ°Π³Π°Π·ΠΈΠ½Π°Ρ ΠΈ Π²ΠΎΠ·ΠΌΠΎΠΆΠ½ΠΎΡΡΡ ΡΡΠΊΠΎΠ½ΠΎΠΌΠΈΡΡ Π΅ΡΠ΅ Π±ΠΎΠ»ΡΡΠ΅, ΡΠΎΠ±ΠΈΡΠ°Ρ ΠΊΡΠΏΠΎΠ½Ρ. ΠΠΎ Π²Π°ΠΌ, Π²ΠΎΠ·ΠΌΠΎΠΆΠ½ΠΎ, ΠΏΡΠΈΠ΄Π΅ΡΡΡ Π΄Π΅ΠΉΡΡΠ²ΠΎΠ²Π°ΡΡ Π±ΡΡΡΡΠΎ, ΠΏΠΎΡΠΊΠΎΠ»ΡΠΊΡ ΡΡΠ° Π»ΡΡΡΠ°Ρ ΡΠΎΠ»ΠΎΠΌΠΈΠ½ΠΊΠ° ΡΠ²ΠΎΠΈΠΌΠΈ ΡΡΠΊΠ°ΠΌΠΈ ΡΡΠ°Π½Π΅Ρ ΠΎΠ΄Π½ΠΈΠΌ ΠΈΠ· ΡΠ°ΠΌΡΡ Π²ΠΎΡΡΡΠ΅Π±ΠΎΠ²Π°Π½Π½ΡΡ Π±Π΅ΡΡΡΠ΅Π»Π»Π΅ΡΠΎΠ² Π² ΠΊΡΠ°ΡΡΠ°ΠΉΡΠΈΠ΅ ΡΡΠΎΠΊΠΈ. ΠΠΎΠ΄ΡΠΌΠ°ΠΉΡΠ΅, ΠΊΠ°ΠΊ Π²Π°ΠΌ Π±ΡΠ΄ΡΡ Π·Π°Π²ΠΈΠ΄ΠΎΠ²Π°ΡΡ Π΄ΡΡΠ·ΡΡ, ΠΊΠΎΠ³Π΄Π° Π²Ρ ΡΠΊΠ°ΠΆΠ΅ΡΠ΅ ΠΈΠΌ, ΡΡΠΎ ΠΏΡΠΈΠΎΠ±ΡΠ΅Π»ΠΈ ΡΠ²ΠΎΡ ΡΠΎΠ»ΠΎΠΌΠΈΠ½ΠΊΡ Π½Π° AliExpress.ΠΠ»Π°Π³ΠΎΠ΄Π°ΡΡ ΡΠ°ΠΌΡΠΌ Π½ΠΈΠ·ΠΊΠΈΠΌ ΡΠ΅Π½Π°ΠΌ Π² ΠΠ½ΡΠ΅ΡΠ½Π΅ΡΠ΅, Π΄Π΅ΡΠ΅Π²ΡΠΌ ΡΠ°ΡΠΈΡΠ°ΠΌ Π½Π° Π΄ΠΎΡΡΠ°Π²ΠΊΡ ΠΈ Π²ΠΎΠ·ΠΌΠΎΠΆΠ½ΠΎΡΡΠΈ ΠΏΠΎΠ»ΡΡΠ΅Π½ΠΈΡ Π½Π° ΠΌΠ΅ΡΡΠ΅ Π²Ρ ΠΌΠΎΠΆΠ΅ΡΠ΅ Π΅ΡΠ΅ Π±ΠΎΠ»ΡΡΠ΅ ΡΡΠΊΠΎΠ½ΠΎΠΌΠΈΡΡ.
ΠΡΠ»ΠΈ Π²Ρ Π²ΡΠ΅ Π΅ΡΠ΅ Π½Π΅ ΡΠ²Π΅ΡΠ΅Π½Ρ Π² ΡΠ²ΠΎΠ΅ΠΉ ΡΠΎΠ»ΠΎΠΌΠΈΠ½ΠΊΠ΅ ΠΈ Π΄ΡΠΌΠ°Π΅ΡΠ΅ ΠΎ Π²ΡΠ±ΠΎΡΠ΅ Π°Π½Π°Π»ΠΎΠ³ΠΈΡΠ½ΠΎΠ³ΠΎ ΡΠΎΠ²Π°ΡΠ°, AliExpress — ΠΎΡΠ»ΠΈΡΠ½ΠΎΠ΅ ΠΌΠ΅ΡΡΠΎ Π΄Π»Ρ ΡΡΠ°Π²Π½Π΅Π½ΠΈΡ ΡΠ΅Π½ ΠΈ ΠΏΡΠΎΠ΄Π°Π²ΡΠΎΠ². ΠΡ ΠΏΠΎΠΌΠΎΠΆΠ΅ΠΌ Π²Π°ΠΌ ΡΠ°Π·ΠΎΠ±ΡΠ°ΡΡΡΡ, ΡΡΠΎΠΈΡ Π»ΠΈ Π΄ΠΎΠΏΠ»Π°ΡΠΈΠ²Π°ΡΡ Π·Π° Π²ΡΡΠΎΠΊΠΎΠΊΠ°ΡΠ΅ΡΡΠ²Π΅Π½Π½ΡΡ Π²Π΅ΡΡΠΈΡ ΠΈΠ»ΠΈ Π²Ρ ΠΏΠΎΠ»ΡΡΠ°Π΅ΡΠ΅ ΡΡΠΎΠ»Ρ ΠΆΠ΅ Π²ΡΠ³ΠΎΠ΄Π½ΡΡ ΡΠ΄Π΅Π»ΠΊΡ, ΠΏΡΠΈΠΎΠ±ΡΠ΅ΡΠ°Ρ Π±ΠΎΠ»Π΅Π΅ Π΄Π΅ΡΠ΅Π²ΡΡ Π²Π΅ΡΡ.Π Π΅ΡΠ»ΠΈ Π²Ρ ΠΏΡΠΎΡΡΠΎ Ρ ΠΎΡΠΈΡΠ΅ ΠΏΠΎΠ±Π°Π»ΠΎΠ²Π°ΡΡ ΡΠ΅Π±Ρ ΠΈ ΠΏΠΎΡΡΠ°ΡΠΈΡΡΡΡ Π½Π° ΡΠ°ΠΌΡΡ Π΄ΠΎΡΠΎΠ³ΡΡ Π²Π΅ΡΡΠΈΡ, AliExpress Π²ΡΠ΅Π³Π΄Π° ΠΏΠΎΠ·Π°Π±ΠΎΡΠΈΡΡΡ ΠΎ ΡΠΎΠΌ, ΡΡΠΎΠ±Ρ Π²Ρ ΠΌΠΎΠ³Π»ΠΈ ΠΏΠΎΠ»ΡΡΠΈΡΡ Π»ΡΡΡΡΡ ΡΠ΅Π½Ρ Π·Π° ΡΠ²ΠΎΠΈ Π΄Π΅Π½ΡΠ³ΠΈ, Π΄Π°ΠΆΠ΅ ΡΠΎΠΎΠ±ΡΠ°Ρ Π²Π°ΠΌ, ΠΊΠΎΠ³Π΄Π° Π²Π°ΠΌ Π±ΡΠ΄Π΅Ρ Π»ΡΡΡΠ΅ Π΄ΠΎΠΆΠ΄Π°ΡΡΡΡ Π½Π°ΡΠ°Π»Π° ΡΠ΅ΠΊΠ»Π°ΠΌΠ½ΠΎΠΉ Π°ΠΊΡΠΈΠΈ. ΠΈ ΠΎΠΆΠΈΠ΄Π°Π΅ΠΌΠ°Ρ ΡΠΊΠΎΠ½ΠΎΠΌΠΈΡ.AliExpress Π³ΠΎΡΠ΄ΠΈΡΡΡ ΡΠ΅ΠΌ, ΡΡΠΎ Ρ Π²Π°Ρ Π²ΡΠ΅Π³Π΄Π° Π΅ΡΡΡ ΠΎΡΠΎΠ·Π½Π°Π½Π½ΡΠΉ Π²ΡΠ±ΠΎΡ ΠΏΡΠΈ ΠΏΠΎΠΊΡΠΏΠΊΠ΅ Π² ΠΎΠ΄Π½ΠΎΠΌ ΠΈΠ· ΡΠΎΡΠ΅Π½ ΠΌΠ°Π³Π°Π·ΠΈΠ½ΠΎΠ² ΠΈ ΠΏΡΠΎΠ΄Π°Π²ΡΠΎΠ² Π½Π° Π½Π°ΡΠ΅ΠΉ ΠΏΠ»Π°ΡΡΠΎΡΠΌΠ΅. Π Π΅Π°Π»ΡΠ½ΡΠ΅ ΠΏΠΎΠΊΡΠΏΠ°ΡΠ΅Π»ΠΈ ΠΎΡΠ΅Π½ΠΈΠ²Π°ΡΡ ΠΊΠ°ΡΠ΅ΡΡΠ²ΠΎ ΠΎΠ±ΡΠ»ΡΠΆΠΈΠ²Π°Π½ΠΈΡ, ΡΠ΅Π½Ρ ΠΈ ΠΊΠ°ΡΠ΅ΡΡΠ²ΠΎ ΠΊΠ°ΠΆΠ΄ΠΎΠ³ΠΎ ΠΌΠ°Π³Π°Π·ΠΈΠ½Π° ΠΈ ΠΏΡΠΎΠ΄Π°Π²ΡΠ°.ΠΡΠΎΠΌΠ΅ ΡΠΎΠ³ΠΎ, Π²Ρ ΠΌΠΎΠΆΠ΅ΡΠ΅ ΡΠ·Π½Π°ΡΡ ΡΠ΅ΠΉΡΠΈΠ½Π³ΠΈ ΠΌΠ°Π³Π°Π·ΠΈΠ½Π° ΠΈΠ»ΠΈ ΠΎΡΠ΄Π΅Π»ΡΠ½ΡΡ ΠΏΡΠΎΠ΄Π°Π²ΡΠΎΠ², Π° ΡΠ°ΠΊΠΆΠ΅ ΡΡΠ°Π²Π½ΠΈΡΡ ΡΠ΅Π½Ρ, Π΄ΠΎΡΡΠ°Π²ΠΊΡ ΠΈ ΡΠΊΠΈΠ΄ΠΊΠΈ Π½Π° ΠΎΠ΄ΠΈΠ½ ΠΈ ΡΠΎΡ ΠΆΠ΅ ΠΏΡΠΎΠ΄ΡΠΊΡ, ΠΏΡΠΎΡΠΈΡΠ°Π² ΠΊΠΎΠΌΠΌΠ΅Π½ΡΠ°ΡΠΈΠΈ ΠΈ ΠΎΡΠ·ΡΠ²Ρ, ΠΎΡΡΠ°Π²Π»Π΅Π½Π½ΡΠ΅ ΠΏΠΎΠ»ΡΠ·ΠΎΠ²Π°ΡΠ΅Π»ΡΠΌΠΈ. ΠΠ°ΠΆΠ΄Π°Ρ ΠΏΠΎΠΊΡΠΏΠΊΠ° ΠΈΠΌΠ΅Π΅Ρ Π·Π²Π΅Π·Π΄Π½ΡΠΉ ΡΠ΅ΠΉΡΠΈΠ½Π³ ΠΈ ΡΠ°ΡΡΠΎ ΠΈΠΌΠ΅Π΅Ρ ΠΊΠΎΠΌΠΌΠ΅Π½ΡΠ°ΡΠΈΠΈ, ΠΎΡΡΠ°Π²Π»Π΅Π½Π½ΡΠ΅ ΠΏΡΠ΅Π΄ΡΠ΄ΡΡΠΈΠΌΠΈ ΠΊΠ»ΠΈΠ΅Π½ΡΠ°ΠΌΠΈ, ΠΎΠΏΠΈΡΡΠ²Π°ΡΡΠΈΠΌΠΈ ΠΈΡ ΠΎΠΏΡΡ ΡΡΠ°Π½Π·Π°ΠΊΡΠΈΠΉ, ΠΏΠΎΡΡΠΎΠΌΡ Π²Ρ ΠΌΠΎΠΆΠ΅ΡΠ΅ ΠΏΠΎΠΊΡΠΏΠ°ΡΡ Ρ ΡΠ²Π΅ΡΠ΅Π½Π½ΠΎΡΡΡΡ ΠΊΠ°ΠΆΠ΄ΡΠΉ ΡΠ°Π·. ΠΠΎΡΠΎΡΠ΅ Π³ΠΎΠ²ΠΎΡΡ, Π²Π°ΠΌ Π½Π΅ Π½ΡΠΆΠ½ΠΎ Π²Π΅ΡΠΈΡΡ Π½Π°ΠΌ Π½Π° ΡΠ»ΠΎΠ²ΠΎ — ΠΏΡΠΎΡΡΠΎ ΡΠ»ΡΡΠ°ΠΉΡΠ΅ ΠΌΠΈΠ»Π»ΠΈΠΎΠ½Ρ Π½Π°ΡΠΈΡ Π΄ΠΎΠ²ΠΎΠ»ΡΠ½ΡΡ ΠΊΠ»ΠΈΠ΅Π½ΡΠΎΠ².
Π Π΅ΡΠ»ΠΈ Π²Ρ Π½ΠΎΠ²ΠΈΡΠΎΠΊ Π½Π° AliExpress, ΠΌΡ ΠΎΡΠΊΡΠΎΠ΅ΠΌ Π²Π°ΠΌ ΡΠ΅ΠΊΡΠ΅Ρ.ΠΠ΅ΠΏΠΎΡΡΠ΅Π΄ΡΡΠ²Π΅Π½Π½ΠΎ ΠΏΠ΅ΡΠ΅Π΄ ΡΠ΅ΠΌ, ΠΊΠ°ΠΊ Π²Ρ Π½Π°ΠΆΠΌΠ΅ΡΠ΅ Β«ΠΊΡΠΏΠΈΡΡ ΡΠ΅ΠΉΡΠ°ΡΒ» Π² ΠΏΡΠΎΡΠ΅ΡΡΠ΅ ΡΡΠ°Π½Π·Π°ΠΊΡΠΈΠΈ, Π½Π°ΠΉΠ΄ΠΈΡΠ΅ Π²ΡΠ΅ΠΌΡ, ΡΡΠΎΠ±Ρ ΠΏΡΠΎΠ²Π΅ΡΠΈΡΡ ΠΊΡΠΏΠΎΠ½Ρ — ΠΈ Π²Ρ ΡΡΠΊΠΎΠ½ΠΎΠΌΠΈΡΠ΅ Π΅ΡΠ΅ Π±ΠΎΠ»ΡΡΠ΅. ΠΡ ΠΌΠΎΠΆΠ΅ΡΠ΅ Π½Π°ΠΉΡΠΈ ΠΊΡΠΏΠΎΠ½Ρ ΠΌΠ°Π³Π°Π·ΠΈΠ½Π°, ΠΊΡΠΏΠΎΠ½Ρ AliExpress ΠΈΠ»ΠΈ ΡΠΎΠ±ΠΈΡΠ°ΡΡ ΠΊΡΠΏΠΎΠ½Ρ ΠΊΠ°ΠΆΠ΄ΡΠΉ Π΄Π΅Π½Ρ, ΠΈΠ³ΡΠ°Ρ Π² ΠΈΠ³ΡΡ Π² ΠΏΡΠΈΠ»ΠΎΠΆΠ΅Π½ΠΈΠΈ AliExpress. ΠΠΌΠ΅ΡΡΠ΅ Ρ Π±Π΅ΡΠΏΠ»Π°ΡΠ½ΠΎΠΉ Π΄ΠΎΡΡΠ°Π²ΠΊΠΎΠΉ, ΠΊΠΎΡΠΎΡΡΡ ΠΏΡΠ΅Π΄Π»Π°Π³Π°ΡΡ Π±ΠΎΠ»ΡΡΠΈΠ½ΡΡΠ²ΠΎ ΠΏΡΠΎΠ΄Π°Π²ΡΠΎΠ² Π½Π° Π½Π°ΡΠ΅ΠΌ ΡΠ°ΠΉΡΠ΅, Π²Ρ ΡΠΌΠΎΠΆΠ΅ΡΠ΅ ΠΏΡΠΈΠΎΠ±ΡΠ΅ΡΡΠΈ ΡΠΎΠ»ΠΎΠΌΠΊΡ diy ΠΏΠΎ ΡΠ°ΠΌΠΎΠΉ Π²ΡΠ³ΠΎΠ΄Π½ΠΎΠΉ ΡΠ΅Π½Π΅.
Π£ Π½Π°Ρ Π²ΡΠ΅Π³Π΄Π° Π΅ΡΡΡ Π½ΠΎΠ²Π΅ΠΉΡΠΈΠ΅ ΡΠ΅Ρ Π½ΠΎΠ»ΠΎΠ³ΠΈΠΈ, Π½ΠΎΠ²Π΅ΠΉΡΠΈΠ΅ ΡΠ΅Π½Π΄Π΅Π½ΡΠΈΠΈ ΠΈ ΡΠ°ΠΌΡΠ΅ ΠΎΠ±ΡΡΠΆΠ΄Π°Π΅ΠΌΡΠ΅ Π»Π΅ΠΉΠ±Π»Ρ.ΠΠ° AliExpress ΠΎΡΠ»ΠΈΡΠ½ΠΎΠ΅ ΠΊΠ°ΡΠ΅ΡΡΠ²ΠΎ, ΡΠ΅Π½Π° ΠΈ ΡΠ΅ΡΠ²ΠΈΡ Π²ΡΠ΅Π³Π΄Π° Π² ΡΡΠ°Π½Π΄Π°ΡΡΠ½ΠΎΠΉ ΠΊΠΎΠΌΠΏΠ»Π΅ΠΊΡΠ°ΡΠΈΠΈ. ΠΠ°ΡΠ½ΠΈΡΠ΅ ΡΠ°ΠΌΡΠΉ Π»ΡΡΡΠΈΠΉ ΡΠΎΠΏΠΏΠΈΠ½Π³ ΠΏΡΡΠΌΠΎ Π·Π΄Π΅ΡΡ.
ΠΠ°ΠΊ ΡΠ΄Π΅Π»Π°ΡΡ ΡΠ°ΠΌΠΎΠ»Π΅ΡΠΈΠΊΠΈ ΠΈΠ· ΡΠΎΠ»ΠΎΠΌΡ ΠΈ Π±ΡΠΌΠ°Π³ΠΈ | ΠΈΠ½ΡΡΡΡΠΊΡΠΈΠΈ
- ΠΡΠΈΠ»ΠΎΠΆΠ΅Π½ΠΈΠ΅
- Π‘ΠΌΠΎΡΡΠ΅ΡΡ Π²ΠΆΠΈΠ²ΡΡ
- ΠΠΎΠ»Π½ΡΠ΅ ΡΠΏΠΈΠ·ΠΎΠ΄Ρ
- ΠΠΎΠΉΡΠΈ
- ΠΡΠΎΡΠΈΠ»Ρ
- ΠΡΠΉΡΠΈ
- Π Π΅Π³ΠΈΡΡΡ
- ΠΠΎΠΊΠ°Π·ΡΠ²Π°Π΅Ρ
- ΠΡΠ½ΠΎΠ²Π½ΠΎΠΉ
- ΠΏΡΠΎΠ³ΡΠ°ΠΌΠΌΠ° ΠΏΠ΅ΡΠ΅Π΄Π°Ρ
- Π‘Π΄Π΅Π»Π°ΠΉ ΡΠ°ΠΌ
- ΠΠΎΠΊΠ°Π·ΡΠ²Π°Π΅Ρ ΠΎΡ Π Π΄ΠΎ Π―
- Π₯ΠΎΡΡΡ ΠΎΡ Π Π΄ΠΎ Π―
ΠΡΡΡΠΈΠ΅ ΡΠΎΡ
- Barnwood Builders
- ΠΠΎΠ»ΡΡΠΎΠΉ ΠΏΠ»ΡΠΆ Π‘ΡΡΠΎΠΈΡ
- ΠΡΠΎΠ±Π½ΡΠΊΠΎΠ² ΡΠΎ ΡΠΊΠΈΠ΄ΠΊΠΎΠΉ
- ΠΠ΅ΡΠ²ΡΠ΅ Π»Π°ΡΡΡ
- Π₯ΠΎΠ»ΠΌΡ: Π‘Π»Π΅Π΄ΡΡΡΠ΅Π΅ ΠΏΠΎΠΊΠΎΠ»Π΅Π½ΠΈΠ΅
- Π Π΅Π°Π±ΠΈΠ»ΠΈΡΠ°ΡΠΈΠΎΠ½Π½ΡΠΉ Π½Π°ΡΠΊΠΎΠΌΠ°Π½
- ΠΠΎΡΡΡΠ°Π½ΠΎΠ²Π»Π΅Π½ΠΎ
- Salvage Dawgs
- ΠΠΎΠ·ΡΠΎΠΆΠ΄Π΅Π½ΠΈΠ΅ ΠΊΠ°ΠΌΠ΅Π½Π½ΠΎΠ³ΠΎ Π΄ΠΎΠΌΠ°
- ΠΡΠΎΠ΅ΠΊΡ Vanilla Ice
Π₯ΠΎΡΡΡ
- ΠΠΆΠ΅ΠΉΡΠΎΠ½ ΠΡΠΌΠ΅ΡΠΎΠ½
- ΠΠΆΠ΅ΡΡ ΠΠ΅Π²Π»ΠΈΠ½
- ΠΠΆΠΎΡ Π’Π΅ΠΌΠΏΠ»
- ΠΡΡΡ ΠΠ»Π°ΡΠΎΡ
- ΠΠΈΠΊΠΎΠ»Ρ ΠΠ΅ΡΡΠΈΡ
- ΠΠ°Π½ΠΈΠ»ΡΠ½ΡΠΉ Π»Π΅Π΄
- Π’Π°ΠΌΠ°ΡΠ° ΠΠ΅Π½Ρ
- ΠΡΠ΅ΡΡ Π£ΠΎΡΠ΅ΡΠΌΠ°Π½
- ΠΠ°ΡΠ½ΠΈ ΠΡΡΡΠ»Π΅Ρ
- Π‘ΠΊΠΎΡΡ ΠΠ°ΠΊΠΠΈΠ»Π»ΠΈΠ²ΡΠ΅ΠΉ
ΠΠΎΠ»Π½ΡΠ΅ ΡΠ΅ΡΠΈΠΈ
- Barnwood Builders
- Π‘ΡΡΠΎΠΈΡΠ΅Π»ΡΡΡΠ²ΠΎ Π²Π½Π΅ ΡΠ΅ΡΠΈ
- Maine Cabin Masters
- Pool Kings
- ΠΠΎΡΡΡΠ°Π½ΠΎΠ²Π»Π΅Π½ΠΎ
- Texas Flip N Move
ΠΠ΅ ΠΏΡΠΎΠΏΡΡΡΠΈΡΠ΅:
- ΠΠ΄Π΅ΠΈ ΠΎΠ·Π΅Π»Π΅Π½Π΅Π½ΠΈΡ ΠΏΠ΅ΡΠ΅Π΄Π½Π΅Π³ΠΎ Π΄Π²ΠΎΡΠ°
- 26 ΠΏΠΎΠΏΡΠ»ΡΡΠ½ΡΡ Π΄ΠΎΠΌΠ°ΡΠ½ΠΈΡ ΡΡΠΈΠ»Π΅ΠΉ
- Π‘ΡΠΈΠ»ΡΠ½ΠΎΠ΅ Ρ ΡΠ°Π½Π΅Π½ΠΈΠ΅ Π² Π²Π°Π½Π½ΠΎΠΉ
- 35 ΠΏΠ΅ΡΠ΅ΡΠ°Π±ΠΎΡΠ°Π½Π½ΡΡ ΠΏΠΎΠ΄Π΅Π»ΠΎΠΊ
- ΠΠ°ΠΊ ΠΏΠΎΡΡΡΠΎΠΈΡΡ Π½Π°Π±ΠΎΡ ΠΊΠΎΠ·Π»ΠΎΠ²ΠΎΠΉ ΡΠΌΡ
- ΠΠ°ΠΊ
Π‘Π΄Π΅Π»Π°ΡΡ ΠΈ ΡΠΊΡΠ°ΡΠΈΡΡ
- ΠΡΠ΄Π΅Π»ΠΊΠ°
- ΠΠΎΠ΄Π΅Π»ΠΊΠΈ
- Π Π°Π·Π²Π»Π΅ΠΊΠ°ΡΠ΅Π»ΡΠ½ΡΠ΅
- ΠΠ΅ΡΠ΅ΡΠ°Π±ΠΎΡΠΊΠ°
- Π‘Π²Π°Π΄ΡΠ±Ρ
- Pet Projects
- Π‘ΠΌ.



Π‘Π½ΠΈΠ·Ρ ΡΡΡΠ°Π½Π°Π²Π»ΠΈΠ²Π°ΡΡ ΠΊΡΠΎΠ½ΡΡΠ΅ΠΉΠ½ ΠΈ ΠΌΠ΅ΡΠ°Π»Π»ΠΈΡΠ΅ΡΠΊΡΡ ΠΏΠ»ΠΈΡΡ, ΠΊΡΠ΄Π° ΠΊΡΠ΅ΠΏΡΡ ΡΠ»Π΅ΠΊΡΡΠΎΠΌΠΎΡΠΎΡ. ΠΠ»ΠΈΡΠ° Π·Π°ΠΊΡΠ΅ΠΏΠ»ΡΠ΅ΡΡΡ ΠΏΡΠΈ ΠΏΠΎΠΌΠΎΡΠΈ Π±Π°ΠΊΠ°, ΠΈ ΠΊ Π½Π΅ΠΉ ΠΊΡΠ΅ΠΏΠΈΡΡΡ Π΄Π²ΠΈΠ³Π°ΡΠ΅Π»Ρ.
Π Π½Π΅ΠΌΡ ΠΏΡΠΈΠ²Π°ΡΠΈΠ²Π°Π΅ΡΡΡ ΠΈΠ·Π³ΠΎΡΠΎΠ²Π»Π΅Π½Π½ΡΠΉ Π·Π°ΡΠ°Π½Π΅Π΅ ΠΊΡΠΎΠ½ΡΡΠ΅ΠΉΠ½, Π½Π° ΠΊΠΎΡΠΎΡΡΠΉ Π±ΡΠ΄Π΅Ρ ΠΊΡΠ΅ΠΏΠΈΡΡΡΡ ΡΠ»Π΅ΠΊΡΡΠΎΠ΄Π²ΠΈΠ³Π°ΡΠ΅Π»Ρ.
ΠΠ°ΠΆΠ½ΠΎ! ΠΠ΅ΡΠ΅Π΄ ΡΡΠΈΠΌ Π½ΡΠΆΠ½ΠΎ ΠΎΠ±ΡΠ·Π°ΡΠ΅Π»ΡΠ½ΠΎ Π²ΡΠΏΡΡΡΠΈΡΡ ΠΈΠ· Π½Π΅Π³ΠΎ Π³Π°Π·.