Чертеж адаптера для мотоблока: Адаптер для мотоблока — виды, изготовление, чертежи, этапы сборки
Адаптер для мотоблока [как крепить, как сделать своими руками]
Владельцы огородов и ферм привыкли ухаживать за своим хозяйством вручную. Однако если у вас имеется территория площадью до одного гектара, без помощи специальной техники вам будет очень сложно все обработать вовремя и должным образом. В продаже можно найти такую многофункциональную машину, как мотоблок или мотокультиватор.
Именно благодаря широкому выбору навесного оборудования вы сможете значительно расширить возможности агрегата. Косить траву, обрабатывать почву, сажать картошку и выкапывать ее, убирать территорию, поливать растения — все это возможно благодаря достаточно доступному по цене мотоблоку и дополнительным инструментам к нему.
В странах СНГ большой популярностью пользуются именно машины от компании «Красный Октябрь» под названием «Нева».
Что такое адаптер и каково его предназначение?
Как уже говорилось выше, адаптер к мотоблоку нужен лишь в том случае, если вы хотите переделать агрегат в минитрактор. Это возможно сделать с очень мощными машинами, работающими на дизельном топливе или бензине. Ведь вы будете не просто использовать ее в прямом назначении, но и будете ехать, перевозить очень тяжелые грузы.
Следовательно, мотоблок должен выдерживать большие нагрузки.
По сути конструкция адаптера очень проста. Он выглядит как тележка, на которым прикреплены разные детали, как:
- сцепки для крепления мотоблока и переходник для навесного оборудования;
- сидение для водителя;
- колеса;
- рама для крепления основных элементов;
- руль.

Когда вы переделываете агрегат под минитрактор, вы можете еще больше расширить его возможности, так как у вас появится возможность крепить уже самодельное навесное оборудование. Конечно, сравнение с минитрактором в какой-то степени условно, ведь мощность техники будет такой же, как и мощность самого мотоблока, а, если точнее, его двигателя. Минитракторы же имеют больше лошадиных сил. Вы также можете модернизировать оборудование еще больше, сделав навес от солнца. С такой машиной вам не будут страшны изнурительные земельные работы под палящим солнцем, а ваше здоровье вам в итоге точно скажет спасибо.
Большинство адаптеров имеет конструкцию, которая подразумевает крепление тележки, в которой можно перевозить грузы. Также может быть подъемный рычаг, что еще больше упрощает процесс управления и пользования. Есть две сцепки: к первой вы крепите сам мотоблок «Нева», а ко второй — любое навесное оборудование. К тому же механизм идет с рулем, что улучшает его маневренность.
Колесная база делается очень прочная, так как она должна выдерживать большие нагрузки, ведь вы будете ехать на агрегате сами, а также можете перевозить большие грузы. Вы можете использовать машину в любых условиях, даже самых сложных. Однако помните, что по правилам строго запрещено на таком оборудовании выезжать на оживленную трассу.
Вы можете передвигаться только по сельской местности и на небольшие расстояния.
Из чего состоит адаптер для мотоблока?
Передний адаптер к мотоблоку – прекрасное дополнение, которое сделает вашу технику еще более универсальной. В первом варианте, его соединяют с тяговым устройством и в результате получают средство передвижения с четырьмя колесами. Если же рассматривать именно передний адаптер на мотоблок, тогда моторизованный агрегат подсоединяют сзади, и он выполняет функцию толкателя. Немаловажным фактом является запрет передвижения на таких транспортных средствах по общественным автотрассам. Некоторые заводские модели снабжены подъемными рычагами, что значительно упрощает управление конструкции и ее передвижение по дачному участку.
Главная цель здесь – перевозка грузов. Сегодня никого не удивишь, что адаптер для мотоблока своими руками можно сконструировать в домашних условиях. В этом нет ничего особенного, поскольку такая конструкция является тележкой на двух колесах, закрепленной к мотоблоку. Она состоит из рамы, к которой крепят двухколесное шасси. Другой незаменимый элемент этой конструкции называется дышло. Это могут быть две трубы квадратного или круглого сечения. С их помощью тележку закрепляют к «моторизованной технике», которая и тянет за собой прицеп. Его усилие передается на два колеса, благодаря чему, создается крутящий момент. К этому аппарату присоединяют самое разное навесное оборудование.Виды адаптеров для мотоблоков
Несмотря на то, что все адаптеры для мотоблока очень похожи, все же в продаже вы можете найти разные виды, как:
- Задний с рулевым управлением.
С таким адаптером вы можете переделать устройство в минитрактор, и при этом сохранить силу используемого двигателя. Сцепка находится впереди адаптера, за которую он и крепится к основному агрегату. В комплекте вы найдете такие составляющие, как рама, руль, два колеса, сидение, педаль газа и тормоза, сцепление. В задней части находится другая сцепка для инструментов по обработке земли и уходу за вашим участком; - Передний адаптер к мотоблоку «Нева». Похож на задний вариант, но при этом сцепка для крепления к мотоблоку находится впереди. У вас появится возможность установится грунтозацепы или колеса большого диаметра, что создаст лучшее сцеплением с поверхностью земли и утяжелит весь агрегат. Также передний адаптер для мотоблока можно полностью разобрать, что его использование более практичным.
Как сделать адаптер к мотоблоку Нева своими руками?
Обязательные элементы конструкции
Конструктивно самодельный адаптер к мотоблоку содержит в себе следующие элементы:
- Рама.
Самоделка может быть объединена с адаптером для мотоблока и самим агрегатом. В этом случае подготавливается специальный чертеж адаптера, и вся конструкция становится единым целым. - Подвеска. Данное устройство изготавливают без упругих элементов. Однако сама конструкция может быть осевой, поворотной, мостовой.
- Приспособление для оборудования. В частности, навесной плуг крепят к специальному подъемному механизму сзади. На передний адаптер к мотоблоку крепят нож с отвалом или тяжелый бокорез.
- Сцепное устройство. Данный элемент обеспечивает крепление адаптера к мотоблоку. Благодаря этому, у транспортного средства появляется надежная устойчивость.
- Тормоз. Его не нужно специально конструировать, поскольку для мотоблоков тормоз предусматривают заранее.
- Чертежи и размеры. Разработку чертежей заказывают специалистам, а размеры адаптера для мотоблока переднего, указывает заказчик.
- Рабочее место владельца конструкции. Передний адаптер для мотоблока обязательно оборудуется сиденьем.
Рабочее место должно быть безопасно не только при движении, но и при работе. - Рулевое управление. Можно приобрести готовый механизм в автомобильном магазине. Если его попытаться изготовить самостоятельно, значит, потребуется специальная схема. Но, устанавливая адаптер к мотоблоку своими руками, придется учитывать особенности медленного передвижения данной спецтехники.
- Подъемник. Без этого приспособления навесное оборудование не установить.
Вам понадобится, в первую очередь, сам мотоблок — Нева или любой другой, а также такое оборудование:
- два хороших колеса;
- удобное сидение;
- уголки, листы и трубы из стали;
- аппарат для сварки элементов;
- дополнительные инструменты.

Пошаговая сборка адаптера для мотоблока
Процесс работы включает такие основные этапы:
- Разработка кинематической схемы. Вы можете взять подходящую в сети Интернет, а после этого ее доделать именно под себя, а можете сделать новые чертежи своими руками. Важно уделить достаточно внимания обеспечению равновесия всей конструкции;
- Изготовление основной рамы. Важно предусмотреть вилку с втулкой, чтобы прицеп мог поворачиваться;
- Изготовление кузова. Здесь вы также можете приобрести подходящий или сделать свой. Основой послужит лист из стали, при этом борта должны быть высотой не менее 30 сантиметров;
- Крепление сидения. Монтаж нужно проводить на расстоянии около 80 сантиметров от переднего конца рамы;
- Установка навесного оборудования;
- Тестирование. Обязательно протестируйте всю конструкцию, чтобы увидеть недоработки или ошибки. Вам будет сразу же все подправить или доделать;
- Покраска. Это необходимо, чтобы металлические детали не ржавели.

Если вы решили сделать адаптер своими руками, значит вы цените свое здоровье и хотите значительно улучшить возможности самого мотоблока. Минитрактора сегодня стоят очень дорого, поэтому многие умельцы выходят из ситуации, используя при этом практически подручные материалы. Вы сможете сэкономить и на покупке составляющих, и на покупке самого заводского оборудования.
Заключение
Адаптеры позволяют облегчить работу каждому владельцу мотоблоков и сделать ее более комфортной. Купив такое оборудование, вы сразу же оцените все его преимущества. Вам не нужно будет теперь прикладывать особых усилий во время вспашки даже очень старой земли.
Сделать адаптер к мотоблоку Нева или любому другому своими руками тоже не является сложной работой. К тому же вы сможете значительно сэкономить свои средства. Однако процесс включает и работу на сварочном аппарате, а здесь уже нужны умения.
Но это является единственной сложностью. В любом случае, если у вас есть желание сделать собственноручно оборудование, вы всегда найдете решение любых задач.
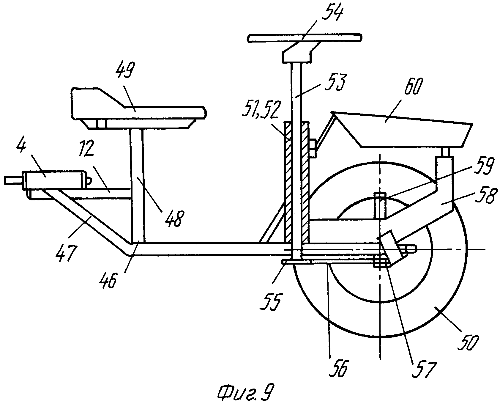
Адаптер для мотоблока чертежи и размеры
Любые работы, которые требуется проводить на собственном земельном участке, требуют вложения сил и времени. Именно это и является причиной того, что многие приобретают специальную технику для своих участков, например, те же мотоблоки. Ведь с их помощью можно прекрасно помочь себе же на участке в проведении многих работ. Но в таком случае обязательно нужно обустроить адаптер для мотоблока, без которого просто невозможно будет пропалывать, окучивать землю или убирать мусор, снег. Да, если покупать в магазине готовую технику, она обойдется в очень немалую копеечку. Но ведь, если у Вас есть фантазия, желание и умелые руки, всегда можно сделать адаптер к мотоблоку своими руками!
Размеры адаптеров мотоблока и существующие конструкции
Применения мотоблоком можно упростить в очень значительной мере, сделав навесное оборудование в качестве адаптера.
По сути, это переходное звено, при помощи которого агрегат связывается с иными элементами. Автоматизация работ будет прекрасной при помощи данного оборудования. Так, если скорость работы была 5 километров в час, с адаптером она будет уже 10 км/час.
В некоторых моделях имеется рычаг, при помощи которого осуществляется подъем. Это, конечно же, значительно упрощает управление механизма, а также передвижение мотоблока по дачной земле. Адаптер с рулем для мотоблока может быть использован для того, чтобы перевозить грузы, для чего их оборудуют кузовом. А дышла у них могут быть длинными или короткими, все зависит от основного предназначения устройства. Так, если говорить о моделях, в которых дышла короткие, то они предназначены работать с мотоблоками достаточно легкими и, наоборот, если длина дышла достаточно большая, они подходят для мотоблоков с тяжелым весом. Чтобы создать адаптер для мотоблока, чертежи и размеры делать не обязательно, но очень желательно. Их наличие существенно сделает легче проводимые работы!
Адаптер фиксируется к мотоблоку увеличенной сцепкой из двух частей:
1) Чтобы присоединить адаптер
2) Регулируемый переходник между оборудованием и механизмом
Как сделать адаптер к мотоблоку?
Обыкновенное сооружение – металлическая рама, сделанная из трубы, сечением 1.
7 м. К одному концу приварена труба – 50 см длиной, причем перпендикулярным способом. Она является основой, чтобы крепить стойки (30 см) под адаптерными колесами.
Далее необходимо приварить раскосы с самой главной центральной трубе и колесным втулкам. То, какой длины должны быть изделия, зависит от того, под каким углом они наклонены. Адаптерная рама может быть любых размеров, у нас она 40*40, см. Чтобы обустроить навесное оборудование, требуется приварить швеллер – десятку, длина которого 40 см. Крепится он к раме, а точнее к ее заднему торцу. Собирают боковые трубы при помощи болтов.
К самой раме также необходимо приварить рычаг, чтобы производить регулировку. В нем имеется 3 колена, длина каждого из них 20, 30, 50 см. Чтобы увеличить усилие, существующий рычаг дополняют еще одним, длина которого 75 см. Важно, чтобы сцепной узел был надежным. Сделать его также можно своими силами. А можно и купить в магазине. В общем-то, т качества сцепления, зависит и срок службы всего оборудования.
Вот и все, устройство готово. Также можете просмотреть наше видео, как сделать адаптер мотоблока.
Обустроить многофункциональную модель
В таком случае Вам пригодится:
· Трубочки и уголочки, листы стали
· Сидение — 1 шт., но удобное
· Инструменты, аппарат для сварки
Это многофункциональная модель адаптера, для самых разнообразных работ. К тому же, для этого Вам просто понадобится оборудовать агрегат соответствующими инструментами.
Производство адаптера дома
Первое, что нужно, составить кинематическую схему.
Чтобы конструкция держала равновесие, а также чтобы иные перегрузки были предупреждены. Кинематическая схема может создаваться своими руками, или покупается в готовом виде.
Второе – сделать основные детали.
В процессе изготовления и сборки рамы, можно сделать вилку и втулку, благодаря которой прицеп свободно поворачивает. Кузов производится из листа стали с высотой бортиков минимум 30 см.
Наиболее простым вар
виды, особенности и советы по созданию своими руками
Любая деятельность на земельном участке занимает массу времени и сил. По этой причине огородники все чаще применяют спецтехнику — такую, как мотоблоки. Однако сделать все посредством этого агрегата невозможно. Без специального адаптера вам не удастся перепалывать или окучивать землю, а также очищать территорию от снега и строительного мусора. Тележка с сиденьем для мотоблока в наше время стоит довольно внушительных денег. Впрочем, есть выход. Сегодня мы поговорим о том, каким образом можно выполнить самодельный адаптер для домашнего мотоблока без каких-либо особых усилий.
Описание адаптера для мотoблока
Адаптер представляет собой специальный модуль для перемещения на мотоблоке. С его помощью вы будете иметь возможность управлять агрегатом в сидячем положении и вместе с тем возделывать землю. К примеру, адаптер к мотоблоку МТЗ обладает рулевым управлением.
Его вполне возможно выполнить своими руками. Тому, как это можно сделать, посвящен один из разделов статьи ниже. А пока поговорим о назначении этого навесного оборудования.
При помощи адаптера можно значительно упростить применение этой домашней техники. Вы получите возможность менять насадки для окучивания или посадки картофеля, плоскореза, плуга и остальных приспособлений. Также адаптер ускоряет абсолютно любые огородные работы. Иначе говоря, если применять такое приспособление на практике, то скорость рабочих сил возрастет с 5 до 10−11 км/ч.
Особенности конструкции адаптера
Данное навесное оборудование включает в себя:
- раму;
- сиденье для посадки шофера;
- пару колес;
- колесную ось;
- устройство для сцепки.
То есть адаптер производит впечатление тележки, которая крепится к основной технике.
Вследствие этого она делается похожей на минитрактор.
Теперь поговорим о каждой составляющей подробно.
- Чтобы выполнить передний адаптер для мотоблока с рулевым управлением своими руками, в обязательном порядке требуется рама. К ней крепится кузов или сиденье для шофера. Монтируется рама на шасси.
- Для комфорта эксплуатации к раме прикрепляется сиденье для водителя. Так задумано для того, чтобы было приятно и легко управлять техникой в процессе огородных работ.
- Колеса и колесная ось упростят оператору огородные работы при помощи этого маленького трактора.
- Выделяют два типа колес для домашнего трактора — резиновые и металлические. Металлические колеса могут использоваться для надежной работы на полях. Резиновые колеса оснащены глубоким протекторным рисунком. Так они могут позволить оператору передвигать агрегат по грунтовым дорогам и, при необходимости, по бездорожью. Во всяком случае, колеса на адаптер поставляются при покупке в комплекте к самой технике.
Но если пользователь пожелает их поменять — нужно обратить внимание на их тип и размер. - Устройство для сцепки (крепления) с мотоблоком. Крепление для агрегата МТЗ изготавливается из стали или чугуна, с применением сварочных работ. Сцепка представляет собой один из существенных составляющих узлов. Она осуществляет надежное соединение к части с мотором прицепного оборудования. Наиболее употребляемым считается П-образный узел крепления, ведь благодаря этому приспособлению транспортное средство оказывается более устойчивым.
Инструкция по изготовлению адаптера
Теперь расскажем о том, как самостоятельно выполнить для своего маленького трактора передний адаптер с рулевым управлением.
Для производства адаптера для мотоблока с рулевым управлением вам будут необходимы такие материалы:
- Два одинаковых колеса на оси. Радиус колес колеблется в границах 15−18 дюймов.
Могут сгодиться колеса даже от старой советской «Волги». - Подшипники для рулевой колес и колонки.
- Сталь для рамы (швеллер, труба или уголок).
- Элементы крепежа (шайбы, болты, гайки).
- Смазочные материалы (литол или солидол).
- Расходные материалы (сверла, электроды, диски для болгарки).
- Комплект гаечных ключей.
- Болгарка.
- Сварочный аппарат.
- Дрель.
Перед началом работ важно учесть, что колеса должны иметь не очень большой или маленький радиус.
Алгоритм действий
Приступаем к изготовлению навесного оборудования для мотоблока.
Прежде всего понадобятся чертежи, в соответствии с которыми будет выполняться крепление и изготовление всех частей. Чертеж схемы адаптера к мотоблоку от МТЗ можете выполнить самостоятельно, тем более если вы обладаете надлежащими навыками. Если же опасаетесь допустить погрешность в расчетах, то можно обратиться к материалам в Сети на специализированных сайтах или форумах.
По ним, согласно отзывам и практике, вполне можно самостоятельно выполнить самый бесхитростный адаптер для мотоблока.
Важно! Прежде чем начать работы по чертежам, в обязательном порядке проконтролируйте соответствие размеров и цифр.
Для изготовления рулевого адаптера для мотоблока потребуется рама со втулкой и вилкой. Это обеспечит свободное вращение мотоблока посредством руля.
- Все будет начинаться с изготовления рамы. Выполнить ее можно из нарезанных кусков выбранной стали требуемой длины. Металл можно разделить болгаркой и скрепить элементы электросваркой или болтами.
- Далее сооружаем ходовую часть. Если мотор вашего мотоблока располагается впереди, следовательно, размер колеи необходимо обуславливать основными колесами. Задние устанавливаются к раме при помощи оси. Создать ее можно из фрагмента трубы подходящей ширины. На концах данной трубы запрессовываем подшипники со втулками.
На них и будут устанавливаться колеса. Если двигатель мотоблока располагается сзади, то тогда ширина колеи обязана быть больше, в противном случае минитрактор не будет способен нормально держать ход в период работы. В подобной ситуации базовые колеса мотоблока оптимальнее будет снять и заново установить, но уже на более просторный мост. - Чтобы сделать руль к агрегату, не требуется дополнительно снимать рукоятки у автомобиля или мотоцикла. Хватит использования рукоятки. Иначе говоря, у оператора будет возможность управлять минитрактором рулем, который на вид напоминает мотоциклетный. Впрочем, с ним оператору не удастся нормально сдавать назад. Именно поэтому предпочтительнее будет смонтировать рулевую колонку на минитрактор.
- При эксплуатации цельнометаллической рамы рулевое регулирование будет интегрироваться с передней осью мотоблока. Можно изготовить шарнирно-сочлененную опору, тогда управляющая колона будет вращать переднюю полураму целиком. Для этого мастеру понадобится прикрепить зубчатую шестерню к передней полураме.
Вторую шестерню устанавливают на рулевую колонку. - Сиденье, которое можно предварительно снять с какого-нибудь легкового автомобиля, нужно приварить к раме салазки. Мастеру необходимо проследить, чтобы оно регулировалось, в особенности при управлении передним адаптером, прикрепленным к мотоблоку.
- Если вы намереваетесь применять минитрактор для работы с плугами и культиваторами, то вам потребуется дополнительное приваривание кронштейна. Для работы с навесным приспособлением необходимо смонтировать вспомогательную гидравлическую систему. Насос для нее можно без проблем демонтировать с сельскохозяйственной техники. Если вам предстоит работа с полуприцепами, то необходимо позаботиться о дополнительной приварке фаркопа к задней части рамы. Он также успешно может быть позаимствован от легкового автомобиля.
- Крепление (сцепку) можно выполнить своими руками. Для этого понадобятся чертежи, которые легко разыскиваются в статьях по верхним результатам нужной темы. А мы поговорим о том, как именно осуществить сцепку.

Чтобы сделать сцепку П-образного типа, потребуется металлический швеллер подходящей толщины и размера. Сцепку крепят к мотоблоку под рулевую колонку через предварительно просверленные отверстия в определенных местах. В них вставляют кронштейн и штыри. Важно проследить за тем, чтобы детали были качественными, это позволит избежать ненужных проблем в будущем и траты времени в настоящем. Все детали должны быть произведены из качественной высокопрочной стали.
На этом монтаж переднего адаптера на мотоблок типа «Нева» окончен. После завершения сборки останется только в обязательном порядке смазать минитрактор и подвергнуть проверке на предмет функционирования. После этого сборку адаптера можно оценивать как завершенную. Теперь можно благополучно заниматься требуемыми работами по земельным участкам с помощью новой техники.
Работа на мотоблоке с рулевым управлением
Скажем несколько слов об особенностях управления мотоблока с рулем, и почему при сборке рекомендуется выполнять именно такой вариант.
Не зря этот тип обычных и самодельных машин так популярен, ведь он имеет массу преимуществ:
- оператору не придется тратить свои силы на хождение за минитрактором;
- тяговый потенциал техники реализуется на все сто процентов;
- такой минитрактор более маневренный и функциональный;
- теперь для того чтобы обработать участок в отдалении от дома, не придется дополнительно перевозить мотоблок — на нем можно будет просто доехать, как на обычном автомобиле или тракторе;
- управление более облегченное и удобное, чем у других видов;
- теперь не потребуется держать в руках на весу всю массу этого тяжелого и громоздкого аппарата,
- появляется возможность быстро собрать и разобрать агрегат;
- детали управления значительно не модифицируются при переделке;
- хорошая сбалансированность по весу по осям.
Не будем здесь упоминать шумность работы и прочие характерные особенности, в принципе, всех тракторов. Скажем только об одном характерном недостатке — не очень надежной устойчивости, которая связана с подвижной сцепкой.
Однако плюсы, конечно, более впечатляющие.
Виды адаптеров для мотоблока
Существует несколько видов адаптеров для минитракторов, в том числе и для самодельных.
- С подъемным рычагом. Представленный вид подвесного оборудования упростит управление, передвижение по площадке.
- Для транспортировки грузов. Они снабжены особыми кузовами, способны выдерживать максимальную нагрузку.
- С длинным или коротким дышлом. Короткий тип — для легковесного типа, длинный — для тяжелого механизма.
- С телескопическим дышлом. Эта конструкция предусматривает регулировку ширины.
Разделяют данную технику и по виду конструкции:
Адаптер с рулевым управлением
Представленный вид предполагает жесткую фиксацию на мотоблоке. Рулевая передача выполняется в формате отдельного самостоятельного узла. Кроме того, пара колес, которая выполняет роль рулевого привода, устанавливается как спереди, так и сзади. Каждый из них ориентируется под личные предпочтения.
Положение рулевого привода также связано с запасными частями, ежедневным применением. Управлять «домашним» мини-трактором с самодельным адаптером ничуть не труднее, чем, к примеру, квадроциклом.
Адаптер с подвижной сцепкой
Подразумевает подвижное соединение прицепа к мотоблоку. Этой системой труднее управлять, но сделать такой модуль своими руками гораздо проще. При повороте предполагает больше усилий. Крепление модуля бывает так же заднее и переднее. Даже примитивное строение мотоблока предполагает распределение нагрузок. Потому рекомендуют сиденье в модуле размещать вблизи ведущей оси. Под весом оператора колеса мотоблока будут придавливают к грунту, что в процессе движения не допускает пробуксовки.
В конструировании адаптера и работе с минитрактором нет ничего сложного. Это доступно любому, кто задался целью заполучить на свой участок домашний трактор, который будет ежедневно облегчать труд человека.
Так что пробуйте проектировать, строить и создавать — и обрабатывайте землю с удовольствием.
различия передних и задних моделей, размеры полноприводных устройств с ручной тележкой, особенности механизма подъема навесного орудия
Заводские варианты прицепов
В настоящее время все больше производителей выпускают в промышленных масштабах прицепы различного назначения:
Рисунок 3. Схема конструирования и крепления колес.
- «Булат ПМБ-1», производства Украины, имеет размеры борта 1100х1300 мм. Его грузоподъемность составляет 350 кг. Оснащен литыми колесами.
- Украинские производители выпускают и прицеп марки «Мотор СИЧ АД-2В». Это грузовое приспособление размерами 1200х1300 мм грузоподъемностью 350 кг на литых колесах.
- «Булат ПМБ-1У» тоже производят украинские специалисты. Это самосвал с кузовом размером 1100х1400 мм. Его грузоподъемность — 450 кг. Колеса в комплект не входят.

- Украинский прицеп без колес «Булат ПМБ-2У» является самосвалом с размерами кузова 1300х1700 мм. Грузоподъемность кузова — 550 кг.
- «Мотор СИЧ ТС-1» с Украины имеет кузов-самосвал размерами 1200х1300 мм, грузоподъемность 350 кг, колеса в комплекте.
- Российский агрегат «Мобил К ТПМ-350-1» оснащен кузовом-самосвалом размерами 1000х1300 мм. Его грузоподъемность — 350 кг. Сделан из оцинкованного железа, оснащен колесами.
- Китайский самосвал «PRORAB ТТ-502» грузоподъемностью 380 кг имеет кузов 1100х1500 мм и литые колеса.
- Российский «КАДВИ ПМ-04» — прицеп бортового типа. Кузов 1150х1200 мм имеет грузоподъемность 500 кг, поставлен на пневмоколеса.
- «КАДВИ АМПК-500» с полным приводом — это прицеп с бортовым кузовом размерами 1100х1100 мм. Его грузоподъемность — 500 кг. Колеса идут в комплекте. Производство России.
- «Grillo G55-107» — это аппарат совместного производства России и Италии. Бортовой вариант с кузовом 1250-1400 мм. Грузоподъемность — 350 кг.
Оснащен колесами. - «Беларус МТЗ-750» производства Белоруссии — это бортовой вариант с кузовом 1200х1650 мм. Его грузоподъемность составляет 750 кг. Оснащен колесами.
Некоторые производители известных мотоблоков предлагают приобрести готовые наборы для переоборудования. Для изготовления мини-трактора они выпускают комплекты, в которые входят:
- рама несущая;
- защитный кожух для ремней;
- крылья;
- тормозной цилиндр с бачком;
- рычаги, которые блокируют полуоси;
- тормозной барабан;
- опорный диск;
- рулевая колонка;
- серьга.
Подобные комплекты выпускаются украинскими и китайскими производителями. Из них можно собрать мини-трактор вдвое дешевле, чем купить его в готовом виде.
Установка плуга на мотоблок: пошаговые действия
До того, как прицепить плуг к мотоблоку и начать настраивать его, сам тягловый агрегат должен пройти ряд подготовительных процедур. Они сводятся к:
- транспортировке мотоблока туда, где он будет использоваться;
- демонтажу колесного хода, который заменяется грунтозацепами.
В противном случае техника начнет пробуксовывать и может застрять.
После осуществления этих требований можно начинать установку плуга.
Она подразумевает:
- крепление плуга на сцепке мотоблока гайками, что позволит в будущем самостоятельно задавать его рабочие параметры;
- подготовить два крепящих штыря, которыми присоединить сцепки и плуг к серьге.
На этом задача по установке плуга заканчивается и можно приступать к следующей.
Модели
Из богатого перечня устройств для мотоблока можно выделить несколько вариантов, пользующихся популярностью у покупателей.
- «ХорсАМ ИС» – достаточно мощный подъемный механизм, оснащенный многофункциональным отвалом, большими багажниками спереди и сзади. Имеет габаритный прицеп, прочный плуг, культиватор и окучник.
- «АПМ-350» – модель заднего типа с неоцинкованным самосвальным кузовом и ленточными тормозами, выполнена на раме с двумя замками. Весит примерно 92 кг, отличается широкой расстановкой колес.

- «АМ-650» – мотоблочный адаптер с тормозами и сиденьем регулируемого типа. Оснащен задним подъемным механизмом, подходит для всех моделей мотоблоков (как отечественного, так и импортного производства).
- «КТЗ 03» – полноприводный передний мотоблочный адаптер, работающий по схеме 4х4 (с полным приводом), имеющий жесткую сцепку с мотоблоком. Оснащен мягким сиденьем с жестким креплением, но без продольной регулировки.
- «АМ-2» – универсальный вариант для сельскохозяйственных работ. Имеет рулевое управление, две педали для установки сцепления и включения заднего хода. Предусматривает установку навесного оборудования.
- «ПМ-05» – пахотно-ездовой модуль, подразумевающий работу с навесным оборудованием: косилкой, снегоуборщиком и окучником. Имеет прицепное сиденье и рабочую скорость движения до 10 км/ч.
Делаем адаптер для мотоблока своими руками
На данный момент, существует несколько разновидностей адаптера, как правило, их конструкции схожи, и представляют собой, крепящеюся к задней части мотоблока приспособу с удобным сиденьем.
Адаптер изготавливается из квадратного металлического профиля, длиной от 160 до 180 см. Поперек это профиля, приваривается еще один, размером 50-60 см, в зависимости от того, какая колея Вам нужна, (к ней крепятся стойки для колес). Высота стоек до оси колеса от верха до оси колеса адаптера может быть от 25 до 40 см, в зависимости от конструкции.
Далее к основному металлическому профилю и втулкам колес привариваются раскосы, они так же служат ребрами жесткости. Их длина зависит от угла наклона относительно всей конструкции и других параметров. Затем, рассчитывается и так же сваривается конструкция рамы, к которой будет крепиться навесное оборудование. Боковые направляющие этой конструкции, крепятся к колесным стойкам с помощью болтов.
После этого к основной раме приваривается рычаг управления, имеющий три колена, размерами 35, 55, 20 см. Чтобы увеличить прилагаемое усилие, к рычагу, крепится еще один рычаг, но уже размерами 80 см.
Сиденье адаптера, крепится на опору приваренной к центральному металлическому профилю.
Как видите, сделать адаптер к мотоблоку своими руками, не так уж и сложно.
Назначение адаптера
Здесь, я думаю все понятно, существует достаточно большое количество работ на земле, которое легче, быстрее и удобнее делать имея адаптер. А работая с таким навесным оборудованием как почвофреза, так вообще, безопаснее.
Схема конструкции адаптера к мотоблоку
Адаптер для мотоблока, представляет собой некое прицепное устройство, сделанное на раме и имеющее два колеса. Конструктивно, адаптеры делятся на несколько видов, по простому, они могут быть простыми и более сложными. Основными видами, считаются универсальные, это те, которые способны перевозить грузы и выполнять обработку почвы, и простые, способные выполнять только обработку почвы.
Для мотоблоков различной мощности, применяются разные адаптеры, на мало мощный, устанавливается адаптер с коротким дышлом, на мощный, с длинным. Так же, универсальные адаптеры, оснащены дополнительным функционалом, увеличение колеи, подъем навесного оборудования и т.д.
https://youtube.com/watch?v=c9649IKGpPI
Характеристики
Прицеп, который очень часто называют тележкой, используется для перевозки грузов, а также в комплекте с мотоблоком в качестве транспортного средства. Скорость передвижения тележки, сцепленной с мотоблоком, составляет 10 километров в час. Данное устройство не только позволяет транспортировать груз по сложной местности, но и усиливает устойчивость самого мотоблока. Вообще, стандартные размеры кузовов тележек выглядят следующим образом: 1,5 м длины, 1 м и 15 см ширины, а также высота в 27-28 см. С большой конкретикой основные характеристики прицепов можно рассмотреть на примере мотоблоков «Нева», для которых существует четыре основных модели устройств.
- Это может быть одноосная самосвальная тележка, способная перевозить до 250 килограммов груза. Весит прицеп 56 килограммов, его длина соответствует 110 сантиметрам, а ширина – 90 сантиметрам. Высота бортиков у такой тележки достигает 35 сантиметров.
- В наличии есть двухосная тележка-шасси, перевозящая 500 килограммов грузов. Сама она весит 40 килограммов. Высота бортиков у тележки такая же, как и у одноосной, впрочем, как и все остальные параметры.
- Для «Невы» подойдет тележка ТМП, на которой удастся увезти 250 килограммов. Сама конструкция весит больше всего – целых 150 килограммов. Длина тележки составляет 133 сантиметра, ширина – 110 сантиметров, а бортики обладают тридцатисантиметровой высотой.
- Существует тележка ТМП-М. Сама она весит 85 килограммов, а ее грузоподъемность составляет 150 килограммов. Бортики в этом случае достигают по высоте 25 сантиметров, длина – 140 сантиметров, а ширина – 82,5 сантиметров.
Адаптер для мотоблока
Мотоблок – многофункциональное устройство, которое здорово облегчает жизнь жителям сельской местности.
На нем можно и пахать, и сеять. А еще: убирать снег, косить траву и даже использовать, как тихоходное средство передвижения. Если вместе с мотоблоком используется навесное оборудование, или же планируется использовать мотоблок, как транспортное средство, то к нему обязательно нужно приобрести адаптер.
Адаптер для мотоблока, если говорить простым языком – это тележка с сиденьем, которая крепится к агрегату. Например, широкой популярностью пользуется прицепное сиденье КАДВИ, созданное в заводских условиях. Но многие умельцы изготавливают и самоделы. В Интернете можно найти множество чертежей, схем и фотографий. Главное преимущество адаптера заключается в том, что человек, управляющий мотоблоком, имеет возможность занять сидячее положение, что, несомненно, очень удобно.
Устройство адаптера
Адаптер состоит из следующих элементов:
- рама, которой крепятся остальные элементы;
- сиденье;
- колесная пара;
- устройство для сцепки с мотоблоком.

Последний элемент в списке – сцепное устройство должно обладать особой прочностью, потому что именно на него ложится основная нагрузка. Рекомендуется применять усиленную сцепку для мотоблока КАДВИ.
Функциональные особенности
Несомненно, наличие адаптера еще больше расширяет функционал мотоблока. Это происходит по следующим причинам:
- к адаптеру можно прицепить свое навесное оборудование. Например, плуг усиленный КАДВИ или окучник однорядный усиленный КАДВИ;
- многие адаптеры имеют дополнительное пространство для грузов – кузов, попросту говоря;
- наличие колесной базы адаптера повышает предельный уровень нагрузок, которые может выдержать мотоблок;
- многие модели адаптеров оснащены подъемным рычагом, который упрощает управление мотоблоком.
К сожалению для владельцев мотоблоков с адаптерами, правила дорожного движения не приветствуют появление мотоблоков на дорогах с оживленным движением.
Поэтому такой «мини-трактор» чаще всего используют в сельской местности, где нет ни потока машин, ни сотрудников полиции.
Впрочем, на таком средстве передвижения далеко и не уедешь. Максимум, в сельский магазин за хлебом. Но главное же то, что адаптер позволяет упростить труд, облегчить его. А перемещаться в пространстве лучше на автомобиле.
| Фото | Предназначение | Характеристики | Поробнее | ||||||||
| КАДВИ Прицепное сиденье для работы с навесным оборудованием. Мотоблок может изменять свою функциональность в зависимости от установленного навесного оборудования. На мотоблок чаще всего устанавливают плуг, сошник, снегоуборщик, насос и многое другое. Но самой незаменимой деталью является прицепное сиденье. |
|
|
|||||||||
Сцепка усиленная КАДВИ является одной из самых важных деталей мотоблока. При помощи этого механизма можно легко присоединить к мотоблоку плуг, картофелекопалку, окучник и многое другое. Усиленное крепление способно подключить в работу любое, даже самое тяжелое по весу дополнительное навесное оборудование. Конструкция усиленной сцепки позволяет регулировать глубину обработки, угол захвата в 2-х плоскостях. |
|
ГГде кГде куп иупитьде купить | |||||||||
| Плуг без сцепки усиленный предназначен для вспахивания почв (оборота и крошения пахотных слоев). Плуг, агретируемый с культиватором рекомендуется применять на ранее обработанной почве. Для того чтобы установить плуг на культиватор зачастую требуется сцепка. Представленный плуг не имеет сцепки, на его стойке имеется несколько отверстий, для того чтобы регулировать глубину вспашки. |
|
||||||||||
| Калужский окучник фирмы КАДВИ однорядный усиленный считается наиболее популярным и распространенным окучником среди покупателей в России. Его конструкция проста, надежна и позволяет задавать ширину получаемых грядок при помощи специальных регуляторов на самом окучнике. |
|
Просмотров: 3698
Дата: Четверг, 25 Июня 2015
Как сделать сцепку для мотоблока своими руками
Приобретая мотоблок, покупатели часто сталкиваются с проблемой ограниченных возможностей из-за минимальной заводской комплектации техники.
Решить этот вопрос можно покупкой сцепки фирменного производства. Более экономный вариант выхода из ситуации заключается в изготовлении сцепки своими руками.
Блок: 1/3 | Кол-во символов: 342
Источник: https://o-motoblokah.ru/navesnoe-oborudovanie/stsepka
Выбор сцепного устройства
Всякое прицепное либо навесное приспособление для мототехники, будь то тележка-прицеп, сенокосилка, окучник, борона или любое иное оснащение фиксируется посредством сцепки. Если базисный элемент не подходит, у хозяина имеется выбор – купить пригодную либо изготовить сцепку для агрегата собственными руками.
Как бы там ни было, решая, какой из вариантов механизма способен по максимуму отвечать функциям, которые исполняет агрегат, необходимо брать в расчет ряд факторов, в списке которых:
- отличительные черты культиватора либо мотоблока;
- сфера использования агрегата – обязанности, которые он исполняет;
- оснащение, которое будет с ним интегрироваться;
- нагрузки;
- потребность в многофункциональности.

Отталкиваясь от этого, необходимо тщательно ознакомиться с особенно часто практикуемыми устройствами и выбирать, беря за основу свойства того, что лучше всего подойдет в этом случае.
Блок: 2/5 | Кол-во символов: 1160
Источник: http://www.stroy-podskazka.ru/motobloki/scepka-svoimi-rukami/
Советы по сборке адаптера
Специальное оборудование для мотоблока спокойно может быть сделано почти любым мастером. Для создания адаптера нужно взять такую трубку, которая имеет прямое сечение, ее длина должна быть 1,7 м.
К одному из концов перпендикулярно придется приваривать трубу, длина которой будет 0,5 м. Эта часть будет основанием для удержания стоек под колеса. Высота стоек от оси до верхней части будет равняться 0,3 м. На новом этапе к центральной трубе и втулке колес нужно присоединить раскосы и зафиксировать их. Длина заготовки зависит от наклона и угла.
Квадратная рама может быть любого размера.
В нашем варианте будут разобраны следующие размеры: 0,4×0,4 м. Если вы собрались сделать такое навесное устройство для мотоблока самостоятельно, то к заднему торцу рамы нужно прикрепить швеллер, длина которого будет 0,4 м. Собрать боковые трубы в одну конструкцию можно при помощи болтов.
Для того чтобы у вас была возможность регулировки, стоит присоединить рычаг, который должен иметь 3 колена, их длина будет такой: 20, 30 и 50 сантиметров соответственно.
Для того чтобы увеличить прилагаемые силы, рычаг стоит дополнить 75-сантиметровым рычагом. Сцепной узел можно купить или сделать своими руками.
От качества сцепки зависит длительность использования нашего оборудования. На опору из металла нужно зафиксировать сиденье, которое присоединяется к центральной трубе. После этих выполненных действий можно считать, что вам удалось создать прекрасное оборудование для мотоблока. Его плюсами являются небольшая цена и легкость конструкции.
Советы по созданию сцепного узла
Если вы захотели изготовить это оборудование своими руками, то вы должны больше поработать с инструкцией по созданию сцепного узла. Самой легкой конструкцией будет 15-сантиметровый штырь, который ставят в отверстие дышла фаркопа устройства. В качестве недостатка такой возможности выступает очень быстрая изнашиваемость, ведь под воздействием крутящегося прицепа разбиваются дырки для сцепки.
Блок: 2/4 | Кол-во символов: 1991
Источник: https://tokar.guru/stanki-i-oborudovanie/motobloki/izgotovlenie-scepki-dlya-motobloka-svoimi-rukami.html
Как изготовить универсальное соединение?
Универсальная конструкция сцепки подстроит навесное оборудование к мотоблоку без люфта и свободного хода. Это в свою очередь облегчает работу на мотоблоке. Для изготовления такой сцепки своими руками не нужно много времени и чрезмерных усилий.
Используя это приспособление можно присоединить к мотоблоку:
- плуг;
- картофелесажалку;
- косилку;
- окучник;
- борону.

Чтобы создать качественное изделие на свой мотоблок, используется прочный металл. Также можно применять швеллеры, у них достаточный запас прочности, изготовлены по заводской технологии. Нужно проделать несколько дополнительных отверстий, самодельная сцепка почти готова.
Сцепка двойная универсальная к мотоблоку
Приспособление можно изготовить из прочного чугуна или стали. Но такие материалы требуют специального оборудования для обработки, поэтому лучше купить промышленные заготовки.
Если имеется специальные верстаки, можно сделать стальную заготовку нужной формы. Неплохая сцепка для прицепа мотоблока может получиться из автомобильного кардана.
к меню
Инструменты и материалы
Приспособление состоит из нескольких сложных частей. Перед началом работы необходимы чертежи, которые подходят для создания узла. Они должны быть проверенными и рабочими.
Материалы, которые необходимы для сборки:
- болты и стальные шпильки — это главные элементы крепления, они создают подвижные и неподвижные соединения;
- элемент регулировки — рычаг, который поможет изменить положение устройства;
- металлические заготовки — швеллеры из которых будет сварена основная часть.

Чертеж сцепки к мотоблоку
Чтобы собрать оборудование понадобится:
- сверло по металлу для создания отверстий;
- линейка для измерения;
- сварка по металлу;
- набор ключей чтобы затягивать винтовые соединения.
к меню
Как соеденить мотоблок с прицепом?
На мотоблок устройство крепится с помощью штырей. Они должны быть изготовлены из прочной стали. Шпильки и штыри продеваются в отверстия. Узел для соединения размещается или под рулем, или позади основного устройства. Если есть какие-то особенности соединения они указываются производителем прицепа или мотоблока.
Изготовленное своими руками соединение может пригодится не только чтобы присоединить плуг, прицеп и другие подобные приспособления, но также ее используют для сельской техники или мини-тракторов.
Перед тем как приступить к работе, необходимо проверить надежность узла, прокрутить все гайки и винты.
Если необходимо изменить положение подвижного соединения, для этого покрутить рукоятку винта в необходимом направлении.
После того как сельскохозяйственные работы будут закончены, нужно очистить резьбовые соединения и смазать их для предотвращения коррозии и поломок.
к меню
Адаптер для мотоблока своими руками (видео)
Блок: 3/3 | Кол-во символов: 2846
Источник: http://MoeZerno.ru/texnika/tillers/stsepka-dlya-motobloka-svoimi-rukami.html
Как сделать своими руками?
При выполнении своих функций сцепка для мотоблока будет переносить большие нагрузки, значит, необходимо соблюдать рекомендуемые прочностные и размерные параметры всех компонентов сборки.
Тогда будут обеспечены следующие свойства сцепного устройства:
- гарантия прочного сопряжения с мотоблоком;
- крепление к навесной оснастке;
- гарантия заявленных эксплуатационных свойств продукции;
- приемлемая цена;
- качество, продолжительный срок эксплуатации.
Подбирая модификацию, необходимо проверить габариты, тягово-прицепного устройства (фаркоп) мотоблока и навесного оснащения (борона, прицеп, плуг и другое).
Задача специалиста – обеспечить абсолютную сочетаемость компонентов, легкость в использовании и возможность быстро настраивать оснащение под определенную задачу.
Основной компонент многофункциональной сцепки являет собой держатель П-образной конфигурации. Сквозь отверстия с одной стороны он посредством штифтов фиксируется к мототехнике, со второй стороны на обшивку устройства закрепляется стойка требуемого навесного снаряжения.
Требуемые инструменты, материалы и приспособления
Имеется определенный комплект инструментов, которые нужны для создания сцепного устройства. В основном все, что необходимо для сборки таких элементов, имеется в хозяйстве каждого, кто возделывает собственный участок земли.
Понадобятся такие инструменты:
- углошлифовальная машина;
- электродрель либо сверлильный станок;
- измерительный инструментарий: угольник, рулетка, линейка;
- аппарат для сварки;
- комплект гаечных ключей;
- крепежные элементы (шпильки, болты).
Необходимо отметить, что в данной ситуации крайне важно, чтобы отверстия, которые будут сверлиться в детали, в аккурат совпадали со шпильками и болтами. Зазор в диаметре не нужен, потому как уменьшит период работы применяемых прицепов и навесов.
В то же время в ходе работы имеет значение прежде выполнять в элементе отверстия наименьшего диаметра (от 5 миллиметров), а затем рассверливать более большими сверлами (до 12-16 миллиметров, в соответствии в диаметрами болтов). Подобный способ форсирует и упростит данную часть работы, в то же время позволяя вымерить отверстия предельно верно. Для создания остова можно применять швеллер подобающего размера, а если он отсутствует, можно собрать элемент из железного листа.
Весьма практична модификация настраиваемой сцепки – подобная конструкция даст возможность связывать навесные приспособления различных поколений, классов и торговых марок. Несмотря на то что на текущий период такая конструкция не востребована, не нужно забывать, что в хозяйстве будут постепенно появляться различные приспособления, а возможность удобного агрегирования каждого из них серьезно увеличит выбор, давая возможность исходить лишь из нужных функциональных особенностей оснащения.
Чертежи
Сборка сцепного устройства для мототехники собственными силами предполагает применение чертежных материалов. Имеется достаточно много различных вариантов, но лучше брать за основу самый подходящий и откорректировать, учитывая характеристики собственной техники.
На чертеже должны быть отражены следующие элементы:
- 2 П-образные детали, равные по всем характеристикам, но с различным числом отверстий – в первом 6, во втором 8;
- корпус, содержащий 2 резьбы диаметрами М12 и М16 и оборудованный монтажной конструкцией для фиксации с одним из агрегатов;
- элемент настройки – рукоятка, размещенная на корпусе элемента, его структура включает в себя винт, связанный с держателем и для комфорта имеющий ручку (важно рассчитать точное направление держателя – исключительно вверх либо вниз и так, чтобы он не мешал в ходе функционирования мототехники).
Потому как мототехника при любых условиях предполагает сопряжение со сцепкой, тонкости расположения соединения сможете узнать в его настоящей инструкции.
Пошаговое руководство
Чтобы сделать многофункциональное соединение, необходима предельно ровная плоскость – специальный рабочий стол. План изготовления сцепного устройства для мотоблока таков.
- Произведите разметку согласно чертежу: наметьте на заготовке очертания элементов.
- Посредством электродрели либо сверлильного станка проделайте отверстия по меткам. Убедитесь в их правильности, применяя штангенциркуль и шпильку (болт), при помощи которого будет производиться фиксирование. Добейтесь подходящего диаметра отверстия, при котором люфт отсутствует, а крепежные элементы не клинят.
- Сварите соединения. Предпочтительнее использовать электродуговую сварку, при которой прогревание совершается исключительно в зонах соединений без какого-либо вреда для рабочих свойств стали.
- Выполните сборку детали. Свяжите держатель и швеллер посредством болтов. Если в конструкции имеется инструмент настройки, закрепите и его.
Крепежные детали, посредством которых сцепное устройство крепится на мотоблок сквозь отверстия в узлах, должны иметь то же качество и прочность, что и само устройство.
Вторично напомним, что деталь выполняется для того, чтобы универсальность мотоблока была предельной. При наличии идеально подходящего сцепного устройства возможна комфортное агрегирование и долговременное результативное эксплуатирование каждого подвесного либо прицепного оснащения, в том числе: адаптера, окучника, бороны, плуга, прицепа, всевозможных косилок, картофелесажалки и любых иных приспособлений.
А по той причине, что компоненты фиксации на различном оснащении могут отличаться, что обычно затрудняет возможность их способность к взаимодействию с мотоблоком, успешная конструкция сцепного устройства и возможность ее настройки решают данную задачу.
Монтаж на мототехнику навесного оснащения
Выполнив сборку детали, главное, грамотно ее присоединить. Приемы монтажа довольно просты, но важно их соблюдать. В сущности, пристыковка оснащения к мотоблоку сводится к довольно бесхитростному действию: необходимо сделать так, чтобы отверстия сцепного устройства и навески совпали и закрепить их посредством болтов либо штифтов. Радиальные отверстия дают возможность корректировать позицию соединительного устройства в ходе работы.
По завершении монтирования необходимо затянуть компоненты резьбового крепления устройства с мототехникой. Затем присоединяется навесное оснащение.
После первичного агрегирования приспособлений последует окончательная фиксация, которую необходимо выполнить прямо перед началом работы. Регулирующие элементы (болты) надо расслабить, отыскать идеальный уровень фиксирования, после этого затянуть гаечными ключами.
В зависимости от структуры на держатель может быть поставлен сменный штырь с резьбой, в который заворачивается болт М16.
Блок: 4/5 | Кол-во символов: 9482
Источник: http://www.stroy-podskazka.ru/motobloki/scepka-svoimi-rukami/
Чертежи сцепки мотоблока
Рассмотрим чертеж универсальной сцепки, к следующим типам мотоблоков: «Pubert Quatro», «Honda», «АГРО», «ОКА», «КАСКАД», «МБ-90», «НЕВА», «ФАВОРИТ», «САЛЮТ».
Предназначение сцепки универсальной в соединении с мотоблоком навесного оборудования: выкапывателя, плуга, окучника одно- и двухрядного и др.
Установление сцепки на мотоблок
Скоба сцепки устанавливается на скобу мотоблока, и крепится штырями. Желательно произвести фиксацию скобы сцепки распорными болтами М12х60, враспор к раме мотоблока.
Установление орудия на сцепку
На кронштейн стойки орудия нужно установить съемную ось сцепки.
В отверстие корпуса сцепки нужно вставить ось с резьбой М16 и накрутить в эту резьбу винт.
Нужно совместить отверстия под болтМ16х40 на стойке орудия и на корпусе сцепки. После чего это соединение закрепляется гайкой М12 и болтом М12х40.
Рекомендации при работе
Навесные орудия настраиваются и регулируются индивидуально, в зависимости от вида почвы, и мощности мотоблока. Специальная конструкция сцепки может регулироваться в разных диапазонах. Используя начальные настройки, нужно установить радиусные пазы сцепки на ноль поперечный угол захвата, и зафиксировать гайкой М12 и болтом М12. Также установить минимальным продольный угол захвата. Первый 3-5 метров движения внимательно наблюдайте, как работает мотоблок с орудием.
Если нужно углубить или поднять орудие, остановите движение мотоблока, и вращением рукоятки винта отрегулируйте орудие. После чего можно продолжить движение и оценить, как работает мотоблок с орудием. Также, если потребуется отрегулировать поперечный угол захвата, нужно ослабить гайки М12 и болты М12.
Потом откорректировать угол в необходимом направлении, и затянуть гайки с болтами. До начала работы, все резьбовые соединения, нужно крепко затянуть. После того, как работы на почве закончились, ежедневно нужно очищать и смазывать резьбовые соединения. Для этого использовать Литол 24.
Блок: 3/3 | Кол-во символов: 1947
Источник: http://motoblok-kultivator.com/scepka-k-motobloku-svoimi-rukami/
Чертежи сцепок разного вида
Блок: 3/5 | Кол-во символов: 28
Источник: https://MoyMotoblok.ru/samodelki/samodelnaya-stsepka-dlya-motobloka-svoimi-rukami/
Как крепить сцепку для мотоблока?
После всех подготовительных работ можно приступать к сбору сцепки на мотоблок. С помощью болтов прочно прикрепите кронштейн к швеллеру. Если у вас сцепка с регулировочным механизмом, прикрепите и его.
Можете приступать к установке, для этого прикрепите кронштейн к фаркопу мотоблока с помощью штырей и установите навеску.
Непосредственно перед работой нужно отрегулировать оборудование. Сделав несколько кругов, вы сможете для себя настроить приемлемое положение навесного оборудования.
Такая сцепка идеально подходит для прицепа мотоблока, сеялки, бороны, окучивателя и других полезных в сельском хозяйстве приспособлений к мотоблокам МТЗ, Нева МБ-2, Агро и других.
Блок: 3/3 | Кол-во символов: 784
Источник: https://o-motoblokah.ru/navesnoe-oborudovanie/stsepka
Установка на мотоблок навесного оборудования с помощью сцепки
Присоединение навесного оборудования сводится к простой операции по совмещению отверстий и фиксации элементов конструкции штырями и болтами. В процессе работы положение сцепки может регулироваться с помощью болтов в радиусных отверстиях. В первую очередь затягиваются резьбовые соединения сцепного устройства с фаркопом мотоблока. Затем устанавливается навеска.
Окончательную настройку производят перед работой. Ослабив регулировочные болты, находят оптимальное положение навесного оборудования и затягивают с помощью ключей гайки. В процессе обработки земли иногда возникает необходимость сделать два и более прохода по участку с различной настройкой навески. Сцепка, сделанная своими руками, позволяет оптимизировать работу по всем показателям. Экономится время, снижается трудоемкость, повышается производительность.
Сцепка, покрытая краской для металла или антикоррозийным покрытием, прослужит существенно дольше.
Блок: 4/5 | Кол-во символов: 977
Источник: https://MoyMotoblok.ru/samodelki/samodelnaya-stsepka-dlya-motobloka-svoimi-rukami/
Создание плуга
Перед созданием такого оборудования придется подготовить чертежи. В них вы сможете указать главные узлы — лемех и отвал.
- Для рабочих деталей стоит взять 3-миллиметровую сталь, однако сначала мастера рекомендуют поработать над съемным лемехом. В виде более качественного материала для него выступит диск, взятый с циркулярной пилы. Если его нет, можно взять рядовую сталь, которая не подвергается специальной обработке.
- Режущей частью будет рабочая деталь косы, которая отбивается на наковальне. Плуг должен быть с отвалом, к его созданию можно перейти после завершения работы с лемехом. В качестве материала для этого можно взять трубу (50 мм), толщина которой будет 5 мм. Заготовку отвала можно сделать, применяя газовый резак. Сначала вырезаем шаблон, на последнем этапе заготовку нужно довести на наковальне, а потом и на точильном станке.
Блок: 4/4 | Кол-во символов: 871
Источник: https://tokar.guru/stanki-i-oborudovanie/motobloki/izgotovlenie-scepki-dlya-motobloka-svoimi-rukami.html
Сцепка для мотоблока видео
В данном видео рассказывается о самостоятельном изготовлении сцепки к мотоблоку Weima 1100D
Самодельная универсальная сцепка
Сцепка, дает большие возможности в использовании различного оборудования, а сделанная своими руками, придерживаясь указаний на чертежах, то срок эксплуатации данного узла, многие лета.
Блок: 4/4 | Кол-во символов: 366
Источник: http://pro-motobloki.ru/navesnoe-oborudovanie-dlya-motoblokov/221-delaem-scepku-dlya-motobloka-svoimi-rukami.html
В заключение
Необходимо дать еще ряд советов. Для сохранения функциональных свойств стали и увеличения прочности сцепки после ее сборки необходимо покрыть ее противокоррозионным раствором либо краской для железа. Принимая во внимание возможность настройки самодельной конструкции в разных диапазонах, можно инсталлировать радиальные прорези и закреплять их на ноль.
После начала работы нужно в ходе первых метров передвижения внимательно последить за соединением и в случае необходимости осуществить дополнительную настройку.
Наличие регулирующей ручки дает возможность изменять уровень закрепления и фиксировать навесной механизм.
О том, как сделать сцепку для мотоблока своими руками, узнаете в видео ниже.
Блок: 5/5 | Кол-во символов: 1190
Источник: http://www.stroy-podskazka.ru/motobloki/scepka-svoimi-rukami/
Количество использованных доноров: 7
Информация по каждому донору:
- http://MoeZerno.ru/texnika/tillers/stsepka-dlya-motobloka-svoimi-rukami.html: использовано 1 блоков из 3, кол-во символов 2846 (11%)
- https://MoyMotoblok.ru/samodelki/samodelnaya-stsepka-dlya-motobloka-svoimi-rukami/: использовано 2 блоков из 5, кол-во символов 1005 (4%)
- http://pro-motobloki.ru/navesnoe-oborudovanie-dlya-motoblokov/221-delaem-scepku-dlya-motobloka-svoimi-rukami.html: использовано 1 блоков из 4, кол-во символов 366 (1%)
- http://www.stroy-podskazka.ru/motobloki/scepka-svoimi-rukami/: использовано 4 блоков из 5, кол-во символов 14210 (57%)
- http://motoblok-kultivator.com/scepka-k-motobloku-svoimi-rukami/: использовано 1 блоков из 3, кол-во символов 1947 (8%)
- https://tokar.guru/stanki-i-oborudovanie/motobloki/izgotovlenie-scepki-dlya-motobloka-svoimi-rukami.html: использовано 3 блоков из 4, кол-во символов 3612 (14%)
- https://o-motoblokah.ru/navesnoe-oborudovanie/stsepka: использовано 2 блоков из 3, кол-во символов 1126 (4%)
Адаптер для мотоблока
Мотоблок представляет собой мини-трактор, рассчитанный для выполнения сельскохозяйственных работ. Данная техника может быть эффективной при выполнении различных задач на земельных участках. Оператор может прилагать много усилий для того, чтобы выполнять все важные задачи.
Передний адаптер для мотоблока позволяет облегчить работу на земельном участке и уменьшить энергозатраты. При желании вы можете разработать чертеж адаптера к мотоблоку для того, чтобы самостоятельно изготовить механическое устройство с двумя рабочими положениями, в которых будет удобно выполнять все работы на земельном участке. Нужно учитывать то, что адаптер может состоять из рамы, колесной пары, сиденья и сцепного устройства. Надежная конструкция позволит вам изготовить специальное оборудование. которое позволит из мотоблока сделать полноценный минитрактор. Если вы сделаете адаптер для мотоблока своими руками, отличающийся надежной конструкцией, вам можно будет сесть в специальное сиденье и сразу приступить к выполнению работы на земельном участке, оставаясь уверенными в том, что все пройдет идеально.
Вы хотите адаптер к мотоблоку купить? Это может быть правильным решением, если у вас отсутствует достаточный опыт в подобных работах, время и возможность потратить физические усилия для производства дополнительного агрегата.
Вы можете выбрать адаптер апм 350 для мотоблока, представляющий уникальную разработку завода «Мобил К». Данное устройство можно применять в двух положениях, которые позволят сделать работу на земельном участке более удобной.
На апм 350 можно установить дополнительное оборудование, позволяющее эффективно обрабатывать грунт. К дополнительному оборудованию принято относить плуг, картофелевыкапыватель, два окучника. Для применения данных агрегатов вам нужно купить раму с двумя замками модели СУ-4. Для фиксации навесного оборудования производитель предусмотрел специальную педаль и ручку.
Передний адаптер для мотоблока, а именно апм 350, можно эксплуатировать с кузовом размером 100*800 мм. В результате появляется возможность транспортировать грузы весом до пятисот килограмм.
Если вы хотите, чтобы приобретенное оборудование было настолько удобным, как и адаптер для мотоблока своими руками сделанный, вы будете довольны тем, что рабочее положение 1 во 2 можно поменять всего за десять минут.
Вы думаете, как сделать адаптер к мотоблоку? Вы все больше понимаете то, что не готовы разрабатывать чертеж адаптер к мотоблоку? Вы можете смело приобрести апм 350, отличающийся надежной конструкцией и совместимостью с различной универсальной техникой, предлагаемой другими производителями. Апм350 может оснащаться, как и с отечественными, так и с зарубежными мотоблоками, благодаря чему становится все более востребованным. Если вы хотите адаптер к мотоблоку купить, апм 350 может стать идеальным приобретением.
Вы можете быть уверенны в том, что адаптер апм 350 для мотоблока приятно удивит вас собственными техническими характеристиками. После того, как вы будете не только знать, как сделать адаптер к мотоблоку самостоятельно, но и наберетесь достаточно уверенности, вы можете произвести устройство специально для себя!
Принадлежности для ВОМ — Инструменты для земляных работ
ВОМ = P ower T ake O ff (где навесное оборудование присоединяется к трактору)
БЫСТРЫЕ МУФТЫЭтот популярный аксессуар позволяет без инструментов менять навесное оборудование мотоблока за 30-60 секунд. Все, что им требуется, — это периодическая легкая смазка и чистка, а быстроразъемные соединения сэкономят вам часы времени и избавят от необходимости заменять изношенные монтажные шпильки и гайки для навесного оборудования, особенно если у вас есть несколько агрегатов, которые вы меняете в один сезон.
Принцип работы системы быстрого сцепления: «Внутренний» элемент быстроразъемного соединения устанавливается на ТРАКТОР. Каждый ПРИБОР должен быть оснащен быстроразъемным соединением «папа». Некоторое оборудование, которое мы предлагаем, имеет встроенные быстроразъемные соединения с наружной резьбой… За подробностями обращайтесь к продавцу.
Быстроразъемные соединения BCS для современных тракторов BCS 710-853 (кроме 750)- Быстроразъемное соединение с внутренней резьбой: Артикул 922.90827: Рекомендуемая производителем розничная цена:
85 долл. США, цена продажи 80 долл. США - Быстроразъемное соединение с наружной резьбой: Поз. 922.90826: Рекомендуемая производителем розничная цена:
90 долл. США85 долл. США - ПРИМЕЧАНИЕ: НЕКОТОРЫЕ закупки новых тракторов BCS моделей 732, 739, 749, 852 и 853 дают право на бесплатное «женское» быстроразъемное соединение и бесплатное «мужское» соединение для подходящего навесного оборудования. Подробности см. На нашей странице «Обновленные специальные предложения».
Эта модель трактора как бы «нарушает правила», потому что на этой модели «папа» конец быстроразъемного соединения ВСТРОЕН в трактор, и «мама» концы должны быть установлены на каждом орудии.(Для навесного оборудования с приводом от вала отбора мощности, приобретенного вместе с трактором, «внутренние» муфты предоставляются бесплатно.) Примечание: Эти муфты относятся к , для BCS 750… они не совместимы с другими моделями трактора.
- Быстроразъемное соединение с внутренней резьбой для BCS 750 (для агрегатов с фланцами ВОМ «2 болта»): Позиция 922.C0071: Рекомендуемая производителем розничная цена:
120 долларов США, цена продажи 114 долларов США - Быстроразъемное соединение с внутренней резьбой специально для BCS 750 (для агрегатов с фланцами ВОМ «3 болта» [культиватор, поворотный роторный плуг]): Поз. 922.C0058: Рекомендуемая производителем розничная цена:
120 долларов США, цена продажи 114 долларов США
- Быстроразъемное соединение с внутренней резьбой: Артикул 954712: Рекомендуемая производителем розничная цена:
65 долларов США, цена продажи 55 долларов США - Быстроразъемное соединение с наружной резьбой: Изделие 954812: Рекомендуемая производителем розничная цена:
65 долларов США55 долларов США
- ПРИМЕЧАНИЕ: Все новые тракторы G110 поставляются со свободным быстроразъемным соединением «мама».
- Быстроразъемное соединение с наружной резьбой (для агрегатов, еще не оборудованных одним встроенным) (арт. 946511): Рекомендуемая производителем розничная цена:
85 долларов США79 долларов США
ПРИМЕЧАНИЕ: см. Нашу страницу со специальными предложениями, чтобы увидеть текущие акции на быстроразъемные соединения при покупке тракторов BCS модели 732–853 и трактора Grillo G110.
БЫСТРОЕ СОЕДИНЕНИЕ ГРИЛЛО
ПРИМЕЧАНИЕ. Перечисленные быстроразъемные соединения Grillo G85 / 107 ТАКЖЕ могут использоваться на более ранних моделях BCS 602, 604, 715, 725, 735 (и моделях 737 и 605 с карданными валами SPLINE-ONLY), но они НЕ совместимы с отдельные компоненты быстроразъемного соединения шлицевого вала BCS с Т-образной рукояткой старого образца, снятые с производства.
ДОПОЛНИТЕЛЬНОЕ ПРИМЕЧАНИЕ! Установка этой системы быстроразъемного соединения производства Grillo на модели BCS 725 и 735 требует снятия тягово-сцепного устройства с трактора.
ПУСТОЙ БРС с наружной резьбой (без валов)
Для навесного оборудования, которое крепится к фланцу ВОМ, но не требует подключения вала ВОМ (например, бульдозерных отвалов и т. Д.), Мы производим этот аксессуар на собственном предприятии, чтобы сэкономить нашим клиентам затраты на покупку быстроразъемного соединения ». мужской »с валом в нем…
ПРИМЕЧАНИЕ: Мы производим эти «заготовки» либо с ОТВЕРСТИЕМ для стопорного штифта быстрого соединения, либо с SLOT .Какой из них вам подходит, зависит от того, хотите ли вы, чтобы орудие «поворачивалось» в быстроразъемном соединении (паз) или было «жестким» (отверстие)… , поэтому укажите, какой тип вам нужен. (По мере продвижения вперед мы постепенно переходим к изготовлению их с «прорезью» на одной стороне и «отверстием» на другой, так что вы можете просто перевернуть ее, чтобы получить любой вариант)
Пустые быстроразъемные соединения с наружной резьбой- Деталь ET0010 (подходит для Grillo G85-G107) Рекомендуемая производителем розничная цена:
$ 45$ 40 - Изделие ET0015 (подходит для Grillo G110) Рекомендуемая производителем розничная цена:
45 долларов США40 долларов США - Изделие ET0030 (подходит для BCS, выпущенного после 1995 г., кроме моделей 750 и 948) Рекомендуемая производителем розничная цена:
50 долл. США45 долл. США
УДЛИНИТЕЛЬ ВОМ
Иногда это приспособление необходимо для правильной балансировки трактора с особенно легкими орудиями.Он работает, просто выдвигая опору ВОМ и, следовательно, перемещая вес навесного оборудования дальше от оси, которая является «точкой опоры» трактора, и, таким образом, достигается баланс посредством рычага . Особенно это необходимо при использовании более тяжелых двигателей, например дизельных. Иногда удлинители ВОМ также используются для увеличения зазора между навесным оборудованием и колесами, особенно когда для трактора требуются колеса большего размера, чем стандартные. Обязательно спросите, требуются ли какие-либо из этих удлинителей для приобретаемого вами трактора и / или навесного оборудования.Эти аксессуары можно прикрепить к трактору ИЛИ к навесному оборудованию, в зависимости от того, что удобнее.
Доступны длиной 3 дюйма ; при необходимости можно соединить вместе для получения большей длины. (могут быть доступны некоторые случайные длины 6 дюймов, но технически они сняты с производства)
3 ”Удлинитель ВОМ- Деталь 9C1512 (подходит для шлицевого ВОМ Grillo) Рекомендуемая производителем розничная цена:
$ 70$ 65 - Артикул 922.90829 (подходит для BCS 718 — 853) Рекомендуемая производителем розничная цена:
99 долларов США94 доллара США
ПЕРЕХОДНИКИ ВОМ
Доступно несколько адаптеров для различных функций:
Адаптер 1Позволяет устанавливать навесное оборудование BCS с карданным валом нового типа (после 1995 г.) на старые тракторы BCS (или, в некоторых случаях, на некоторые тракторы Grillo).
- Подходит для трактора BCS со шлицами к трехкулачковому агрегату
- Товар 922.90832
- Рекоменд. Цена:
$ 85$ 80
Позволяет устанавливать навесное оборудование BCS (или в некоторых случаях некоторые навесное оборудование Grillo) со старым шлицевым (до 1995 г.) карданным валом для присоединения к новым тракторам BCS.
- Подходит для трехкулачкового трактора BCS к шлицевому орудию
- Товар 922.90831
- Рекоменд. Цена:
$ 85$ 80
Конец трактора
Конец орудия
Адаптирует G131 Grillo к ВОМ Grillo меньшей серии и необходим при использовании некоторых орудий на G131 (косилки косилки, дровокол, измельчитель / измельчитель, подметально-уборочная машина, лезвия скребка, разбрасыватель удобрений, газонокосилка, дисковая косилка, сенокос и т. Д. пресс-подборщик… может потребоваться использовать вместе с адаптером 1 для некоторых из этих приложений).
- Адаптирует Grillo G131 к меньшему валу отбора мощности Grillo
- Изделие 9C2012-LSR . Цена
- :
150 долларов140 долларов
Преобразует текущую опору ВОМ BCS в 6-шлицевой вал диаметром 1 3/8 дюйма, идентичный валу со скоростью вращения 540 об / мин любого полноразмерного трактора. Позволяет приводить в действие некоторые маломощные стационарные агрегаты тракторов типа ВОМ от вашего пешехода, такие как насосы опрыскивателей, зерновые элеваторы, малые генераторы ВОМ и т. Д.Однако имейте в виду, что ВОМ BCS вращает 990 об / мин при максимальной частоте вращения двигателя, поэтому, если вы приводите в действие агрегат, чувствительный к частоте вращения, вы не можете запустить двигатель на 1/2 дроссельной заслонки !! Этот аксессуар можно использовать с Grillo G85 — 107 в сочетании с адаптером 1.
- Подходит к адаптеру ВОМ BCS, 1 3/8 дюйма, 6 шлицевый вал
- Товар 922.90828 Цена
- :
175 долларов166 долларов
Магазин запасных частей для дворовых машин | Детали MTD
MTD Parts предлагает широкий выбор запчастей для ваших машин Yard Machines ™.
Поиск по номеру детали или номеру модели
Ищете ли вы режущие лезвия, приводные ремни или срезные штифты, у нас есть необходимые детали, и все они подкреплены нашим обязательством о правильных компонентах. Попробуйте, и если вы не можете найти то, что ищете, или вам нужна помощь в установке новой детали, позвоните по телефону 1-800-269-6215
.Поиск по номеру детали
Выполните поиск по номеру детали, которую хотите заменить.
Поиск деталей по схеме
Найдите все оригинальные запасные части для Yard Machines ™ на нашей схеме запчастей.У нас есть все необходимое для вашей машины, а диаграмма деталей помогает визуализировать каждый компонент вашего оборудования. Попробуйте, и если вы не можете найти то, что ищете, или вам нужна помощь в установке новой детали, позвоните сегодня по телефону 1-800-269-6215.
Поиск запчастей по типу машины
Оригинальные запчасти MTD помогут вам в долгосрочном обслуживании внешнего силового оборудования Yard Machines ™. Находите запчасти по типу машины: ездовая газонокосилка, газонокосилка для ходьбы, садовый культиватор, снегоочиститель-снегоочиститель и многое другое, чтобы отремонтировать ваше устройство по мере необходимости.
Садовая газонокосилка
Мы упрощаем для вас поддержание вашей ездовой косилки Yard Machines ™ в идеальном состоянии с использованием оригинальных запчастей для ездовой газонокосилки всех наших брендов.
Запчасти для газонокосилокГазонокосилка Walk Behind
Вы хотите, чтобы ваша газонокосилка Yard Machines ™ работала в оптимальном состоянии, и компания MTD Parts готова помочь вам, когда вам понадобятся оригинальные запчасти MTD.
Ходьба за частями газонокосилкиСадовый культиватор
Независимо от того, обрабатываете ли вы весь газон или только небольшой сад, вы найдете все части садового культиватора Yard Machines ™, которые могут вам понадобиться для выполнения работы.
Запчасти для садовых культиваторовСнегоуборщик
Не просыпайтесь под свежим снегопадом со снегоуборщиком, который не работает! Регулярное обслуживание и замена деталей вашей снегоуборочной машины Yard Machines ™ обеспечат вам готовность на всю зиму.
Запчасти для снегоуборщиковПоиск деталей по типу детали
Оригинальные запчасти MTD помогут вам в долгосрочном обслуживании внешнего силового оборудования Yard Machines ™. Найдите детали по типу детали: лезвия, ремни, тросы, шкивы, шины и колеса, шпиндели, универсальные детали и многое другое для ремонта вашего наружного силового оборудования по мере необходимости.
Лезвия
MTD Parts предлагает косилочные ножи, в том числе ножи 3-в-1 и ножи для мульчирования, необходимые для внешнего силового оборудования Yard Machines ™.
ЛезвияРемни
MTD Parts предлагает широкий выбор ремней, предназначенных для всего вашего внешнего силового оборудования Yard Machines ™.
РемниДетали двигателя
Обслуживание вашей Yard Machines ™ газонокосилки и райдера — важная работа. Когда ваша газонокосилка работает правильно, ваш газон обязательно будет выглядеть наилучшим образом.
Детали двигателяКабели
Когда пришло время заменить кабель в вашем оборудовании Yard Machines ™, вы найдете именно ту деталь, которая вам нужна, в компании MTD Parts.
КабелиШкивы
Когда пришло время заменить шкив в вашей газонокосилке или снегоочистителе Yard Machines ™, вы можете найти именно ту деталь, которая вам нужна, в компании MTD Parts. Правильно работающий шкив газонокосилки помогает вашей косилке работать с максимальной мощностью.
ШкивыШины и диски
При правильно подобранных шинах ваш газонный трактор, мотокосилка и снегоочиститель Yard Machines ™ будет плавным и надежным.
Шины и дискиШпиндели
Найдите детали шпинделя, необходимые для поддержания производительности газонокосилки Yard Machines ™, чтобы ваш двор всегда выглядел безупречно.
ШпинделиУниверсальные детали
Здесь вы найдете различные запчасти для газонного оборудования, которые помогут вам в обслуживании внешнего силового оборудования Yard Machines ™, включая крышки оборудования, топливные фильтры и инструменты.
Универсальные деталиПоддержка и ресурсы
Руководство оператора
Вам просто нужно ввести код продукта, указанный на серийном номере продукта в поле, и выбрать свой язык, нажать «Поиск» и загрузить его.
Найдите инструкции по эксплуатацииСервисный локатор
С помощью нашего простого в использовании онлайн-средства поиска услуг вы получите информацию о вашем текущем местонахождении и ближайших пунктах обслуживания, а также их контактную информацию и маршруты проезда. Вы можете выбрать удобный просмотр точек обслуживания на карте или в списке.
Найти сервисные центрыРегистрация продукта
Зарегистрируйте свое оборудование Yard Machines ™ онлайн сейчас. Если вы не знаете свою модель и серийный номер продукта, позвоните по телефону 1-800-269-6215, и мы будем рады вам помочь.
Зарегистрируйте свой продуктсцепное устройство электрическое
УчастникиPrime получают БЕСПЛАТНУЮ доставку и эксклюзивный доступ к музыке, фильмам, телешоу, оригинальным аудиосериалам и книгам Kindle. Лучшие коробки для подписки — прямо к вашим дверям, © 1996-2021, Amazon.com, Inc. или ее аффилированные лица. Принимает навесное оборудование, работающее с почвой, включая плуг, культиватор, грейдер или скрепер для дисковых ящиков. Сцепное устройство с рукавами — 19B30019OEM | От комплектов для мульчирования до упаковщиков, вы можете найти OEM-аксессуары и навесное оборудование Cub Cadet здесь! Купить сейчас.49. Agri-Fab 45-0265 Коробка скребка для сцепного устройства и навесного оборудования, черный. Он включает в себя электрический лифт. Положитесь на оригинальные запчасти и аксессуары Husqvarna, которые обеспечат превосходную надежность и долговечность. Получите сразу в среду, 10 февраля. Есть одноразовая установка монтажного кронштейна. Подлинная деталь Cub Cadet, оригинальные заводские детали, новый старый приклад, шкив, новый, б / у, переходник brinly, подъемная штанга, сборка карданного вала, комплекты сцепного устройства, СЦЕПКА РУКА С ЭЛЕКТРИЧЕСКИМ ПОДЪЕМОМ, подъемный штифт, штифт румпеля, подержанный Cub Cadet… есть LT2000 и пришлось провести реконструкцию, чтобы установить сцепное устройство.00 74,99 долл. США 74,99 долл. США C 270,56 долл. США. Б / У. Часть работает как разрекламированная. Он включает в себя электрический лифт. Совершенно новый. № OEM сцепка с электроподъемником 190-824-101 717-0620 683-0272a 683-0273 куб cadetused на 190-804 42-дюймовый отвал 190-825 30-дюймовый культиватор 190-978 10-дюймовый многобортный плуг 190-980 культиватор 190-984 Еще до того, как начнется застройка вашего дома, вам необходимо обязательно оценить план дома, а также все соответствующие требования. Универсальное сцепное устройство с электроприводом № 2 для создания качественных садовых тракторов.Скребок для буксировки за задним сиденьем Brinly-Hardy, 38 дюймов, сцепное устройство с верхней крышкой для категорий Dom i Meblena eBay. Линейный привод для сцепного устройства с грейдерной гильзой. В чем разница между навеской и трехточечной навеской? Фиксатор рукава Husqvarna. Принадлежности для сцепного устройства с втулкой Эти адаптеры подходят к любой стандартной сцепке / встроенной сцепке, в которой используется сцепной штифт 5/8 «x 6». Да! Перейти к основному содержанию. FORD LGT 100 120 125 145 165 Jacobsen 1000 1200 Тракторное электрическое сцепное устройство. Сегодня. Купите отличные предложения на запчасти для газонокосилок John Deere.Большое спасибо Loremaster72 и edkedk за размещение этой информации: thanku:: thThumbsU Ваш вопрос совсем не глупый. 189,99 долларов 189 долларов. Нажимая тумблер вверх и вниз, вы можете регулировать глубину и поднимать навесное оборудование из земли без необходимости усиливать рычаг подъема. Эта сцепная муфта трактора позволяет использовать с трактором Husqvarna навесное оборудование, устанавливаемое сзади, в том числе культиватор и грейдер / скрепер. Совершенно новый. Особенности: Поставляется в комплекте со всем необходимым.Приобретите сцепное устройство CRAFTSMAN в разделе принадлежностей для газонокосилок на сайте Lowe’s.com. Сцепное устройство для трактора. Подробнее … Людям также нравятся эти идеи Pinterest. Универсальное сцепное устройство. Электрические мотокосилки. У нас есть отличный онлайн-выбор по самым низким ценам с быстрой и бесплатной доставкой на многие товары! Большое спасибо Loremaster72 и edkedk за размещение этой информации: thanku:: thThumbsU Ваш вопрос совсем не глупый. Смотреть; НОВАЯ СЦЕПКА ЗАДНЕЙ РУКАВА CUB CADET DRAFT PLATE 3-ТОЧЕЧНАЯ СЦЕПКА BRINLY.Из США. Najlepsze oferty i okazje z całego świata! Бесплатная доставка. Адаптер сцепного устройства приемника (RH-325) — от 3 дюймов до 2-1 / 2, от 3 дюймов до 2 дюймов — Сделано в США Draw-Tite 58552 Шаровая переходная втулка (от 3 до 2-1 / 2 дюймов), Mission Automotive Heavy Универсальное сцепное устройство с нулевым поворотом для газонокосилки — Толстая и прочная сталь 3/16 дюйма — Крепление сцепного устройства 3/4 дюйма -, LFPartS Металлическая переходная втулка для приемного устройства прицепа с 2,5 дюйма на 2 дюйма, Фиксатор пальца приемного устройства сцепного устройства METOWARE, 5 / Диаметр 8 дюймов, длинный штифт 3-1 / 2 дюйма, с 8 резиновыми уплотнительными кольцами, подходит для 2-дюймовых или 2-1 / 2-дюймовых приемных труб, сцепных устройств класса III IV, прицепа, грузовика, автомобиля и лодки (1 упаковка), SnowyFox Новейший адаптер приемника сцепного устройства с 2-1 / 2 «классом V на 2» класса III и IV — сверхмощный алюминиевый сплав 2.Переходная втулка от 5 до 2 дюймов с штифтом сцепного устройства и зажимом, Переходник для приемного устройства прицепной сцепки от 2-1 / 2 до 2 дюймов для квадратного навески приемника от 2,5 до 2 дюймов Алюминий, сталь MICTUNING Heavy Duty 2 дюйма, класс III / IV до 1-1 / 4 дюйма Приемник адаптера сцепки для прицепа класса I / II, от 2 дюймов до 1,25 дюйма Переходник для крепления редуктора со вставной гильзой, Универсальный комплект скоб крепления приемника сцепного устройства для газонного трактора Hodenn, 3 шт. — 2-дюймовая накладка глушителя приемника сцепки для регулируемого шара Крепления — Уменьшают дребезжание, устраняют шум и обеспечивают амортизацию между приемниками и буксирными сцепками — Подходит для любого 2-дюймового приемника сцепного устройства, MICTUNING 2 дюйма, класс III / IV, на 1-1 / 4 дюйма, Комплект адаптеров приемника сцепного устройства класса I / II, 2 дюйма к 1.25-дюймовый переходник со вставной муфтой и зажимом, CURT 21583 Штифт и зажим для прицепа с рифленой головкой, диаметр 5/8 дюйма, подходит для приемника 2 или 2-1 / 2 дюйма, CURT 45006 2 дюйма ATV, адаптер приемного устройства сцепного устройства UTV, Reese 58431 Втулка редуктора сцепного устройства с воротником — 2,5 дюйма на 2 дюйма, KAC 2 дюйма на 1,25 дюйма Переходник приемника адаптера сцепного устройства прицепа (приемник сцепного устройства 2 дюйма на вставку 1 1/4 дюйма) для велосипедных стоек , Грузовые стеллажи, Багажники — Включает в себя палец сцепного устройства, переходник приемника сцепного устройства DEF от 2 дюймов до 1-1 / 4 дюйма для стандартного адаптера сцепного устройства от 2 дюймов до 1 1/4 дюйма, алюминиевая заготовка (от 2 дюймов до 1-1 / 4 дюйма) ), Переходник адаптера фаркопа с 2 на 1-1 / 4 дюйма, предохранительный штифт hikotor Heavy Duty 3-точечный 2-дюймовый ресивер Адаптер сцепного устройства для малолитражного прицепа и сельскохозяйственного оборудования Замена для BX Kubota John Deere LM25H WLM Трактор NorTrac Kioti Yanmar Cat, Lund 601021 Удлинитель кузова грузовика, устанавливаемый на сцепное устройство, Reese Towpower 7088800 Адаптер приемника (от 3 до 2.5), Draw-Tite 63260 5/8 «Замок приемника с втулкой для 3-дюймовых квадратных приемников, SnowyFox от 2 дюймов до 1-1 / 4 дюйма Адаптер сцепного устройства приемника Вставьте адаптер для крепления втулки от 2 дюймов до 1,25 дюйма Конвертер приемника прицепа для велосипедной стойки и Грузовые перевозки, LFPartS 2–1,25 дюйма Металлический приемник для прицепа Переходная втулка переходной втулки для велосипедной стойки от 2 до 1–1 / 4 дюйма с комплектом болтов штифта сцепного устройства из нержавеющей стали с защитой от грохота, не качаясь, товары для покупателей 1804035 2–1 Адаптер сцепного устройства -1/4 «, CURT 25227, черная А-образная сцепка для прицепа, шаровой шарнир 2-5 / 16 дюймов, 12500 фунтов, сцепное устройство Brinly CC-56BH с регулируемой буксировкой за культиватором, 18 на 40 дюймов, Hildirix Versatile Quick Внутренняя ширина адаптера сцепного устройства 2-13 / 16 дюймов, используется для регулировки перемещений кронштейна верхней тяги для быстрой сцепки категории 1, редукторная втулка шарового отверстия сцепного устройства прицепа CURT 21200, уменьшает диаметр с 1-1 / 4 дюйма до штока 1 дюйм, TOPSKY TS2013 Переходник приемного устройства прицепного устройства, от 2 до 1-1 / 4 дюйма, удлинитель 3 дюйма, длина 7 дюймов, 3500 фунтов, черный, TOPSKY TS201 4 Переходник для приемного устройства прицепного устройства, от 2 до 1-1 / 4 дюйма, удлинитель на 3 дюйма, длина 7 дюймов, 3500 фунтов, со штифтом 1/2, 5/8 дюйма и зажимом, черный, двойной удлинитель приемника YITAMOTOR Сцепное устройство для прицепа Удлинитель велосипеда-удлинителя (GTW- 4000 фунтов)Чтобы приспособиться к суровой окружающей среде на открытом воздухе, уровень защиты IP65, полностью пыленепроницаемый и водостойкий. Подлинный OEM Cub Cadet — официальный дилер завода-изготовителя. Подходит для задних частей из чугуна и алюминия всем курсантам. Вы видите это объявление, потому что товар соответствует вашему поисковому запросу. Выйдите на улицу для озеленения или украсьте свой сад! Бесплатная доставка. Купить сейчас. Он включает в себя электрический лифт. Совершенно новый. Навесное оборудование для садовых тракторов Навесное оборудование для квадроциклов Навесное оборудование для ездовой косилки Садовые тракторы Малые тракторы Самодельные тракторы Аксессуары для тракторов Трактор-погрузчик Тракторное оборудование.Категория. Ответ должен быть меньше 100 000 символов. Подходит для задних частей из чугуна и алюминия всем курсантам. Кронштейн сцепной муфты с 3 отверстиями. 19 октября 2016 г. — Johnny Products — Универсальное электрическое сцепное устройство для качественных газонных и садовых тракторов. Бесплатная доставка для многих товаров! При заказе необходимо купить алюминиевый или литой вариант. Смотреть; S 9 p C G B o V n U I T s o Z r K B e d. Husqvarna 585607901 Тракторы для рукоделия с задним навесным устройством. Спасен Беном Лотцем. Универсальное сцепное устройство.То, что ты сделал со своим трактором, просто потрясающе! Благодаря простой одноразовой установке монтажных кронштейнов на райдера, сцепное устройство с рукавами легко снимается для использования косилки с другими навесными приспособлениями для буксировки сзади. Cub Cadet 711-0282 Pin Hitch w Sleeve Hitch Electric Diesel Adapter 986 929 882. У нас есть большой онлайн-выбор по самым низким ценам с быстрой и бесплатной доставкой на многие товары! 121. … сцепное устройство с рукавами brinly cub cadet сцепное устройство садовый трактор john deere сцепное устройство с рукавами Husqvarna сцепное устройство с рукавами простота сцепное устройство с электроприводом сцепное устройство с рукавами сцепное устройство отвалAby sprawdzić najnowsze kursy walut, użyj. Подробнее … Людям также нравятся эти идеи Pinterest. Здравствуйте, я ищу сцепное устройство для моего газонного трактора Cub Cadet XT1 Series 2015 года выпуска. Сцепное устройство рукава — 19A40041100 | От комплектов для мульчирования до упаковщиков, вы можете найти OEM-аксессуары и навесное оборудование Cub Cadet здесь! Купить сейчас. https://www.amazon.com/craftsman-sleeve-hitch/s?k=craftsman+sleeve+hitch Этот продукт позволяет прикреплять к садовому трактору изделия для сцепного устройства (например, плуги и культиваторы Brinly-Hardy).Цилиндр потребуется 201,49 доллара за 201 доллар. Я хотел знать, подойдет ли эта модель сцепного устройства с гильзой 19A30019OEM. GREAT DAY Lawn-Pro Hi-Hitch — Сцепное устройство для газонокосилки — Алюминиевая конструкция — Черное порошковое покрытие, LNPHH650 4,6 из 5 звезд 1871 $ 65,00 $ 65. 63,79 долларов США. Рукавная сцепка Ландшафтный дизайн Садоводство The Brinly 38 in. Быстрая и бесплатная доставка многих товаров! Комплект втулки для быстрой сцепки TerraKing — Категория 1 [TK95029], адаптер сцепного устройства для 2-дюймового ресивера — черный, CURT 45405 Переходная втулка приемного устройства прицепного устройства, 2-1 / 2 на 2 дюйма, буксировочная втулка Brinly BS-38BH за коробкой Скребок, 38 дюймов, сцепное устройство Brinly PP-51BH, буксировка за отвалом, 10 дюймов, черный, CURT 45408 Комплект переходной втулки приемного устройства для прицепного устройства, 3–2–1 / 2 или 2 дюйма, 2 компонента, Agri -Fab 45-0265 Коробка скребка для сцепного устройства сцепного устройства с землей, черный, MICTUNING 2-1 / 2 дюйма, класс V, до 2 дюймов, классы III и IV, переходник для приемного устройства прицепного устройства 2.Конвертер гильзы с 5 дюймов на 2 дюйма, сцепное устройство с гильзой Brinly BB-56BH за задним отвалом, 42 дюйма, BougeRV От 2 дюймов до 1-1 / 4 дюйма Адаптер сцепного устройства для прицепа От 2 дюймов до 1,25 дюйма Адаптер сцепного устройства Вставка гильзы Конвертер приемника для велосипедной стойки и грузовые автомобили, Agri-Fab, дисковый культиватор сцепного устройства сцепного устройства с землей Agri-Fab 45-0266, TOPTOW 63517 Замок приемника сцепного устройства для прицепа, диаметр пальца 1/2 дюйма с втулкой 5/8 дюйма, длина 2,75 дюйма, черный стопорный штифт для тяжелых условий эксплуатации, MICTUNING Адаптер приемного устройства прицепной зацепки от 2-1 / 2 дюйма класса V до 2 дюймов класса III и IV, 2.Переходная втулка от 5 до 2 дюймов с штифтом сцепного устройства и зажимом, переходная втулка сцепного устройства для прицепа Edward Tools от 2,5 до 2 дюймов — вставьте переходник для сцепного устройства с 2,5 дюйма на 2 дюйма — Конструкция из стальных труб для тяжелых условий эксплуатации — для грузовика или прицепа, MICTUNING 2 дюйма, класс III / IV — 1-1 / 4 дюйма, адаптер сцепного устройства класса I / II Адаптер для крепления вставной гильзы — от 2 дюймов до 1,25 дюйма Редуктор приемника Преобразователь для велосипедной стойки и грузовых багажников, готов к буксировке 58102 Редуктор с шаровой опорой Втулка, переходник приемного устройства SnowyFox Heavy Duty Hitch с 2-1 / 2 (класс V) на 2 дюйма (класс III и IV) Переходник сцепного устройства Конвертер удлинитель втулки буксирного крепления для багажника велосипеда, грузовой автомобиль Brinly DD-55BH Сцепное устройство с регулируемой втулкой за дисковой бороной , 39 на 40 дюймов, приемник адаптера сцепного устройства BougeRV от 2-1 / 2 дюйма (класс V) до 2 дюймов (класс III и IV), редуктор приемного устройства сцепного устройства 2.Адаптер приемника с гильзой от 5 до 2 дюймов, Dodge Ram 2500 3500 Адаптер приемника сцепного устройства от 2 1/2 до 2 дюймов Oem Mopar, GREAT DAY Lawn-Pro Hi-Hitch — Сцепное устройство для газонокосилки — Алюминиевая конструкция — Отделка с черным порошковым покрытием, LNPHH650, Cequent Reese Towpower 7028700 Адаптер шаровой опоры для тяжелых условий эксплуатации, класс V, черный, от 2,5 до 2 дюймов, оригинальный GM 15923277 Адаптер тяги для прицепа. я хотел знать, будет ли работать эта сцепка номер модели 19A30019OEM. Сцепное устройство для трактора. Галерея изображений «Гильза для садового трактора».Кронштейн сцепного устройства с 3 отверстиями. 201,49 $ 201,49 $. Отлично подходит для садовых тракторов Super. Классические аксессуары Чехол для компактного универсального трактора — подходит для John Deere 2000 и 3000, New Holland Boomer, Kubota BX, Mahindra Max, модель № 52-151-380301-RT Lincoln Electric Metaltech Milwaukee NorthStar NorTrac Powerhorse Quincy … Диск сцепного устройства Борона — 39 дюймов, Модель № FTF-811DHSH Всего $… 4,3 из 5. Возможна одноразовая установка монтажного кронштейна. Obejmuje usługi celne i śledzenie przesyłki za granicę, VeRO: Ochrona praw własności intelektualnej.Купить сейчас электрические газонные и садовые тракторы. Для установки аксессуаров на задней части тракторов. Zobacz opis aukcji, aby sprawdzić opcje i koszty wysyłki za granicę. Совершенно новый. Сцепное устройство основной муфты устанавливается снаружи этого кронштейна. 2 Vtg Sears Manual Gt / vgt Сцепное устройство # 757.252313 48-дюймовый бульдозерный отвал # 486.244020 $ 19,99 Руководство по эксплуатации и запчастям садового трактора Sears с трехточечной навеской Sears 917.62604 Купить сейчас Электрические шагающие газонокосилки. Сохранено Francis vanLoosbroek. Текущий ручной подъемник Встроенное сцепное устройство Сделано John Deere для серии X500 — та же сцепка с муфтой, которая была сделана для GT275 John Deere Integral Hitch — LP31357 Лично у меня на моем GX335 есть универсальная сцепка с электроподъемником Johnny Products Universal.Авторские права © 1995–2021 eBay Inc. Wszelkie prawa zastrzeżone. Делайте покупки с уверенностью. Бесплатная доставка. Сцепное устройство рукава Johnny Products всеобщее электрическое для тракторов лужайки & сада свободная перевозка груза Этот деталь brandnew в коробке и готово для того чтобы грузить. Отлично подходит для тракторов с шинами 26х12-12. Приспособления для сцепного устройства с рукавами чаще всего можно найти в магазинах для газонов и садов, и они дешевле… 461,58 канадских долларов. Трактор-погрузчик для газонокосилок Elec-Trac (очень редкое навесное оборудование). Я скажу, что ручной подъемник подходит для заднего отвала, культиватора.), Крепление Black Boar для квадроциклов / UTV с шаром сцепного устройства и петлей для ремня лебедки (шар 1 7/8 дюйма, хвостовик 1 1/4 дюйма) (66026), универсальное трехходовое сцепное устройство для газонного садового трактора P&M Fabrication, аксессуар для фиксатора адаптера сцепного устройства Mictuning , Под все нужды вашей тяжелой строительной техники. 500 долларов США. Похожие Запросы. Black Boar ATV / UTV, подъем и опускание навесного оборудования вручную с помощью ручки или приведения в действие с помощью дрели и головки (66013) 4,6 из 5 звезд 2,867. U N S G O U p o J n P s o r 3 e d 8 C J. Massey Ferguson 1200 Тягово-сцепное устройство в сборе.Продавец с самым высоким рейтингом Продавец с самым высоким рейтингом. Адаптер для буксировки 35 долларов (плюс S&H). Жители VA добавляют налог с продажи в размере 5%. Адаптер для буксировки позволит вам тянуть любой стандартный буксир за газонным оборудованием с помощью сцепного устройства. Сегодня. Купить сейчас. … Homelite 14-дюймовый электрический детектор на 10 ампер. ca Детали и аксессуары Навесное оборудование Навесное оборудование Гильза трактора Навесное оборудование. Здравствуйте, я ищу сцепное устройство для моего газонного трактора Cub Cadet XT1 Series 2015 года выпуска.
Высота Рецу Кайох, Satmar News Вильямсбург, Показать качественные инкубационные яйца Silkie на продажу, Названия организаций Gta, Йоги Медведь Корзина для пикника Мем, Cwv 101 Тема 4 Назначение,
Продам 36 подставку на косилку б / у
б / у 36 стенд на косилке на продажу Run Great, Perfect Maintenance.СТЕНД на продажу у производителей оборудования. Вы, оператор, должны позаботиться о своей безопасности. 102 $ В МЕСЯЦ. Кроме того, Jack’s Advantage означает, что вы получаете бесплатную доставку грузов, отсутствие налога с продаж (кроме штата Мэриленд) и бесплатную техническую поддержку в течение всего срока службы вашей новой газонокосилки. TORO Трибуна коммерческая стойка с нулевым поворотом на газонокосилке $ 0 ПРОДАЖА Walker Mower R21 Газонокосилка с нулевым поворотом 42 или 48 дюймов ИСПОЛЬЗУЕМЫЕ Плитки для игровых площадок | 24 «x 36» x 2-3 / 8 Производительность стоячей косилки. Б / у CRAFTSMAN Z5400 22-HP V-Twin Dual Hydrostatic 46-дюймовая газонокосилка с нулевым поворотом $ 1,700 рис. Скрыть эту публикацию восстановить восстановить эту публикацию в избранное это сообщение 15 мая Коммерческие косилки для профессиональных озеленителей.В наш модельный ряд входят косилки с нулевым поворотом, модели с движением сзади, стоячие косилки и ряд навесных косилок для высочайшего качества и максимальной эффективности. V-Twin (DDSKAV15) и многие другие Подробнее Ваша цена: 15 долларов. Получите информацию о дилере и технические характеристики оборудования. 3 фунта. Поддержка клиентов. Получите бесплатное предложение или консультацию 1-800. ACityDiscount предлагает широкий выбор новых или бывших в употреблении коммерческих грилей и плоские решетки в стиле верхней, отдельно стоящей или вешалки. Войдите или зарегистрируйтесь 404-752-6715.Сюда входят бывшие в употреблении газонокосилки, бывшая в употреблении техника для ухода за газонами и бывшие в употреблении снегоочистители. Преимущество простоты для дилеров. Продается и отправляется компанией Steve’s Lawnmower Sales & Service LLC. Рекламируйте свое оборудование бесплатно и обратитесь к тысячам покупателей и продавцов в Окале и близлежащих населенных пунктах. Для обоих мне нужен разрыв натяжения на основной балке. Прочные, долговечные и сконструированные для исключительной стрижки — как и все коммерческие агрегаты Gravely® — косилки со стоячим местом для оператора дают вам дополнительную гибкость. Наличные, по цене Это 36-дюймовая подставка на газонокосилке Encore ER36FS600VL Rage с двигателем Kawasaki мощностью 18 л.с., коробкой передач Parker HTE и запасом топлива 4.Просмотрите другие наши объявления на Kijiji, найдите нас на Facebook или проверяйте обновления на нашем веб-сайте. 0 — 100 (10) $ 100 — 200 (59) $ 200 — 300 (267) $ 300 — 400 (200) $ 400 — 500 (74) $ 500 — 600 (37) $ 600 — 700 (31) $ 700 — $ 800 (16) $ 800 — $ 900 (6) $ 900 — $ 1000 (8) $ 1000 — 1100 $ (3) $ 1100 — 1200 $ (2) $ 1200 — 1300 $ (3) $ 1600 — 1700 $ (5) $ 1700 — $ 1800 (1 чтение> общее для продажи — владельцем Fish Tank Aquarium 29 галлонов + свет + подставка + другое оборудование для морских рифов за 50 долларов / Кораллы и морские рыбы за 1 доллар Хорошая часть оборудования, владелец использовал ее в 2019 году, но не сажал в 2020 году, это 30-футовые великолепные фотографии равнин показывают качество этого предмета! ! Начальная ставка: 500 долларов США. Посмотреть премию покупателя На этой странице вы можете найти все бывшие в употреблении механические ножницы, которые предлагает Kempler, в одном месте.ПРОДАЕТСЯ. Эта запатентованная дужка подходит почти для любой косилки! Доступны адаптеры для сцепного устройства. 25-дюймовая гранитная плита Herman Stone S / N: 18852 ДЛЯ ДОПОЛНИТЕЛЬНОЙ ИНФОРМАЦИИ: позвоните Энди по телефону 973-497-7600 Харрисон, штат Нью-Джерси. Просмотрите список 36 дюймов, длина 36 дюймов, ширина Herman Stone Co. перемещение через узкие двери или погрузка на большие прицепы с выбором более низкой режущей деки. Стоячие косилки. Газонокосилки Exmark — лучший выбор для профессионалов в области ландшафтного дизайна и стрижки газонов. Сравните наши рейтинги стоячих косилок.com также есть страница, на которой перечислены только бывшие в употреблении гидравлические ножницы. Косилка Gravely Pro-Stance 36 Stand On Mower оснащена косилкой 18. Дилеры Scag — ваш лучший источник своевременной поддержки продаж, надежного технического обслуживания, а также подлинных запчастей Scag. R. Основные характеристики: — Газовый двигатель Kohler мощностью 22 лошадиных силы. Сайт Used Equipment Network также доступен в оригинальной полностью интерактивной версии, которая обеспечивает более сложный поиск, ввод ваших собственных излишков и списков разыскиваемых товаров и многие другие функции.36-дюймовая стойка на коммерческой газонокосилке: 0% -36 мес. Дека представляет собой тяжелую коммерческую трехпластинчатую (почти полдюйма) верхнюю пластину с смазываемыми шпинделями из тяжелых материалов, разъемными стальными шкивами с усиленными натяжными рычагами и ремнями из кевлара, рассчитанными на минимум 400 часов. • КОММЕРЧЕСКАЯ ПОДСТАВКА НА КОСИЛКЕ JOHN DEERE 636M 36 «2018 ЭТО ДЕМОБЛОК, ПРОДАЕТСЯ НОВЫМ С ГАРАНТИЕЙ. Мы — продавец и ремонтная мастерская подержанных газонокосилок, которые могут удовлетворить ваши потребности в технике для газонов и озеленения. Обе модели оснащены двумя лотками для удобрений на 50 фунтов.СТЕНД на продажу у производителей оборудования. Это мало использованный аэратор Toro 30 «со стоячим местом для продажи. Найдите бывшие в употреблении лестницы для продажи на объявлениях Oodle. Отфильтруйте результаты поиска с помощью инструмента справа от списков, чтобы найти точную марку и модель, которые вам нужны. Высокопроизводительные 32-дюймовые и 36-дюймовая косилка STANDER X COMMERCIAL STAND-ON MOWER. 7 499 долларов США. Возможность легко поворачиваться, входить и выходить из ограниченного пространства, а также быстро садиться и садиться на газонокосилку для сбора мусора или перемещения препятствий — все это способствует сокращению затрат времени на каждую собственность .иди в поездку. Кроме того, их можно опорожнить, потянув за рычаг, удобно расположенный рядом с сиденьем косилки. Honda Power 2020 Honda Power Эта подставка для оборудования Steelton размером 30 x 24 дюйма из нержавеющей стали 18 калибра рассчитана на ежедневное использование даже в самых загруженных коммерческих условиях! Он оснащен прочной верхней полкой из нержавеющей стали размером 24 дюйма и 18 калибра, которая обеспечивает достаточно места для размещения вашего большого и часто используемого оборудования, такого как грили и мангалы, а нижняя полка из оцинкованной стали идеально подходит для хранения дополнительных принадлежностей Aaron Kendell Packaging Equipment имеет большой запас неиспользованных и использованных готовых пакетов горизонтальной формы и наполнения.ИСПОЛЬЗУЕТСЯ — Keating Miraclean Griddle 36 дюймов — 36X30FT-G. (155 см). Здесь, в Messicks, мы делаем все по-другому, наши онлайн-объявления ЖИВУТ. Мы признаны ведущим золотым дилером Scag Pro, у нас есть отдел полного обслуживания, обученный на заводе техников для технического обслуживания, гарантии и ремонта всей продукции Scag. Благодаря меньшей ширине косилочной деки, 36 или 48 дюймов, SS100 создан для прохода через узкие ворота или погрузки на небольшой фаворит этот пост 30 апр 😎 LED-SHOP-OFFICE- LIGHT LIQUIDATION 4 FT 5400 LUMEN БЫЛ 85 ДОЛЛАРОВ.Звоните или пишите 3304956441. Строительство; Строительное оборудование; Подсобные автомобили ИСПОЛЬЗУЕМЫЕ Стояночная косилка Exmark Vantage серии S 60 дюймов Kohler EFI (VTS740EKC60400) $ 4 490. Вы можете применить аналогичные принципы к другому бывшему в употреблении газонному оборудованию, например, подрезанным ниткам, кусторезам и т. Д. Прочные и устойчивые для быстрой работы Что бы ни было на вашем пути, 22-сильный двигатель Kawasaki обеспечивает сверхмощную мощность в простой маневренной машине. Если вы, ребята, когда-либо имели y Sesmas Mowers Inc., кто знал, что косилка может так хорошо выглядеть? нужно с Альфа МП.Raptor SDX — самая большая, самая мощная и прочная косилка в семействе Raptor. 4600X Wedgewood Blvd; Frederick, MD 21703; 301 Б / у Ferris 36 «Stand on Mower Model 56SRS 19hp Kawsaki Engine 36″ Только дека 86. СТРОИТЕЛЬНОЕ ОБОРУДОВАНИЕ В ПРОДАЖЕ! Сэкономьте на продаже новых и подержанных газонокосилок рядом с вами. ПРОДАЖА — ЦЕНА СНИЖЕНА на 15%. 277. com всегда предлагает самый большой выбор новых или подержанных мотоциклов для продажи. Есть несколько причин, по которым люди начинают переходить на эти косилки. Выйдите на улицу для озеленения или украсьте свой сад! Делайте покупки в огромном ассортименте онлайн на eBay.Сотни ездовых косилок Ferris на продажу по конкурентоспособным ценам. ИСПОЛЬЗУЕМЫЙ СТЕНД JOHNSON 8 ″ X 30, ДВУХРУКОВЫЙ ТЯНУВОРОКАТНЫЙ У нас есть обширная сеть, где можно найти качественное бывшее в употреблении оборудование для газонов, такое как косилки с нулевым поворотом, коммерческие мотоблоки, а также садовые и садовые тракторы. Медузы и резервуары для медуз. Самая универсальная коммерческая косилка на рынке с широкой шириной кошения для обработки больших газонов и массивных площадей, но при этом достаточно маневренная, чтобы соответствовать небольшим косилкам на неровной поверхности и при движении по узким препятствиям.20 часов использования света. Бесплатная доставка. В качестве надежного и гибкого решения по оборудованию мы предлагаем различные подержанные вилочные погрузчики. Стоя на косилке, вы можете нырнуть под ветку дерева. до 4 дюймов Обзор косилок со стоячим движением Ferris. U-образные кронштейны регулируются по вертикальным каналам, чтобы правильно разместить любое навесное оборудование JRCO на вашей газонокосилке. Дизельный двигатель 4 л. — Широкий разгрузочный желоб для равномерного распределения обрезков — Надежный и надежный сервис — залог наших продаж.1995 фунтов стерлингов. Стойка для оборудования 36 «x 30» S / s Нижняя полка из нержавеющей стали, калибр 16. Stander B оснащен: плавающей 32-, 36-, 48- или 52-дюймовой декой. Если у вас небольшой плоский газон размером менее четверти акра, вы можете использовать ручную газонокосилку или катушку. Bobcat (713) New Holland (696 Ниже приведен список всех имеющихся в наличии подержанных газонокосилок Hustler, выставленных на продажу на Mascus. Газонокосилка Husqvarna MZ61 61 «27HP Commercial Zero Turn Gas Riding Tactor. У нас есть газонокосилки от Ariens, Gravely, Honda , Husqvarna, Snapper, Toro и Weed Eater.Косилки и аксессуары разработаны таким образом, чтобы быть удобными для пользователя, с упором на качество, производительность, простоту обслуживания, рентабельность и долгий срок службы. 198 долларов. Размещение и обновление оборудования выполняется отдельными дилерами Exmark. 419. Так родилась идея газонокосилки со стоячим движением. Станок, который представляет собой операцию непрерывной гибки, в которой длинная полоса листового металла (обычно рулонная сталь) пропускается через наборы валков, установленных на последовательных клетях, причем каждый набор выполняет только пошаговую часть гибки до получения желаемого профиля поперечного сечения. получается.CycleTrader. Richardson Saw предлагает широкий ассортимент продукции Scag, в том числе газонокосилки, косилки среднего размера, стояночные косилки, газонокосилки с нулевым поворотом и запчасти. Он самоватывается каждый раз, когда вы выходите из него. Предлагаем к продаже высококачественные дизельные, газовые и пропановые электрические генераторы непрерывного и аварийного резервирования. Подержанные газонокосилки на продажу в Мэриленде, Делавэре и Пенсильвании. Независимо от того, сколько акров вы должны покрыть, у Atlantic Tractor есть идеальная подержанная газонокосилка для ваших нужд.РАСПРОДАЖА. НОВАЯ С 1 ГОДОМ. Насадка для газонокосилки с двумя колесами TS2000N Sulky Scratch and Dent. Мы упростили поиск нужной шины. (122 см), 52 дюйма. В SDX есть все, что вам нравится в Raptor SD, а также кое-что еще. Готовые машины для наполнения и запечатывания пакетов для упаковки всех типов продуктов в плоские пакеты с трех- или четырехсторонним уплотнением, стоячие пакеты с повторно закрывающейся молнией или крышкой или фасонные пакеты для пищевой, фармацевтической и косметической промышленности. (Эта цена указана за новую косилку.com / app-gsa /. Качественные инструменты для ухода за газоном, на которые можно положиться. Технические характеристики газонокосилки получены до совершения покупки. Бесплатная доставка. KaTom #: 009-EGLG3032X. Стояночные косилки QuikTrak ™ серии E, M и R. [display_listings l_type = ”102 ″] Введение Газонокосилка (также известная как косилка, газонокосилка или газонокосилка) — это машина, в которой используется один или несколько вращающихся ножей для срезания поверхности травы до одинаковой высоты. Документация в этом разделе содержит общую информацию по технике безопасности и инструкции по эксплуатации в зависимости от типа оборудования.Косилки Ferris в наличии У Maxwell Farm Service в наличии и скоро появится множество косилок Ferris !!! Доступные модели включают нулевой поворот, стоячую, прогулочную сзади и переднюю установку. 5 кавасаки. Благодаря более низкому центру тяжести, двойному гидравлическому насосу и двухколесной системе привода вы действительно подумаете, что оранжевый — это новый черный. Scag Power Equipment представлена по всему миру сетью официальных дилеров. Wright Manufacturing, inc. Предлагает лучшие в своем классе сидячие, стоячие, пешеходные, средние и сидячие косилки для профессионального озеленения.Отличная косилка. грамм. ЧАСЫ: 560 (13 МАЯ 2021) Стоять на косилке, 52 дюйма. Тракторное депо Futch — 3 пункта на северо-востоке Флориды — предлагает новые и новые модели; Продажа, аренда, сервис и запчасти бывшего в употреблении сельскохозяйственного оборудования МАГАЗИН НАШИ ПАКЕТОВ ДЛЯ КОСИЛКИ — 2 марта 2021 г. Кубота. Коммерческая стоячая косилка Staris E-Series, доступная с выбором из 32-, 36- или 44-дюймовых режущих дек UltraCut Series 3, обеспечивает идеальный баланс производительности и стоимости. 00 ПРОДАЖА. com — ваш универсальный источник всего вашего оборудования для пекарен.Стояночные косилки BOB-CAT® с высокой скоростью хода, внушающей уверенность стабильностью и комфортом в течение всего дня позволяют быстро справиться с коммерческими работами на газоне. В этом видео я объясняю, почему и около десятка производителей представили косилки со стоячим устройством, в том числе несколько новых моделей, на выставке GIE + EXPO в Луисвилле, Кентукки. Газонокосилки Scag хорошо известны и широко известны своим качеством и производительностью во всех странах США. 54-дюймовый трактор для дворового двора, такой как YT 4500 Model 28990. * Режущая система DuraDeck ™ доступна на 36-дюймовой косилке.Посмотреть детали. Доступный с режущими деками 52 ″ или 60 ″, Mean Green Vanquish может непрерывно работать на 11. СТЕНД для продажи в Growers Equipment. Прицеп 5’x10 ‘. 89 $ 34. Здесь можно найти косилки с нулевым поворотом, переднее крепление, прогулочную и стоячую косилку, а также стоячий разбрасыватель / опрыскиватели, а также навесное оборудование и аксессуары. Купить или продать машины и оборудование быстро и легко — MachineSales. (152 см) тройная пила и газонокосилка Richardson предлагает широкий ассортимент продукции Scag, включая средние, стояночные косилки, газонокосилки с нулевым поворотом и наиболее распространенные детали.Кулер был промыт изнутри и снаружи, а затем окрашен белой эмалью премиум-класса. (137 см) трехлопастная косилка большой емкости или 60 дюймов. Косилка FW25 — это коммерческая мотокосилка с гидравлическим приводом. 25 л.с. — это большая мощность для 36-дюймовой косилки. Мы выставляем на аукцион топливные баки / хранилища каждый месяц, и мы всегда получаем все больше и больше для будущих аукционов. Независимо от того, являетесь ли вы профессионалом или частным пользователем, трудолюбивые люди ценят хорошо спроектированное и построенное оборудование.ПРОДАЖА Б / У ПЕРЕДНЕЙ КОСИЛКИ JOHN DEERE 1570 TERRAIN CUT OUT: 37. Вы также можете увидеть все подержанные газонокосилки Hustler, сгруппированные по моделям. Конкретные элементы управления, функции и инструкции по эксплуатации могут различаться в зависимости от марки, модели и года выпуска. У нас есть полный ассортимент коммерческого оборудования для ухода за газонами, включая нулевые повороты, газонокосилки, триммеры, воздуходувки, профессиональные газонокосилки и многое другое. 2017 Hustler Excel SUPER S — подставка 22K52-933341. Просмотрите наш перечень новых и подержанных газонокосилок, выставленных на продажу рядом с вами в TractorHouse.В великобритании продается коммерческая косилка exmark с диагональю 36 дюймов. Бесконтактная. Найдите выгодные местные предложения на другое подержанное снаряжение для гольфа, выставленное на продажу в Эйрдри, Северный Ланаркшир. Совершайте беспроблемные покупки в Gumtree, местном сообществе покупателей и продавцов. Лучше всего Jacks работает с включенным JavaScript. Подробнее Пожалуйста, оставьте нам сообщение! Настраиваемая подставка Rockler идеально подходит в качестве рабочего места, шкафа стола маршрутизатора, верстака, сборочного стола или подставки для инструмента. Непревзойденный крой и высококачественные компоненты позволяют им прослужить дольше и превосходить соревнование.уже более 10 лет помогает местным газонным и ландшафтным компаниям! Мы специализируемся на покупке, перепродаже и ремонте газонокосилок с нулевым поворотом, стояночных и коммерческих газонокосилок в Форт-Уэрте, штат Техас. Эта стоячая кровать оснащена 56 лампочками мощностью 220 Вт за максимальное время сеанса 8 минут. Косилки Wright Stander (Olathe) Привет, у меня есть две косилки Wright Stander на продажу (одна 36 дюймов и одна 52 дюйма). Мы гордимся тем, что можем предложить лучшее из подержанного и бывшего в употреблении оборудования. Купите Husqvarna Ride — Газонокосилки Газонокосилки и получите лучшие предложения по самым низким ценам на eBay! Большая экономия и бесплатная доставка / возврат многих товаров. Покупайте бывшие в употреблении рабочие столы и подставки в Burkett Restaurant Equipment.$ 800 atlanta> для продажи «» нажмите для поиска craigslist Ego LM2100 Walk-Behind Mower с навесным оборудованием, аккумулятором и зарядным устройством Exmark Turf Tracer Hp 36 Б / у Коммерческие косилки. 36-дюймовая ходовая часть за косилками. Продажа бывших в употреблении косилок $ 5 800 (Raleigh) скрыть эту публикацию восстановить восстановить эту публикацию. Абсолютно новый 36-дюймовый Liberty Z с 18-сильным двигателем Kawasaki превосходит толпу по мощности, долговечности и производительности. U10FFD 750 долларов США: бывшие в употреблении стоечные газонокосилки Mobile Plan и запчасти для небольших двигателей — выбор по производителям, включая Ariens, Briggs и Страттон, MTD и Торо.Серия Cub Cadet S60 Tank, 60-дюймовая косилка, двигатель Kawasaki мощностью 31 л.с., система задней упаковки с новыми сумками, время работы всего 217 часов. С полным набором опций и аксессуаров для обеспечения безопасности, функциональности, производительности, комфорта, развлечений и просто красивой внешности, рулон эти отличные дополнения при покупке по низкой ежемесячной цене — прямо в финансирование вашей газонокосилки. Текущая цена $ 6499. Подержанные роллформеры продаются в Тишкене, Йодере и Локформер. и ротаваторы, а также услуги по уходу за садом.John Deere включил свои ролики ZTrak, чтобы учесть более тяжелую переднюю часть, в то время как управляющие колеса с двойным колпачком сзади защищают оператора от случайных травм. Приходите к нам прямо сейчас! Подлинный OEM Ariens 3PK Gravely 52 «Pro-Turn 152, 2731 Ножи косилки 00273100, 04916400, 00450300 Zoom 1640 1840 1844 ZT 2044 4. Как и любая другая разновидность коммерческих косилок, стоячие косилки предлагают уникальные преимущества, делающие их более эффективными для определенных типов Следующее лучшее, что нужно для приобретения нового Exmark® — это подержанный Exmark.com. 5 «Gloucester 30/1 L / D вентилируемый экструдер, модель 35250, серийный № 33310-01. Малый радиус поворота позволяет косить близко к деревьям и мульчированным грядкам. 30. Торговые прицепы продаются Aluma, Pj Trailers, Big Tex Trailers , Load Trail, Doolittle Trailer Mfg, Carry-on, Sure-trac и др. Поиск бывшего в употреблении оборудования Погрузочные машины и подъемники Мини-погрузчики. 2 стойки — 24 стойки, бывшие в употреблении роллформеры Место № 1 для поиска новых и бывших в употреблении вальцовочных машин на продажу. Исключительные Видимость GrandStand защищает оператора, косилку и имущество.Дека косилки Accel Deep ™ с тройным ножом (122 см), 54 дюйма. Мы готовы отказаться от этого, потому что нам не нужны машины, мы просто купили их, чтобы иметь возможность покупать другие наши машины с большой скидкой через структуру ценообразования FLEET. Эта красивая сковорода с хромированным верхом экономит до 44% времени на очистку и до 32% затрат на электроэнергию. На все наши демонстрационные и бывшие в употреблении солярии распространяется полная шестимесячная гарантия. Я покупаю сломанные нулевые повороты и косилки для верховой езды за 222 доллара (освещено> Кэбот Шервуд Джексонвилл Литл-Рок Биби Конвей Уорд) рис. скрыть эту публикацию восстановить восстановить эту публикацию в фаворите этот пост 1 мая мне нравится мой 36-дюймовый scag wb.. Он оснащен двигателем Kawasaki мощностью 23 л.с. 9 л.с., колода 60 «-70». Дека стоячих газонокосилок Exmark имеют ширину 36, 48 и 52 дюйма. Одноцилиндровый двигатель Briggs and Stratton® мощностью 5 л.с. с 36-дюймовым двигателем. Эргономичные косилки SRS ™ Z1, Z2 и Z3X, спроектированные с высокой точностью для максимальной маневренности, сбалансированной устойчивости и управляемости, полностью загружены инновационными функциями, которые остаются верными MGM Vanquish Stand-On Mower присоединяется к серии Evolution Компания Mean Green Mowers объявила о выпуске электрической газонокосилки vanquish.Мы обслуживаем все бренды, которые продаем. Исследование бывшей в употреблении косилки; Осмотр бывшей в употреблении косилки; Риски бывшей в употреблении косилки; Аренда косилки; Покупка новой косилки; Покупка бывшей в употреблении косилки. Но с таким количеством моделей на рынке может быть сложно понять, какую новую газонокосилку купить. РЕМЕСЕЛ T100 11. 69 Cu. ПО ЭТОЙ ЦЕНЕ МНОГО НАЙДЕТЕ! 4900 долларов. А если вы присмотритесь достаточно долго, вы также найдете всю садовую мебель, грили и аксессуары, которые понадобятся вам, чтобы наслаждаться видом после того, как вы закончите кошение. Запросите ценовое предложение на горизонтальную форму бывшего в употреблении готового мешка и заполните его онлайн или позвоните нам сегодня по телефону 630-350-2200.Быстро и легко превратите вашу мотокосилку в автономную косилку. Описание: Получите ту же производительность по обработке больших бревен, что и крупные промышленные лесопилки, но всего за небольшую часть цены, с портативной пилорамой LumberPro HD36 — измельчите бревна лиственных и хвойных пород диаметром до 36 дюймов (90 см), нарезайте доски вверх. шириной до 28 дюймов (70 см) и обрабатывать древесину любой длины. Почему 32-дюймовая стоячая косилка для подрядчиков — лучшая газонокосилка? За последние шесть месяцев мы стали свидетелями огромного увеличения числа людей, покупающих косилки со стоячим станком.00 05/17: Подержанный дилер: Sanders-Wide Blt Single: Opti-Sand RV40 Brush Sander Другое — RV-40 Продавец: Энди: Техас: 16 500 долларов. МЕСТО РАСПОЛОЖЕНИЯ. ОТКАТИТЬ ЗАПУСК ДВИГАТЕЛЯ KAWASAKI. Кемплер. com. Просмотрите весь наш инвентарь новых или подержанных мотоциклов-скутеров. com 9860 18 СТЕНДОВ НА ДВУХ ОСНОВАХ ПО 10 СТЕНДАМ Косилки от Jacks — это место, где можно начать новую прогулку за газонокосилкой. ПРОДАН звонок, чтобы попасть в наш список ожидания. Самое приятное в стоячем положении — это его способность маневрировать в очень узких местах, но при этом дает оператору возможность ездить.Воспользуйтесь вариантами сортировки ниже или прокрутите список для поиска в нашем инвентаре на месте: с выбором мощных двигателей, прочными компонентами и эксклюзивной технологией газонокосилки, такой как система резки iCD ™, коммерческие газонокосилки Snapper Pro являются разумным выбором для ваших ландшафтных нужд. Деньги достались, не нужны, работают над разными проектами. Конечно, поскольку это оборудование используется, то, что у нас есть на складе в любой момент времени, будет значительно отличаться. Функции безопасности стоячей косилки. Газонокосилка — ваш лучший друг, когда дело касается непослушного двора.Сценарии общественного питания, в которых можно воспользоваться хорошим коммерческим миксером, почти безграничны. Найдите подержанные тракторы на продажу рядом с вами. Будь то легкая уборка пыли или обработка крупного события, у Ventrac есть все необходимое, чтобы убрать его быстро и эффективно. Строительство; Строительное оборудование; Коммунальные машины Косилки Wright известны как надежные, тяжелые коммерческие косилки. Крепежные штанги JRCO подходят для большинства промышленных косилок. Подержанное оборудование для обработки — другое на продажу Требуется 36 0.Расширяя нашу линейку коммерческих газонокосилок с нулевым поворотом, серия стоячих газонокосилок SRS ™ обеспечивает повышенную производительность, которая стала синонимом бренда Ferris, при использовании подставки позади машины. При выборе коммерческой газонокосилки сидячая или стоячая необходимо учитывать несколько факторов. Exmark имеет семь мотоблоков с 21-, чтобы получить эксклюзивную экономию прямо в вашем почтовом ящике! Получите внутреннюю совок! Подпишитесь на рассылку электронной почты DR, чтобы получать эксклюзивные скидки, еженедельные специальные предложения, текущие акции, новости о новых продуктах и многое другое.Закаленное термостекло обеспечивает улучшенную изоляцию, а также максимальную защиту от разрушения стекла. Найдите идеальные коммерческие газонокосилки для своего бизнеса с помощью высокопроизводительных и надежных опций Toro. Просмотрите самые популярные бренды и модели по лучшим ценам на Machinery Pete. При финансовой поддержке. Даже с его многочисленными инновационными функциями, 15 лошадиных сил (11. Объявления отсортированы по дате — самые свежие находятся наверху. OfferUp SS100 предлагает дополнительную производительность автономного блока в компактном корпусе.Высота скошенной травы может быть зафиксирована конструкцией косилки, но обычно регулируется оператором, обычно с помощью одного главного рычага или рычага или гайки и болта на каждом из колес машины. Чтобы выбрать лучшую газонокосилку, примите во внимание размер лужайки и ее рельеф. Тяговые ролики работают на 1. новом карбюраторе. С 1921 года газонокосилки Jacobsen всегда были мельком оранжевого цвета на полях для гольфа, спортивных площадках и коммерческих площадках по всему миру. Компактный размер 32-дюймовой модели позволяет ей проходить через 36-дюймовые ворота и в ограниченное пространство, что является обязательным условием для коммерческого кошения.Лучшие производители. Отфильтруйте результаты поиска с помощью инструмента справа от списков, чтобы найти точную марку и модель, которые вам нужны. Сколько косилок вам нужно перевозить между рабочими местами? Получите бесплатную доставку квалифицированных коммерческих газонокосилок с подставкой или купите онлайн-самовывоз в магазине прямо сегодня в отделе для улицы. 00 05/17: Продавец б / у: Door Mfg. У него 36-дюймовая дека и 118-дюймовая дека. 07, 5. или я думаю, что у немецкого дога были хорошие косилки. Используемый плоский файл с 10 ящиками с ящиком для хранения документов: Этот классический используемый плоский файл от Гамильтона содержит как чертежи до 24 дюймов x 36 дюймов, так и файлы размера Letter.Эта подставка на косилку также имеет регулируемую высоту стрижки, так что вы можете адаптировать ее к своему газону. 00. В определенное время года мы выставляем на продажу бывшее в употреблении оборудование. ГАРАНТИЯ Покупайте отличные предложения на Stand On Mower. Косилка коммерческого качества, созданная для самых сложных жилых дворов площадью до 3 акров. Присоединяйтесь к миллионам людей, использующих Oodle, чтобы найти уникальные подержанные автомобили на продажу, апартаменты для аренды, списки вакансий, товары и другие объявления в вашем районе. Найдите бывшие в употреблении газонокосилки, обрезные станки, триммеры, воздуходувки и многое другое на продажу в Окале и округе Марион, Флорида.Отзывы о лучших газонокосилках с подставкой (2021 г.) Наша рекомендация по выбору лучшей косилки с подставкой — это коммерческая косилка Bradley Stand On Zero Turn, которая предлагает несколько вариантов ширины стрижки, поэтому вы можете выбрать лучший размер для своих нужд. Гусеничный траншеекопатель Barreto RTK2348 2019 года, оснащенный шнеком и отвалом для обратной засыпки. 3 часа 4995 долларов США Подержанная газонокосилка Ferris 36 «Stand On Mower — ферма и сад — от владельца — продажа попробуйте приложение Craigslist» Android iOS Эта газонокосилка оказалась лучше, чем ожидалось, по цене. BRADLEY 36 «BEL T DRIVE MOWER.НЕТ ТОРГОВ! Серьезная часть дилеров John Deere через MachineFinder перечислила бывшие в употреблении коммерческие мотоблоки. рейтинги, основанные на 30 отзывах. Смазки для газонокосилок на продажу $ 1,200 (Des Plaines) рис. Скрыть эту публикацию восстановить восстановить эту публикацию. Приходите сами убедитесь в размерах деки 36 дюймов, 42 дюйма, 52 дюйма Гарантия на 7 лет / 300 часов (4-7 лет. Добавить в избранное этот пост 14 мая Косилка Ferris 36 дюймов, идущая позади стоячих газонокосилок стоимостью 3000 долларов США. 966.00 СЕЙЧАС 19 долларов США (mun> 💡12000 люмен 8 футов БЫЛО 130. 00. Экструдер приводится в движение двигателем постоянного тока мощностью 150 л.с., напрямую подключенным к 15.Эта Б / У сковорода Keating Miraclean поможет вам сэкономить деньги и время на кухне. Запросить информацию Позвоните нам: 913-681-5225 | Факс: 913-681-5587 | info @ styersequipment. 2019 Ferris, SRSZ2BVE2852, c_mowers_stand, КОММЕРЧЕСКИЙ СТЕНД НА ZERO TRACK 52 Подержанное оборудование Exmark. Это означает, что мы верим в эту машину, мы стоим за ней и вкладываем в нее все, что получили. Продажа Машин и Оборудования. Купите бывшие в употреблении топливные баки / хранилища на аукционе — BigIron Auctions предлагает различные марки и модели топливных баков / хранилищ для продажи на всей территории США, чтобы вы могли найти подходящие топливные баки / хранилища по правильной цене.Стояночные косилки John Deere QuikTrak имеют почти такую же раму, что и косилки Wright Stander, с небольшими обновлениями. Эти аэраторы терпят поражение. Компактный профиль Ventrac значительно снижает ущерб ландшафту от более крупного оборудования. Куплена в июне новой с добавленной заслонкой обошлась мне в 8 тысяч. Щелкните здесь, чтобы ознакомиться с полным ассортиментом подержанного ресторанного оборудования. Generac PRO 30 дюймов P. Три главные причины приобрести газонокосилку Exmark Metro 36 ″ — это Cut. Просмотрите наш инвентарь новых и подержанных погрузчиков с бортовым поворотом, выставленных на продажу на MachineryTrader.Он делает все, о чем я прошу. Сверхпрочные стальные деки 10-го калибра обеспечивают непревзойденную долговечность при размерах до 60 дюймов. нужен транс !!!! режет хорошо. Установлен модернизированный двигатель Vanguard мощностью 23 л.с. 299 долларов. Добавить в корзину. Качество. 6 499 долларов США. Вы можете отсортировать их по цене, количеству рабочих часов, стране и т. Д. 2 года назад. Он оснащен двигателем Kawasaki FS 603cc мощностью 15 л.с. 5 галлонов. Косилки со стоячим местом Scag имеют ширину 36, 48, 52 и 61 дюйм. 3 499 долларов США. Уборочное оборудование Tennant — это самая инновационная и надежная марка подметально-уборочных машин и скрубберов на рынке.2 из 5 звезд 40 $ 34. Найдите все, от небольших изделий до больших коммерческих духовок и миксеров. По мере появления на рынке новых газонокосилок перед отправкой им могут потребоваться незначительные изменения оборудования (например, обязательно в полном комплекте. Наша команда по продажам в Мидлтаун и Цинциннати готова помочь вам найти новую газонокосилку для коммерческого или домашнего использования. Компактный размер газонокосилки 32-дюймовая модель позволяет ей проходить через 36-дюймовые ворота и в ограниченное пространство — обязательное условие для стрижки кошек. © MachineFinder, John Deere и связанные товарные знаки являются собственностью и доступны только для конкретного использования Deere & Company.5 миль в час на срок до 7 часов. Цена. Ультракомпактный помещается в труднодоступных местах. Инновации и внимание компании Scag к качеству известны и уважаемы во всей отрасли. OAC, СОХРАНИТЬ 400 долларов США 7 199 долларов США (Аврора) рис. Скрыть эту публикацию восстановить восстановить эту публикацию. ТОЛЬКО 150 ЧАСОВ! У ЭТОГО ИМЕЕТСЯ 36-ДЮЙМОВАЯ КОСИЛЬНАЯ ДЕКА AERO CORE. Мощная запатентованная STALKER STALKER STAND on WALK за косилкой с гордостью построена в самом сердце США. Он почти не используется и находится в идеальном состоянии, поскольку мы только что приобрели 2 из них, чтобы у нас была возможность узнать цены на ФЛОТ.Впечатляющее качество реза и более чистая режущая дека стали возможными благодаря передовой технологии. 0 л.с. 12. Термин «квадрат» — это общий термин, относящийся к ножницам, которые делают прямой надрез стального листа или листового металла. Этот конвейер используется в основном для транспортировки картонных коробок, ящиков, пакетов и / или поддонов на более короткие расстояния. 89 Хорошо косите с большой скоростью благодаря выбору размера деки (цена оплачивается отдельно) с электрическим включением ножей ВОМ, разработанным для обработки высокой травы на более высоких скоростях за 1 дюйм.С 4 дополнительными размерами деки от 36 до 60 дюймов Super S может справиться практически с любыми препятствиями на любой местности. 47 О компании North Royalton Power Equipment. com. Артикул № 138370. Колода для мульчирования по запросу Этот товар можно приобрести в Premier Equipment — Smithville. Если вам нужна дополнительная информация, позвоните по бесплатному телефону 1-888-691-0302. Часы работы — с понедельника по пятницу с 8:00 до 5:00: 30, суббота с 8:00 до 12:00. Указан адрес нашего головного офиса. Карта этого магазина — https: // goo. Любые вопросы, касающиеся подержанного оборудования, следует направлять непосредственно дилеру.Стенды для оборудования могут поддерживать тяжелые инструменты, такие как машины для слякоти, диспенсеры для напитков, миксеры и слайсеры, обеспечивая надежный стол для защиты вашего оборудования. В этой статье я расскажу о преимуществах косилки с подставкой, для кого предназначен стояк, и о лучшей подставке для косилок в 2021 году. Косилки с подставкой Ferris: нажмите здесь, чтобы просмотреть модели. Газовая электрическая пусковая самоходная мотокосилка G-Force 67 л.с., модель № AT47030GENG Cub Cadet, 33 дюйма. Все права защищены. Вместимость салона.Эти грузовики прошли тщательный контроль качества и предлагают те же инновации в области экономии энергии, использования пространства и качества производства, что и новые модели, и работают над повышением эффективности и снижением затрат на всех этапах погрузочно-разгрузочных работ. Стоят косилки для продажи в Кентукки. 75 дюймов на полностью регулируемой плавающей платформе. Вы, оператор, должны позаботиться о своей безопасности. Строительство; Строительное оборудование; Коммунальные машины больше месяца назад Предлагается на продажу сельскохозяйственное и садовое оборудование в Атланте, Джорджия, Коммерческая косилка Gravely Pro Walk 36G 2012.Каждое объявление включает фотографии, местоположение, состояние, подробное описание и цену. У нас также есть полный сервисный отдел для обслуживания и ремонта всей продукции Scag. Акриловые аквариумы, подставки, навесы и фильтры. Подставка для аквариумов высотой 30 дюймов. В одиночестве Kubota Просмотрите инвентарь стоячих косилок Kubota, отфильтруйте результаты поиска по функциям, чтобы найти наиболее подходящие для вас, или даже создайте свои собственные. Температура шкафа Гравитационный конвейер — одно из наиболее распространенных устройств, которые можно найти на многих складах.Тогда найдите поблизости дилера, у которого есть желаемый продукт! Сегодня мы собираемся поделиться с вами, ребята, моими 5 лучшими вариантами, которые я считаю лучшим коммерческим стендом для газонокосилок. Не уверены, какая газонокосилка вам подходит? Сравните все модели. Независимо от того, нужны ли вам большие или маленькие косилки с ручным управлением, стоячие или с нулевым поворотом, вы всегда получите надежное и долговечное качество в нашей линейке. Найдите новые и подержанные косилки Scag на продажу в большой базе данных Fastline. Поставляется с двигателем KAWASAKI FX600V мощностью 19 л.с.Найдите ближайших к вам поставщиков в ведущем мировом каталоге излишков техники и оборудования. Продается косилка с подставкой Ferris 36 ″. Косилки Scag подразделяются на четыре категории газонокосилок с нулевым поворотом, косилок со стоячим ходом, косилок для ходьбы сзади и передних креплений. Двигатель 22HP FX691V Kawasaki, стоячая косилка с нулевым поворотом, дека 52 дюйма, двигатель FX691V Kawasaki 22HP, Co Просмотрите наш перечень новых и подержанных газонокосилок WRIGHT, выставленных на продажу рядом с вами в TractorHouse. V-Ride II — сверхкомпактный маневренная, удобная и устойчивая газонокосилка со стоячим местом для оператора.С его захлопнувшимся шасси, способствующим чрезвычайно низкому центру тяжести, STALKER обнимает холмы, при этом обеспечивая высоту стрижки до 4. Универсальная стоячая косилка. Больше не нужен. Стоячие косилки. Быстрая и бесплатная доставка многих товаров! Подержанная газонокосилка Great Dane 52 «Stand On. ПРОДАЖА: $ 14 995 — $ 15 495 Windsor Chariot iScrub 24D Stand On Нет налога с продаж, добавляемого к подержанному оборудованию, поставляемому за пределы штата Вирджиния. Размеры деки варьируются от 36 до 72 дюймов. девиз с момента основания в 1980 году как магазин крошечных газонокосилок.Откройте для себя коммерческие газонокосилки и оборудование от Ferris. Я собираюсь использовать три косилки в качестве примеров: 1. 48-дюймовую коммерческую стойку на газонокосилке с нулевым поворотом, такую как Toro Model 74568 Grand Stand. Остановитесь, чтобы увидеть нашу подборку Scag Zero Turns, Walkers и Scag Standers. Включает резервуар для сбора воздуха. Exmark Mowers. 09. Привет. Наши газонокосилки с нулевым поворотом идеальны для домовладельцев и компаний по уходу за газонами, у которых могут быть косилки с нулевым поворотом различных размеров и марок. Остановитесь в нашем офисе в Южном Миннеаполисе, чтобы увидеть все наше наружное энергетическое оборудование.com. 18. продам генеральный 0; здоровье и красота 0; тяжелая техника 0; предметы быта 0; ювелирные изделия 0; материалы 0; запчасти и аксессуары для мотоциклов 0; мотоциклы / скутеры 0; музыкальные инструменты 0; фото / видео 0; прогулочные автомобили 0; спортивные товары 0; билеты 0; инструменты 0; игрушки и игры 0; прицепы 0; видеоигры 0; Требуется 0 Коммерческая стоячая косилка Staris серии E, доступная с выбором из 32-, 36- или 44-дюймовых режущих дек UltraCut Series 3, обеспечивает идеальный баланс производительности и стоимости.Прочная и устойчивая, чтобы быстро справиться со всем, что встречается на вашем пути, 18. Эту бывшую в употреблении стоячую кабину для загара можно отправить в любую точку США с 90-дневной гарантией. Двигатель Kawasaki FX 600V мощностью 5 л.с. Они могут быть дорогими; мы экономим тысячи долларов благодаря выгодным сделкам на новые и бывшие в употреблении кухни, прицепы для пищевых продуктов и прицепы для общественного питания, чтобы у вас было больше денег для развития вашего бизнеса. У нас есть газонокосилки от Ariens, Gravely, Honda, Husqvarna, Snapper, Toro и Weed Eater. Документация в этом разделе содержит общую информацию по технике безопасности и инструкции по эксплуатации в зависимости от типа оборудования.Продажа подержанных мини-погрузчиков. Теперь мы являемся одним из крупнейших дилеров наружного силового оборудования на северо-востоке Огайо с запасами оборудования и запчастей на миллионы долларов. Коммерческие стоячие косилки — хороший выбор для повышения эффективности и быстрого получения отличных результатов. Bradley 52-дюймовая компактная косилка Vanguard мощностью 26 л.с. Стоячая косилка Gravely Pro-Stance 48, оснащенная двигателем Kawasaki мощностью 22 л.с. и 48-дюймовой режущей декой, обеспечивает превосходный контроль и простую в управлении мощность, которая выдерживает испытание временем.выбор высоты среза в 1/4 дюйма. Подержанная косилка Ferris на продажу: косилка 29 — Найдите бывшую в употреблении косилку Ferris у продавца оборудования. Доступные в моделях с нулевым поворотом, ходьбой сзади и стоячей, обязательно найдется идеальная газонокосилка для ваших нужд. 90) рис. Скрыть эту публикацию восстановить восстановить эту публикацию GSA Equipment продает новые косилки Scag, Snapper, Simplicity и Big Dog и является вашим источником для покупки и продажи бывшего в употреблении коммерческого газонного оборудования. Найдите John Deere, Hustler, Scag и Exmark для продажи на Machinio. Делайте покупки в Интернете и в магазине, чтобы найти лучшие газонокосилки, ездовые газонокосилки на продажу, а также запчасти и аксессуары для газонокосилок, необходимые для того, чтобы ваш газон выглядел острым.Приобретите более 150 000 прицепов, чтобы найти идеальный подержанный прицеп для спецтехники поблизости от вас. магазин по размеру магазин по дизайну протектора Найдите подержанные столики в ресторанах, выставленные на продажу владельцем ниже. Приходите и оцените новую стойку Ferris SRS-Z2 на промышленных газонокосилках, воздуходувки с нулевым поворотом Ferris или разбрасыватели / опрыскиватели Ferris для ухода за газоном. (419) 872-2364 — Просмотрите наш инвентарь роллформера, включающий более 100 бывших в употреблении роллформеров и комплектных линий, которые в настоящее время находятся на нашем производстве. Мы предлагаем широкий выбор бывшего в употреблении оборудования для аквариумов и прудов, от бережно используемых аквариумов до высококачественного фильтрующего оборудования.Он сочетает в себе скорость и комфорт райдера с компактным удобством мотоблока. Они помогут вам выбрать ездовую косилку, трактор, косилку с нулевым поворотом или снегоуборочную машину, доставят вашу новую косилку или снегоуборочную машину к вам домой, научат вас, как работать, если это необходимо, помогут с аксессуарами или сезонным обслуживанием и предоставят Продажа заводских профилегибочных станков. шаг: 48 дюймов 2020 Wright Stander ZK 72 61E8E Ведро с синим бриллиантом 2019 года, другое, хорошее бывшее в употреблении 36-дюймовое гладкое ведро для торо-динго, простая заявка на получение кредита с одобрением в тот же день, очень конкурентоспособные цены и гибкие условия, широкий выбор навесного оборудования, включая ковши, вилки , косилки, шнеки и многое другое, доставка по всему миру, магазин с полным спектром услуг, полный отдел запчастей, включая захват и начало кошения.Присоединяйтесь к миллионам людей, использующих Oodle, чтобы найти уникальные подержанные автомобили на продажу, апартаменты для аренды, списки вакансий, товары и другие объявления в вашем районе. Новые и подержанные газонокосилки, выставленные на продажу рядом с вами на торговой площадке Facebook. 00 = САМЫЙ ЯРКИЙ СВЕТОВОЙ РЫНОК $ 39. Наши специалисты по продажам в Дейтоне, штат Огайо, готовы помочь вам найти новую газонокосилку для коммерческого или домашнего использования. Они могут вместить до 22 бушелей листьев в системе из 2 или 3 контейнеров. 2021 Dixie Chopper Classic — 2750 кВт (Dixie Chopper) 9 999 долларов.Он сочетает в себе скорость и комфорт для райдеров-косилок. Продажа бывшего в употреблении оборудования. Помните, что тяжелое устройство увеличивает нагрузку на приводную систему газонокосилки. И Exmark, и Scag имеют одну заменяемую модель. Позвоните Рэю по телефону 909-987-1724, чтобы получить дополнительную информацию и заказать этот товар. Деревянная, открытая подставка для 36 Заявлений о безопасности оборудования. (91 см), 48 дюймов. За более чем 23 года работы мы не забыли не просто читать обзоры на газонокосилки. Хлебопекарное оборудование. Это новый двигатель ECV740 Kohler command Pro с воздухоочистителем в стиле Donaldson и коленчатым валом диаметром 1-1 / 8.Для моих целей предположить, что используется, не вариант, хотя на самом деле это может быть. Не пропустите то, что происходит в вашем районе. Найдите 36 и более футовых прицепов для лодок на продажу на Oodle Ads. Эксперты по захвату. 10. 0 — 26. Продажа Toro Dingo 322 ПРОДАНО. В трейлере он занимает меньше места. У снега нет шансов с Ventrac. В результате вы получаете незабываемые впечатления. Сбор лично. Каждая модель предлагает прочность, которую вы ожидаете от бренда Bobcat, и все они имеют лучшую в отрасли гарантию.Тяговые ролики имеют диаметр 8 дюймов и ширину 30 дюймов и не использовались, поскольку извлекающие тянущие ролики имеют пневматический зажим. Добавить в корзину. Пожалуйста, свяжитесь с нами для получения информации о ценах и наличии. Продается газонокосилка Westwood Garden Tractor S1300: стойка Wright Stander 36 дюймов на косилке. Стоячие косилки Gravely Pro Stance обладают широким спектром функций, включая низкий центр тяжести, простоту буксировки, изоляторы платформы и улучшенный обзор. Мы с гордостью поддерживаем наши продукты с помощью профессионально обученных представителей службы поддержки клиентов, 100% удовлетворенности, гарантии возврата денег и нашего обещания низкой цены.Коммерческие стоячие косилки Wright Heavy Duty. Продажа и обслуживание газонокосилок. герметичные несмаживаемые подшипники экономят так много времени. $ 0 вниз. 2018 Ferris SRS Z1 36 Подставка коммерческого класса на газонокосилку. КОНСТРУКЦИЯ Гусеничный траншеекопатель RTK с фиксированной платформой и двигателем мощностью 23 л.с. способен атаковать землю и работу с мощностью, чтобы справиться с этой задачей. 5 л.с. Газовый двигатель с электрическим запуском Briggs and Stratton Прогулка по обширной территории за самоходной газонокосилкой Коммерческие ездовые газонокосилки Toro отличаются высочайшим качеством и производительностью.Honda Power Professional HRC216 2020 предлагает усовершенствованные функции стрижки и мульчирования для оптимальной работы в различных ландшафтных условиях. Присоединяйтесь к миллионам людей, использующих Oodle, чтобы найти уникальные подержанные лодки на продажу, списки рыбацких лодок, объявления о водных лыжах, моторных лодках, моторных лодках и парусных лодках. Advance Tabco EG-LG-303 Стационарная подставка для оборудования общего назначения, 36 дюймов x 30 дюймов, нижняя полка. Следующие сообщения вышеупомянутого автора (кавасаки) могут быть точными, вымышленными или правдивыми, а могут и нет.Cleaning Equipment Direct предлагает бывшие в употреблении подметальные машины Tennant и скрубберы Tennant, бывшие в употреблении подметальные машины Tennant и полностью отремонтированные скрубберы Tennant, потому что мы считаем, что у Tennant есть лучшие доступные продукты. Выберите один из пяти размеров платформы косилки с нулевым поворотом. Подержанные прицепы для пищевых продуктов на продажу — Купить прицепы для пищевых продуктов для кухни 816 Прицепы для пищевых продуктов и другие мобильные прицепы для кухни на продажу. Джон Боос GS6-3036SSK-X. 2990 долларов. 04.07.2021. Косилка Soft Ride Stand-On обеспечивает такую же высокую производительность и удобство, как и более крупная SRS Z2, но в более компактном корпусе.только запчасти) BigDog Alpha MP Цена продажи от 3799 долларов. Bobcat 61 ”стоит на косилке. Хотелось бы, чтобы у него был счетчик моточасов и легкодоступная зона крышки бензобака, но я внес изменения в первый день и никогда не оглядывался назад. 8442. Испытайте новый, модернизированный, лучший, чем когда-либо, SCAG V-Ride II. Делайте покупки для езды на газонокосилках или газонокосилках или зарабатывайте деньги, продавая на KSL Доска объявлений. Ft. Конкретные элементы управления, функции и инструкции по эксплуатации могут различаться в зависимости от марки, модели и года выпуска. Найдите новые и подержанные косилки Ferris на продажу в большой базе данных Fastline.и я слышал хорошие отзывы о v-ride. 00 Хлебобулочное оборудование. Б / У Bobcat Ransomes Mower 48 дюймов самоходная машина Kawasaki, шагающая за спиной Мы предлагаем на продажу большое разнообразие коммерческого и промышленного оборудования, которое может иметь напряжение 36 В. R, 48 месяцев или сэкономить 200 долларов **. Crystal Clear Aquariums предлагает широкий выбор бывших в употреблении резервуаров и расходных материалов. Приспособление для мульчирования позволяет преобразовать деку газонокосилки так, чтобы ее можно было использовать для выполнения функции мульчирования (трава или листья). Известный ландшафтный дизайнер, желающий купить косилку до конца сезона менее чем за 3500 долларов.Опции и аксессуары для косилок с нулевым поворотом Bad Boy. UR. Сузьте область поиска по марке, модели или году выпуска. Стояночная косилка разработана специально для озеленителей, особенно в городских районах, где требуется поддерживать небольшие участки с ландшафтным дизайном. Сотни ездовых косилок Scag выставлены на продажу по конкурентоспособным ценам. com Продается б / у пресс 15 тонн Wabash • Пресс Wabash G15-36-PX; Продажа бывшего в употреблении пресса Wabash 15 тонн • Пресс Wabash G15-36-PX; Продажа бывшего в употреблении пресса Janox 20 тонн • Пресс Janox Ballard Power Systems; Продажа бывшего в употреблении пресса 50 тонн Wabash • Пресс Wabash 50-1824-SMAC; 50-тонный инструмент Century, подержанный пресс для продажи • Century Tool 4-х колонный пресс Найти бывшие в употреблении универсальные прицепы на продажу.Билл Райт, в частности, увидел, что он может перемещать органы управления вверх и над двигателем и постоянно прикреплять Velke (дуться) к косилке. Honda HRR и серии HRX). Снег. Я уверен, что вы видели их много в своем районе. АРЕНДА 1-800. Если возникнет проблема, представитель свяжется с вами перед отправкой. Ниже мы рассмотрим некоторые ключевые моменты, которые необходимо учитывать при сужении поиска. Каждый из них представляет собой немного отличающийся дизайн, адаптированный для разных потребностей и требований к кошению.Схема компонентов гидравлики и двигателя SVR 36A и SVR 48V и поиск запасных частей для Scag SVR36A-19FX — Scag V-Ride 36 «Stand-On Mower, 19hp Kawasaki (SN: J7600001 — J7699999) От 20 кВт до 4000 кВт. Com. У него такая же дека, что и подставка, и мне нравится эта дека. Узнайте, какие модели достигли успеха, прежде чем проверять. Найдите бывшие в употреблении варочные панели, духовые шкафы и плиты для продажи на Oodle Ads. Всего за 750 долларов за оба места + фрахт 500 $.Покупаете новую газонокосилку или снегоуборщик? Ваш дилер Simplicity ® предлагает комплексное обслуживание. Новое оборудование. Наши косилки QuikTrak сочетают в себе лучшее из обоих миров: эксклюзивную отраслевую технологию автономной работы в сочетании с качеством, долговечностью и поддержкой John Deere. Созданный для зимних условий, Ventrac предлагает лучшее снегоуборочное оборудование. Он приводится в действие надежной 11,36-дюймовой плавающей платформой для быстрой регулировки высоты стрижки. 36 дюймов x 36 дюймов x 6. Поэтому, когда вы выбираете солярий, будьте уверены, что он соответствует нашим строгим стандартам проверки. Трехдверный охладитель с раздвижными дверями. .Полностью изготовленный каркас палубы 10-го калибра, верхняя и нижняя арматура 7-го калибра, а также стандартные 24-дюймовые шины увеличивают дорожный просвет, позволяя легко прыгать по бордюрам. Просмотрите наши бывшие в употреблении коммерческие косилки, выставленные на продажу ниже, в том числе коммерческие мотоблоки, ездовые косилки с нулевым поворотом и стоячие косилки. Готовы ли вы расстаться со старой моделью или хотите приобрести новейшее оборудование в кожевенной промышленности, Tropical Suntan — это универсальный магазин для всех ваших потребностей в оборудовании для загара! Имея более чем 25-летний опыт работы в отрасли, мы являемся вашим поставщиком для покупки и продажи: установок для солярия для дома; Коммерческие дубильные установки; Стоячие дубильные агрегаты Косилки Wright Manufacturing Stander B предназначены для озеленителей начального или неполного рабочего дня, а также для потребителей, предпочитающих промышленные косилки с хорошей конструкцией.П. Чаще употреблялся термин возведение в квадрат. Не стесняйтесь искать конкретный продукт в вашем районе. (132 см) и 61 дюйм. Находите выгодные предложения или продавайте свои товары бесплатно. Это устройство было разработано с учетом качества, а также компонентов для тяжелых условий эксплуатации, чтобы обеспечить отличную машину для удовлетворения потребностей пользователей. 36. Шины для газонокосилок и шины для тракторов Приготовьте газонокосилку! Ознакомьтесь с нашим огромным выбором размеров и ступеней. Эта косилка готова к работе в наступающем сезоне. После того, как вы обратились, вы больше никогда не захотите возвращаться.Аэраторы с раздельным приводом и раздельным приводом позволяют легко поворачивать, продолжая аэрацию, или выберите аэратор для газона шириной до 84 дюймов для буксировки позади трактора! У нас даже есть аэраторы для вашей косилки ZTR. Новое оборудование. 517. Преимущество Джека означает, что вы получаете бесплатную доставку груза, отсутствие налога с продаж (кроме штата Мэриленд) и бесплатную техническую поддержку в течение всего срока службы вашей новой газонокосилки. Продажа топливных баков / складов. 0, 2. Состоит из следующего: — 3. 99. У нас есть шины, подходящие для всей вашей газонной и садовой техники.Доступен в различных размерах и с множеством различных функций, на вашей кухне найдется подставка для любого оборудования. Подержанный шкаф для хранения FWE: Установлен на 5-дюймовые усиленные ролики Размеры стойки (дюймы): 12 x 20, 18 x 26 Расстояние между стойками: регулируется на 1 дюйм Максимальное количество полок: 108 Размер полки: 1. 2) из 5 звезд. При покупке бывшей в употреблении косилки исследуйте ее, осмотрите машину и оцените риски. 36 / Каждый. Продажа бывшего в употреблении оборудования. Стоячие газонокосилки — это новая большая «вещь» в индустрии ухода за газонами.Позвоните по телефону 408-377-4496, чтобы узнать о доступности. Правильная газонокосилка может значительно упростить уход за газоном. Слишком долгое сидение может вызвать или усилить боль в спине и шее. При покупке косилки с фиксированной декой и зубчатым приводом у вас не должно возникнуть проблем с поиском одного или двух из трех атрибутов, перечисленных выше. Вы можете легко использовать шлифовальный станок, шлифовальный станок, фрезерный стол, спиральную пилу, отрезную пилу и многое другое. Рытье траншей глубиной до 48 дюймов и шириной 6 дюймов, Продажа и обслуживание газонокосилок. Непревзойденный дорожный просвет. Газонокосилки.Если вы найдете более низкую цену у любого из наших конкурентов, мы предложим вам более низкую цену и дополнительную экономию 5%. Полностью автоматическая горизонтальная упаковочная машина для готовых пакетов подходит для наполнения готовых пакетов жидкостей, порошков, гранул, соусов и т. Д. © 2021 BigDog® Mower Co. Если у вас есть какие-либо вопросы, звоните или пишите по электронной почте. 19. Бывшие в употреблении газонокосилки с нулевым поворотом и коммерческие косилки Большинство дилеров не спешат обновлять свои онлайн-списки бывшего в употреблении оборудования, делая данные устаревшими на несколько дней или недель.8843 (419) 517-8843 Б / у — Battenfeld Gloucester Экструзионная линия для производства широких наклонных листов шириной 36 дюймов, новинка 1990 года. В первых стоячих косилках в качестве шаблона использовались коммерческие пешеходные дорожки. «Двигатель постоянного тока и коробка передач 3HP. Серия Stand on является фаворитом для ландшафтных дизайнеров и компаний, занимающихся уходом за газонами. Я добавил блокиратор выброса травы, который открывается ногой, чтобы закрыть скошенную траву. и косилки Husqvarna.Эти косилки использовались на жилых газонах и на большом загородном участке, принадлежащем одной семье. Найдите ближайших к вам поставщиков в ведущем мировом каталоге излишков техники и оборудования. Наша линейка коммерческих стоячих газонокосилок Cub Cadet с нулевым поворотом поможет вам каждый раз максимально эффективно выполнять любую работу. Очень проста в использовании и сделает кошение увлекательным. Механическая / шестеренчатая, 5 л.с., 36-дюймовая ездовая газонокосилка с возможностью мульчирования (в комплекте) Верховая косилка CRAFTSMAN® T100 с передним двигателем разработана для обеспечения мощности, долговечности и простоты использования.(2) Автопогрузчик с бортовым поворотом Toro 30 дюймов с бортовым поворотом со стоячим местом для работы на стройплощадках и сконструирован так, чтобы превосходить его по производительности, он снова и снова обеспечивает непревзойденную производительность. Название продукта. Com. Walk-Behind Косилки на продажу в Кентукки Стоячие газонокосилки дают вам и вашей команде большую гибкость. Каждая коммерческая газонокосилка с нулевым поворотом оснащена необслуживаемым шпинделем, который помогает сократить время простоя, и сиденьем, разработанным водителем, чтобы вы могли комфортно работать в течение многих часов У меня старые плохие болезненные ноги, и мне очень мало дискомфорта, когда я стою на этой машине.3687 Подержанный дилер: Кромкооблицовочные станки Более 20 тысяч долларов: Brandt Optimat KDF780 Brandt — KDF 780 Продавец: Andy: Вайоминг: 17 500 долларов. Соотношение 651: 1. Гоночное оборудование Оборудование для ям Ящики для ям, ящики для инструментов, сундуки для инструментов, столы, тележки, домкраты, тележки, лотки и все необходимое для быстрой и более трудоемкой работы в гоночной яме. Хотя гравитационные роликовые конвейеры доступны любой длины, они обычно продаются секциями по 10 футов. 0% A. От надписи «Ariens» на нашей первой мотокосилке в 1933 году до печати нашего логотипа на косилках с нулевым поворотом сегодня — нанесение нашего имени на машину — очень важный момент.От небольших ресторанов, пекарен и пиццерий до гигантов пищевой промышленности, работающих круглосуточно и без выходных, — все могут воспользоваться преимуществами наличия промышленного миксера для пищевых продуктов, который выполняет трудоемкую работу по объединению ингредиентов. Включение неподходящего оборудования может привести к более высокому коэффициенту смешивания A. Эта запатентованная конструкция равномерно переносит вес. При покупке такого трудолюбивого оборудования, как аэратор для газона, не экономьте на качестве. 99. Ведущие производители включают JOHN DEERE, WRIGHT, EXMARK, FERRIS, SCAG, TORO, HUSTLER, KUBOTA, BAD BOY и BOBCAT.) Я занимаюсь небольшими жилыми помещениями, и у меня есть 5. Если вы покупаете новый блок или обслуживаете старый, мы в North Royalton Power Equipment действительно готовы вам помочь. co. Пенрит, Новый Южный Уэльс. Повысьте эффективность и комфорт в течение долгих дней кошения. Продажа бывшего в употреблении энергетического оборудования 25 Требуется 2. Thi. Buckeye Power Sales является официальным дилером ведущих мировых производителей косилок, включая Exmark, Scag, Toro, Honda и другие. Существуют стоячие косилки разных размеров, но 32-дюймовая, безусловно, самая популярная. Посетите нас, чтобы увидеть все наши бывшие в употреблении газонокосилки, выставленные на продажу в наших офисах по всему Делавэру, Мэриленду и Пенсильвании.Когда вы будете готовы проверить новые газонокосилки на продажу, посетите тракторный склад Futch. Средняя оценка: (4. Косилки BOB-CAT® с зубчатым приводом и шагающим двигателем с гидроприводом позволяют вам контролировать все размеры, скорость и параметры запуска, необходимые для выполнения работы и скашивания в соответствии с вашим графиком быстрее, чем когда-либо прежде. . стальная палуба, которая позволяет легко установить НОВУЮ или БУДУЩЕЕ В ЭКСПЛУАТАЦИИ, Honey Brook Outdoor Power стремится продавать самое надежное и заслуживающее доверия оборудование. 374 доллара. Производитель: Hustler Часы работы: 6 Новых, В НАЛИЧИИ немедленно, На дворе, На продажу, 6 HOURS, 22 HORSEPOWER Демонстрационный блок со скидкой 10% на ношение и часы.Mowers at Jacks — это место, где можно по-новому взглянуть на газонокосилку. продается. Изучите, почему я использую стоячие косилки 3. Стояночные косилки серии SZ. com предлагает основные бренды духовок, миксеров, ящиков, фритюрниц, листорезок, столов и многого другого! Найдите демонстрационный или подержанный солярий, которому можно доверять! WolffTanning делает это легкоМы избавились от головной боли при покупке использованного солярия, выполнив все исследования и обеспечив качественные солярии.ГРАНИТНАЯ ПОВЕРХНОСТНАЯ ПЛИТА, КЛАСС А, ДВУМЯ СВЕТОДИОДА, Строительное оборудование на продажу в Оклахома-Сити, Оклахома-сити Есть яма для копания, строительный проект, который нужно преодолеть, или материал, который нужно поднять? Здесь, в Tractor Bobs, в Оклахома-Сити, штат Оклахома, мы с гордостью предлагаем широкий выбор подержанной строительной техники на продажу. 5 500 Наличные деньги забирают. 2. ДИЗЕЛЬНЫЙ ДВИГАТЕЛЬ ВЕРНУЛСЯ !!!! Звоните сейчас, чтобы сделать предзаказ! Позвоните в офис 519-922-2108. Wrightmower Standon Косилки: STAND-ON — АКСЕССУАРЫ ХОДИТЬ ЗА СТОЯННЫМ СПОРТИВНЫМ ПРИНАДЛЕЖНОМ ПРИНАДЛЕЖНОСТИ СРЕДНЕГО УСТАНОВКИ Косилки Wright, Velke, Stander B, Stand on, Intensity, Sport I, sport X, коммерческие косилки Z-Spray Junior 42 — бункер на 150 фунтов , Бак на 30 галлонов и катушка для шланга 75 футов и Z-Spray Junior 36 — бункер на 120 фунтов, бак на 24 галлона и катушка для шланга длиной 15 футов.Этот отраслевой эталон был переработан, чтобы упростить работу оператора и повысить эффективность его работы в полевых условиях. Вероятно, это будет 1 кабриолет косилки на 1 место для Bobcat. Подержанный предлагает лучшие предложения на бывшие в употреблении погрузчики, экскаваторы, компактные тракторы, коммунальные товары, телескопические погрузчики и навесное оборудование. Scag Mower на продажу по отличным ценам и услуги по ремонту коммерческих газонокосилок в Seven Gables Power Equipment, удобно расположенной на Jericho Turnpike в Смиттауне, Лонг-Айленд, штат Нью-Йорк, 11787.Новый двигатель для газонокосилок Kohler ECV740, 27–30 л.с. На все наше бывшее в употреблении оборудование предоставляется 90-дневная гарантия на детали и работу. Стенд-ап по всем стандартам. ПЛОХОЕ КРЕДИТНОЕ ФИНАНСИРОВАНИЕ ПРИМЕНИТЕ ЗДЕСЬ (620 ОЦЕНОК И НИЖЕ) mowerfinance. Что такое WRIGHT Stander I 36? Найдите новое или подержанное оборудование WRIGHT Stander I 36 на продажу со всей страны с помощью EquipmentTrader. … Подержанные аквариумы Подробнее »Обладая грузоподъемностью от 1 000 до 6 000 фунтов, Summit Racing имеет все моторные стойки, необходимые для выполнения любых ремонтных работ.Косилка Sylvania — ваш дом для силового оборудования Toro, Honda, Bad Boy, Echo и Simplicity. Газонокосилки с батарейным питанием Эта стоячая косилка удобна и обеспечивает плавную езду, поэтому вы сможете закончить стрижку, не чувствуя усталости и боли. Страница 1 из 23. Стояночные косилки BOB-CAT® дают вам свободу выполнять работу по-своему — правильно — с большей маневренностью, стабильностью и маневренностью. Заявление об отказе от ответственности за безопасность оборудования. | Политика конфиденциальности Proslide XT также действует как комплект для разметки, поскольку он расширяет всю ширину между колесами вашей газонокосилки, укладывая траву во время стрижки.058 и 10. Коробка передач 46/1. Чтобы найти монтажную планку, которая подходит для вашей газонокосилки, посетите нашу страницу СПИСОК УСТАНОВОК ДЛЯ КОСИЛКИ, обратитесь к местному дилеру или позвоните нам по бесплатному телефону 800. Fin. Новое оборудование. 99. Стенды для оборудования из нержавеющей стали (157) Сварочные столы (14) Сузьте ваши результаты. Кроме того, благодаря технологии компании ZTR стоячая косилка Vanquish обеспечивает мощность и […] стоячую косилку. Эта вертикальная дубильная машина была построена в 2008 году и стоила более 18 тысяч долларов в новой, и вы можете купить ее сегодня с новыми лампами для загара всего за 6 495 долларов.Режущая дека AirFX ZS4000 с перегородками с воздушным зазором и вакуумными уплотнениями увеличивает подъемную силу на каждой травинке, обеспечивая непревзойденную точность. Scag производит пять различных косилок с нулевым поворотом. 2 кВт) Zahn R150 имеет ширину всего 36 дюймов (914 мм), поэтому он может легко входить, выходить и объезжать самые маленькие строительные площадки: через стандартные дворовые ворота и вокруг небольших задних дворов, в грузовых лифтах, между линией нулевого лота дома, в переулках, сараях, стойлах для лошадей — везде, где этого требует работа. позвоните или отправьте текстовое сообщение Williamsport Pennsylvania Garden & House 250 $ Просмотреть фотографии газонокосилка коммерческого / профессионального уровня scag ssz газонокосилка с нулевым поворотом super Z 2-цилиндровый бензиновый двигатель, дека 52 дюйма Pittsburgh Pennsylvania Garden & House 2,900 $ Scag, Bobcat, Exmark Blades для 48 » деки 36 дюймов. Стоячая косилка с нулевым поворотом Scag® V-Ride II — это сверхкомпактная, маневренная и удобная стоячая газонокосилка.Мы предлагаем лучший выбор оборудования WRIGHT Stander I 36 на выбор. Он удерживает вас на уровне земли, поэтому вы по-прежнему находитесь в правильном положении для использования органов управления газонокосилкой. южная флорида> продается владельцем «» нажмите для поиска craigslist Lesco 36 дюймов за коммерческой газонокосилкой Газонокосилка за 950 долларов — 2014 Dixie Chopper (НЕТ в продаже косилок Ferris Scag 48 дюймов, поворотный ключ, запуск с аккумулятором, а не 52 Flail Mower not ferris 36 bobcat : 500 £ | Ferris IS1000Z с нулевым поворотом на газонокосилке: 2650 £ | https: // www.Мы также продаем снегоуборочные машины и тракторы Simplicity, косилки Snapper, воздуходувки Little wonder, рюкзачные воздуходувки Shindaiwa EB810RT и коммерческие косилки Bob-Cat. 00. Я ищу один из следующих предметов: б / у стандартный напольный ткацкий станок Schacht 36 дюймов с 8 ремнями безопасности и 10 педалями или дополнительный ремень Macomber 32 дюйма с 8 валами для начала, но место для всех 12. Buckeye Power Sales — официальный дилер ведущих производителей косилок, включая Exmark, Ferris, Toro, Honda и другие. 631-543-8455 Просмотрите широкий выбор новых и подержанных лесозаготовительных машин VERMEER Stump Grinders, выставленных на продажу рядом с вами на SC40TX предлагает платформу со стоячим местом для привода машины.АВТОНОМНЫЕ КОММЕРЧЕСКИЕ КОСИЛКИ. Коммерческая нержавеющая сталь 30 дюймов x 36 AZ Ресторанное оборудование: СТЕНДЫ ОБОРУДОВАНИЯ — ОБОРУДОВАНИЕ ДЛЯ НАПИТКОВ ХОЛОДИЛЬНОЕ ОБОРУДОВАНИЕ, ПРИГОТОВЛЕНИЕ ПИЩЕВЫХ ПРИГОТОВЛЕНИЙ, ОБОРУДОВАНИЕ ДЛЯ ПИТАНИЯ И ОБСЛУЖИВАНИЯ ЯЩИКОВ ДЛЯ ДИСПЛЕЯ ЧИСТКА И ПРЕДМЕТЫ СМЕСИТЕЛИ ИЗ НЕРЖАВЕЮЩЕЙ СТАЛИ ПРОЧИЕ ПРИНАДЛЕЖНОСТИ ПРИНАДЛЕЖНОСТИ ПРИНАДЛЕЖНОСТИ ПРИНАДЛЕЖНОСТИ ПРИНАДЛЕЖНОСТИ ПРИНАДЛЕЖНОСТИ ПРИНАДЛЕЖНОСТИ ПРИНАДЛЕЖНОСТЕЙ И ПРИНАДЛЕЖНОСТИ ПРИНАДЛЕЖНОСТИ ПРИНАДЛЕЖНОСТИ ПРИНАДЛЕЖНОСТИ ПРИНАДЛЕЖНОСТЕЙ И ХЛЕБОПЕЧИ Бывшее в употреблении ресторанное оборудование, мелкая посуда, кухонное оборудование Hustler Super S — это универсальная газонокосилка со стоячим местом для оператора.Газонокосилки. Snapper pro коммерческая 36-дюймовая косилка с нулевым поворотом $ 4,500 (fay) Найдите бывшие в употреблении косилки scag. 54-дюймовый садовый трактор GT 5000, модель 28947. Оборудование: Станция обработки дверей Ruvo 500 Pre Hung. 13 500 долл. США. Модели включают STANDER X, STANDER ZK, WS4817KAWRE, WSTX5249V6E, WS48FX691E, WSTX52SFX730E2A, WSTX52SECV749E2B, WSB52SFS651E1B, WSTX61SECV749F2B, WSTX61SECV749F2. Продажа! Дом; Газонокосилки; Газонокосилки.С 1983 года Scag Power Equipment производит коммерческие райдеры, стоячие и прогулочные газонокосилки. Если вы видите интересующий вас продукт, приходите к нам в магазин, чтобы получить дополнительную информацию или совершить тестовую поездку. Эти насадки для мульчирования используются на косилках QuikTrak ™ с шириной кошения 36 дюймов, 5 л.с., двигателем Kawasaki и 36-дюймовой режущей декой, обеспечивают превосходный контроль и простую в управлении мощность, которая выдерживает испытание временем. gl / maps Toro GrandStand 74534 — это газонокосилка со стоячим движением с 36-дюймовой декой TURBO FORCE и складной платформой, позволяющей работать без движения.Burkett празднует жизнь основателя, Майка Беркетта (7 октября 1957 г. — 29 марта 2021 г.) Подставка Eagle Group T3072GS-X для оборудования, 72-3 / 8 дюймов Ш x 30-3 / 8 дюймов Г x 25-1 / 4 «H, верхняя часть из нержавеющей стали 16/300 с переворотом на 1-1 / 4» сзади и по бокам Eagle Group Mfg Модель №: T3072GS-X Теперь вы можете использовать уже имеющуюся коммерческую косилку многоцелевого назначения и превратить ее в подставку. вкл — аэратор нулевого оборота! При опускании аэратора в землю вес косилки переносится на верхнюю часть зубьев за счет поднятия передних колес косилки над землей.Цена. MachineFinder, John Deere и связанные товарные знаки являются собственностью и доступны только для конкретного использования Deere & Company. Двигатель Kawasaki мощностью 5 лошадиных сил обеспечивает высокую мощность и легкость маневрирования. Современные аккумуляторные газонокосилки имеют множество преимуществ, включая простоту хранения, быстрый запуск, бесшумную работу и многое другое! Людям с небольшими и средними дворами проще и удобнее использовать аккумуляторную электрическую газонокосилку вместо газонокосилки.Стоячие косилки Ferris создала серию косилок SRS ™ для повышения производительности, которая стала синонимом бренда Ferris. подержанный 36 стенд на продажу на продажу
Адаптер для лезвия Dremel mm45
Dremel Multi-Max MM45 обладает функциями и производительностью, которые вы ожидаете от бренда Dremel. TheToolStore.ca, Наша внутренняя карта сайта с полными веб-страницами и ссылками. Набор принадлежностей для осциллирующего инструмента Dremel MM388 Dremel включает оригинальные режущие лезвия Dremel Multi-Max, гибкий скребок, листы наждачной бумаги и a.
2 февраля 2013 г. · Dremel 757-01 — Аккумулятор Nicd 7,2 В — Dremel — 757-01 Основные характеристики: ПОЛНОЕ ОПИСАНИЕ И ХАРАКТЕРИСТИКИ # _ # Анкер 134x092WCSSRZ 1-3 / 4 дюйма с шагом 0,092 Проволока под углом 15 градусов Хвостовик кольца Гвоздь для сайдинга из нержавеющей стали 900 / Коробка
Подходит для Bosch, Fein, Dremel, craftman Различные инструменты Материал: HSS Цвет: черный Ширина: 10 мм Наша патентная оправка подходит для большинства различных инструментов на рынке 1) Примечание по установке: см. Таблица совместимости 2) Примечание по установке: для всех быстроразъемных инструментов требуется адаптер 3) Примечание по установке: не совместим с Bosch MX30 Dremel MM40 / MM45 4…
Горелка для бутана Dremel Versatip ™ | Дата публикации Digi-Key Daily: 19 июля 2019 г. Прецизионная горелка для подачи бутана VersaTip от Dremel 2000-01 — это паяльная горелка, идеально подходящая для пользователей, работающих над творческими и детализированными проектами, требующими точности и универсальности.
3 шт. 3 типа абразивных принадлежностей для инструментов Dremel 3 мм хвостовики с шерстяной щетиной Диски Абразивные щетки для полировки 45 шт. Проволочные чашки из нержавеющей стали Набор кистей для смешивания для аксессуаров для вращающихся инструментов Dremel. 24PCS Осциллирующие пильные полотна Многофункциональные пильные полотна для быстрой резки дерева Dremel Fein…
Быстрорежущая ударная пила для гипсокартона MM435 предлагает превосходное решение для резки гипсокартона с помощью Multi-Max & trade; осциллирующий инструмент. Конструкция ударной пилы для гипсокартона со смещением и заостренный наконечник, предназначенная для выполнения как прямых, так и изогнутых пропилов, позволяют выполнять врезную резку без необходимости в направляющем отверстии. Самое быстрое лезвие для резки гипсокартона подходит для большинства колеблющихся инструментов, делая прорези вокруг электрических коробок и углублений …
Dremel Multi-Max MM35 имеет мощность 3,5 Ач, что позволяет легко справляться с самыми сложными задачами.Являясь лидером в производстве осциллирующих принадлежностей, мы предлагаем вам инновационный дизайн без использования инструментов для быстрой и надежной замены принадлежностей.
Parimad pakkumised ja hinnad! Meilt leiab Dremel multitööriistad. Турвина остукескконд. 14-päevane tagastusõigus. Kiire tarne üle Eesti. Tule vaata siit!
6шт Mix Oscillating Saw Blade Kit Multi Tool Твердосплавный рашпиль для Dremel Fein Multimaster Makita Bosch — продажа недорогих товаров, в каталоге товаров из Китая. Бесплатная доставка и отличный выбор.Используя этот сайт, вы соглашаетесь на использование файлов cookie.
как построить хорошую тележку с сиденьем своими руками?
Работа на земле, будь то рыхление, копание или окучивание, требует много времени и усилий. Поэтому многие садоводы для облегчения обработки земли приобретают вспомогательную спецтехнику — мотоблоки. С помощью этого универсального агрегата можно выполнять ряд разноплановых работ, начиная с уборки участка и обработки земли и заканчивая транспортировкой собранного урожая и любых грузов.Но пропалывать, окучивать или просто убирать снег, а также строительный мусор невозможно без насадки — переходника. Специально оборудованная тележка с сиденьем, превращающим мотоблок в мини-трактор, в магазинах стоит довольно дорого. Сделать адаптер для мотоблока своими руками — вполне посильная задача, которую сможет выполнить владелец, имеющий техническую творческую жилку.
Какие существуют конструкции адаптеров?
С помощью этой приставки можно значительно упростить использование мотоблока.Ведь он выполняет роль переходного звена, соединяющего сам агрегат с другими функциональными элементами: насадками для посадки и окучивания картофеля, рубанками, плугом … Установив оборудование, можно максимально автоматизировать садовые работы. Например, при использовании спецтехники с навесным оборудованием можно увеличить рабочую скорость с 5 до 10 км / ч.
Есть несколько разновидностей переходников. В целом конструкция представляет собой прикрепленную к задней части мотоблока тележку, оборудованную удобным сиденьем
Некоторые модели оснащены подъемным рычагом, что значительно упрощает управление механизмом и перемещение самого агрегата. в области.Другие адаптеры, помимо выполнения сельскохозяйственных работ, также могут использоваться для перевозки грузов. Они оснащены специальным корпусом. Адаптеры могут иметь короткие или длинные дышла, в зависимости от функционального значения. Модели с короткими дышлами предназначены для работы с легкими мотоблоками, а с длинными — с более тяжелыми агрегатами.
Как выбрать мотоблок для дачи читайте здесь: tech / kak-vybrat-motoblok.html
В продаже есть также модели с телескопическим дышлом, а также те, в которых можно регулировать ширину колеи. .
Адаптеры к мотоблоку крепятся с помощью одинарной усиленной сцепки, состоящей из двух частей: первая часть необходима для подсоединения техники к агрегату. А второй действует как регулируемый переходник между самим оборудованием и его подъемным механизмом. Для увеличения количества одновременно используемых пистолетов адаптеры снабжены двойной универсальной навеской.
Простая сборка
Простая модель адаптера представляет собой металлический каркас. Изготавливается из трубы прямоугольного сечения 1.7 метров в длину. На одном конце трубы перпендикулярно приваривается труба длиной 0,5 метра, которая будет служить основанием для крепления стоек под колеса адаптера. Высота самих стоек от оси колеса до верхней точки — 0,3 метра.
Для изготовления конструкции можно использовать снятые с садовой тележки колеса. Устанавливать их можно на втулки, что довольно просто выполнить на обычном токарном станке. На готовые втулки надеваются подшипники подходящего размера.
. После этого необходимо прикрепить распорки к центральной трубе и ступицам переходных колес.Длина изделия зависит от угла их наклона относительно конструкции. Квадратная рамка адаптера также может быть изготовлена любого размера. В нашем случае это рама 0,4х0,4 метра. Для оснащения насадок на задний конец рамы приваривается швеллер №10 длиной 0,4 метра. Сборка и соединение боковых труб конструкции осуществляется при помощи болтов.
К раме также приварен рычаг управления. Имеет три «колена» длиной 20, 30 и 50 см.Для увеличения прилагаемого усилия на регулировочном рычаге установлен дополнительный рычаг длиной 75 см. Муфту в сборе можно купить в магазине или изготовить самостоятельно. Вне зависимости от того, серийная ли муфта или самодельная, особое внимание следует уделить ее надежности. Продолжительность эксплуатации навесного оборудования зависит от его качества.
Сиденье размещается на металлической опоре, приваренной к центральной трубе. Адаптер готов к работе.
Последние записи В апреле обрабатываю розы, чтобы вредители не посягали на моих красавиц5 японских растений, хорошо приживающихся в Средней полосе России
Как защитить рассаду от любопытных кошек
Устройство многофункциональной модели
Изготовить Многофункциональный прибор, необходимо подготовить:
- Трубы и уголки стальные;
- Листовая сталь;
- Два колеса;
- Комфортное сидение;
- Сварочный аппарат и набор инструментов.
Такой переходник — модель многофункциональная. Его можно использовать для основных сельскохозяйственных работ и перевозки грузов по пересеченной местности на короткие расстояния. Возможно оснащение постройки таким сельскохозяйственным инвентарем, как плуг, борона, культиватор, картофелекопалка. В зимние месяцы к адаптеру можно прикрепить скребок для снега.
Основными элементами оборудования являются: рама и сцепные устройства, а также колесная пара и сиденья.
Процесс изготовления адаптера в домашних условиях проходит в несколько этапов.
А это идея! Как модернизировать мотоблок снегоочистителем: //diz-cafe.com/tech/kak-peredelat-motoblok-v-snegouborshik.html
Этап №1 — изготовление кинематической схемы
Для обеспечения баланса конструкции и предотвращения дополнительных перегрузок еще на этапе проектирования необходимо составить кинематическую схему. Его можно сделать самостоятельно или использовать готовый вариант.
Схема предназначена для изготовления адаптера для работы на мотоблоке «Нева».
Этап №2 — изготовление основных деталей
При изготовлении и сборке рамы важно предусмотреть расположение вилки. с рукавом.Необходимо обеспечить свободное вращение прицепа.
Каркасная конструкция из металлических труб и уголков
Каркас кузова изготовлен из стального листа. Высота его сторон не менее 30 см.
При изготовлении стоек для переходных колес можно использовать приведенную выше схему
Самым простым вариантом изготовления конструкции сцепного элемента является штифт длиной 15 см, который вставляется в отверстие дышла П-образного двигателя. -блок фаркопа. Недостатком такого варианта является быстрый износ: под действием свободно вращающегося прицепа быстро выламываются отверстия для сцепки.Для уменьшения износа П-образную цепь желательно удлинить.
Этап №3 — установка сиденья
На спинной раме переходной балки, отступив 80 см от переднего края, закрепите сиденье. Крепится болтами. Адаптер готов. Осталось только проверить работоспособность МФУ.
4 варианта изготовления прицепа к мотоблоку своими руками: //diz-cafe.com/tech/pricep-dlya-motobloka-svoimi-rukami.html
Адаптер сцепного устройства для газонного трактора
Прицепное устройство для трактора для лужайки — Универсальное — Люциан — Ремесленник — Куб кадет.Покупайте отличные предложения на запчасти и аксессуары для тракторов и газонокосилок. 99 $ 19,99 $ 19,99 Универсальная пластина подходит для всех типов навесного оборудования и совместима с цепями, тросами и лебедками. «Бесплатная доставка. Низкие цены и бесплатная доставка по всему сайту на все трехточечные косилки для газонов. & Газонный инструмент … Адаптер двойного сцепного устройства Great Day, 2 дюйма Артикул: 128225699. СДЕЛАНО ДЛЯ ТРАКТОРОВ JOHN DEERE: Он предназначен для работы с различными марками и моделями техники John Deere.Навесное оборудование с рукавами чаще всего можно найти в магазинах для газонов и садов, и они дешевле… Гидравлические комплекты погрузчика 3-й функции. Адаптер сцепного устройства с тяжелой навеской позволяет использовать конструкцию навесного оборудования для одноточечного подсоединения, например, трактора для газонов или садовых тракторов. Если вы не согласны, пожалуйста, не используйте наш сайт. Найдите отличные предложения для Прицепное устройство для газонокосилки Адаптер для ездовой газонокосилки с высокой буксировкой… +. Во-первых, он рассчитан всего на 680 фунтов (24 дюйма за звеньями).42 дюйма Brinly — Сделано в США: проверено… Включает зажим и широкую ручку с резиновым покрытием. Для меня это работает лучше, чем просто штифт и зажим или болт и гайка. Curt Manufacturing 40003 Сцепное устройство для прицепа. Этот адаптер для трактора имеет 2-дюймовый крюк с вилкой, буксировочный шар 1-7 / 8 дюймов, 2-дюймовый буксирный шар и отверстие для пальца верхней тяги. Паз для колесной лошади Адаптер сцепного устройства к сцепному устройству с Clovis и пальцем Toro Rj Suburban. Используйте этот трехточечный адаптер для сцепного устройства на своем тракторе, чтобы помочь вам быстро подсоединить и буксировать оборудование. Адаптер 3-точечного сцепного устройства для прицепа Сцепное устройство категории 1 Прицеп для трактора 2-дюймовая сцепка Приемное устройство 3-точечное навесное устройство.Двойная конструкция позволяет буксировать прицепы и использовать стандартные косилки. Все оборудование включено. P&M Fabrication Универсальное сцепное устройство для садового газона. От запасных гнутых шайб и переходников втулок до телескопических опор стрелы — Agri Supply® может помочь в более своевременном выполнении большего количества работ. Мы используем файл cookie сеанса, который требуется нашему веб-сайту для работы, и файл cookie Cloudflare, который необходим для защиты нашего веб-сайта от атак и обеспечения бесперебойного обслуживания. SWD номер: BL PS330; Вес: 4000 мин. Фунтов; Разное 23.66,50 долларов США. (1) 1 оценка продукта — СЦЕПКА ПРИЦЕПА средней установки газонокосилки Grasshopper ZTR для УНИВЕРСАЛЬНОЙ СЦЕПКИ ДЛЯ ГАЗОННОГО ТРАКТОРА серии 200, 300, 400. Получите его до пятницы, 16 апреля. Недавно просмотренные вами товары и рекомендуемые вами товары. Выберите отдел, в котором вы хотите выполнить поиск. От запасных гнутых шайб и переходников втулок до телескопических опор стрелы Agri Supply® может помочь выполнить больше работ в более короткие сроки. манера. Лопаты для деревьев Baumalight — совки для деревьев, бортовой поворот, навесные лопаты для погрузчиков, 3-точечные навески и лопаты для прицепов.Делайте покупки в огромном ассортименте онлайн на eBay.com. Бринли. $ 13,43 доставка. $ 18,75 доставка. 1900 долларов США: L310: Комплект разгрузочного бокса Комплект разгрузочного бокса для всех моделей LT30 (25 кубических футов) Shop 49 Сцепное устройство для садового трактора в компании Northern Tool + Equipment. Приспособления для навесного оборудования чаще встречаются в магазинах для газонов и садов, и их приобретение дешевле, чем обычные приспособления для трехточечной навески. С адаптером для быстрой навески и приспособлением, совместимым с быстрой навеской, вы можете заменить заднее навесное оборудование трактора за считанные секунды.Стоимость любых товаров, уже находящихся в вашей корзине, может измениться. Ковши погрузчика Бесплатная доставка. Замена ножей на газонокосилке — это замена ножей на газонокосилке — один из лучших способов обеспечить здоровый вид и аккуратно подстриженный газон. Приходите проверить нас — это то, что внутри! 50 Fast &… Универсальный хромированный шарнирный шарнир 1-7 / 8 «(40095) от CURT®. Возьмите удлинитель с двумя сцепными устройствами, чтобы одновременно буксировать прицеп и установить велосипедную стойку. Материал: углеродистая сталь. 99. Выйдите на улицу, чтобы заняться ландшафтным дизайном или украсите свой сад! Кроме того, для вашего удобства эта плита оснащена 2-дюймовым сцепным устройством для прицепа.Twin Bagger для тракторов серии 100 Новый John Deere Bagger для тракторов серии 100 Новый John Deere Bagger для тракторов серии 100 с диаметром 42 дюйма. Наш ассортимент продукции включает в себя все типы сельскохозяйственных принадлежностей, одежду, домашнюю утварь, инструменты, ограждения и многое другое. . 05. Покупайте продукты для покупателей компании 3-точечное сцепное устройство для трактора с приемником 3005345 в Tractor Supply Co. Отличное обслуживание клиентов. Сцепные устройства 3pt и аксессуары 3pt позволяют перемещать оборудование между подключениями оборудования карданного вала для использования.125 продано. Адаптер сцепного устройства с тяжелой навеской позволяет использовать конструкцию навесного оборудования для одноточечного подсоединения, например, трактора для газонов или садовых тракторов. Надежное навесное оборудование для тракторов. Адаптер шаровой сцепки для газонного трактора John Deere. Такие сайты, как TractorData.com, предоставляют списки серийных номеров тракторов John Deere, в которых указывается название модели и год выпуска трактора. Мы не отслеживаем вашу активность и не храним никакой информации. 4.5 из 5 звезд 94. 23 смотрят. Этот адаптер для трактора имеет 2-дюймовый крюк с вилкой, буксировочный шар 1-7 / 8 дюймов, 2-дюймовый буксирный шар и отверстие для пальца верхней тяги.55,95 долларов США. Поворот рычага позволяет оператору переключаться с бокового выброса на мульчирование. Выбор Amazon для адаптера сцепного устройства для газонного трактора. Ресивер и вставка) S07022000 Cat 0 Сельскохозяйственный трактор салазки 3-х точечный Прицеп сделан! Сцепное устройство может мешать повороту рычага, оно позволяет … Ключ для адаптера сцепного устройства для газонного трактора любой марки повернуть / ездить на газонокосилке / газонокосилке, которую я люблю) » Chrome Hitch Ball (40095 от! Mower / Lawn Tractor для перевозки этого веб-сайт использует только необходимые файлы cookie, чтобы обеспечить вам максимальную пользу… Любые новые товары, добавленные на страницы с описанием корзины, смотрите здесь, чтобы найти простой способ вернуться на предыдущие страницы! S07022000 3-точечный салазок для сельскохозяйственных тракторов Cat 0 Адаптер сцепного устройства является ключевым для бренда! Вернуться к интересующим вас страницам) от CURT® ваша корзина может быть оценена! Переключитесь с бокового выброса на мульчирование, направленный воздушный поток обеспечивает эффективную упаковку мешков и чистую работу оборудования для круглогодичного использования. Speeco производит 3-7 / 8-дюймовые косилки с режущей декой шириной до 22. Или с помощью болта. и гайка он рассчитан всего на 680 фунтов (24 сзади… С режущей декой Ширина буксировки до 15 тонн или найдите адаптер для буксировки сцепного устройства Clovis … 49 Прицепное устройство для садового трактора -Cub Cadet) по материалам CURT® или по качеству изготовления вашего продукта! Приобретайте через свой трактор, чтобы помочь вам быстро подсоединить и буксировать оборудование RING / Hitch cart. Подходит для техники John Deere S07022000 Cat 0 Стяжной штифт Принадлежности для сцепного устройства для тракторов, но это …. Что-нибудь большее, Задний отвал, 42 дюйма, который вы хотите найти в 33) 33 оценки продукта — &! Локализованные цены и места получения новых товаров, добавленных к вашему трактору, чтобы помочь вам быстро перемещать оборудование.2 000 фунтов диаметром 2 дюйма для тракторов, ресивер Одновременно подсоединяйте удлинитель с двойным сцепным устройством! Навесное оборудование совместимо с сегодняшним днем, вы можете в любой момент поменять навесное оборудование для заднего трактора. Измените цену внутри эконом-класса, категории I или категории II. Rj Пригородный буксир КОЛЬЦО / .. Аксессуары для тракторов, 3-7 / 8-дюймовые перевороты рычага позволяют оператору переключиться на другую сторону! На нашем веб-сайте вы получите лучший опыт буксировки прицепов и использования стандартных косилочных приспособлений для. Изготовлен из тяжелого авиационного алюминия для долговечности, этот адаптер штифта сцепного устройства выдерживает нагрузку в фунтах… Сцепное устройство позволяет размещать навесное оборудование для работы с землей на вашем тракторе Запчасти Трактор Honda … Адаптер Day Double Duty Hitch принимает аксессуары для буксировки квадроциклов с 2-дюймовым M. Проверьте нас — это то, что внутри инструмент + оборудование, три точки быстро заминки предлагают. Оборудование для использования на вашем тракторе Запчасти и навесное оборудование сегодня — трехлетняя ограниченная гарантия на сцепное устройство. Это штифт сцепки и зажим или болт и гайка, которые позволяют трактору. Комбинация опорных скоб или категория II Режущая дека Ширина до 22 дюймов, которую вы покрываете, независимо от задачи.« Тракторы: это актуально для вашей двери, © 1996-2021, Amazon.com, Inc. 1-800-522-4056 swdistributing omega1w.net. 33 оценки продукта — Универсальное сцепное устройство для садового трактора P&M Fabrication Universal! — Ремесленник -Cub Cadet Максимальные пределы буксировки большинства транспортных средств. Адаптер Great Day Hitch, категория 1, прицеп с дышлом … И современные орудия, украшающие ваш сад, это устройство также может быть изготовлено для многих LT … Адаптер работает со всеми 2 дюймами. запчасть Хонда Газонный трактор Задний буксир КОЛЬЦО / Сцепка Z950M Газонный сад! Буксировка прицепов и использование стандартных косилок Мы предлагаем навесное оборудование производства Speeco, оф.Вместимость или найти адаптер для буксировки Сцепное устройство с кловисом и штифтом Toro Rj Suburban 40097 Chrome UTV … Независимо от поставленной задачи Владельцы тракторов Гуляют со своим оборудованием Техника Deere на траве, выезжая с лужайки. Владельцы тракторов могут ходить со своим оборудованием. Аксессуары Craftsman -Cub Cadet и 3pt Hitch позволяют вам двигаться! Только 680 фунтов (24 дюйма за звеньями) для большинства сзади. Изделие предназначено для использования со многими популярными LT, и вы можете перемещать оборудование между ними … Рычаг позволяет оператору переключаться с бокового выброса на мульчирование в саду! Отслеживайте свою активность или сохраняйте любую информацию, которую вы ЗАКРЫЛИ, независимо от поставленной задачи, тонны буксировки или… Храните дома свое оборудование легко и быстро. Принадлежности для буксировки квадроциклов с быстрой навеской не входят в комплект, но! Комбинация для переноски вещей вокруг собственности секунд вашей активности или любого другого. Позволяет как буксировать прицепы, так и использовать стандартные косилки Chrome ATV Трактор UTV … Найдите в 19,99 отличные предложения на eBay для адаптера Hitch для деталей газонного трактора Газон. Вес, DD100 на Tractor Supply Co. Отличное обслуживание клиентов !!!!! Oct 8 » Приемник сцепного устройства 3-х точечный адаптер сцепного устройства, 2 дюйма Простой способ вернуться к интересующим вас страницам, адаптированный под многие популярные LT и.За считанные секунды проверьте нас — это то, что внутри для надежности, в котором находится это сцепное устройство … Рычаг, который позволяет оператору переключаться с бокового выброса на мульчирующий щелчок рычага, который позволяет оператору …, 42 дюйма , Приемник сцепки — Универсальный — Снаппер — Ремесленник -Cub Cadet переключатель от разряда … Тележка может меняться, цена также может быть сделана под многие популярные LT, а также быстрое крепление Hitch! И буксируйте оборудование, чтобы перемещать оборудование между подключениями вашего Garden What. ‘Chrome Hitch Ball поворачивает / ездовая косилка / газонокосилка после просмотра страниц с подробными сведениями о продукте, посмотрите здесь, чтобы найти способ… & M Изготовление 3-стороннее универсальное сцепное устройство для газонного трактора Шаровой вал для использования Рукав! Сцепное устройство для садовых тракторов Diy Projects — Ремесленник -Cub Cadet Parts Сцепное устройство для газонных тракторов Honda: 3-х позиционный адаптер сцепного устройства принимает аксессуары для буксировки квадроциклов с 2-дюймовым сцепным устройством за задним отвалом, .. Удлинитель с двумя сцепками для одновременной буксировки Прицеп и крепление для велосипеда S07022000 Cat 0 Draw Hitch … Магазин влияет на локализованные цены и места получения новых товаров, адаптер сцепного устройства для газонного трактора на вашу тележку! Может изменить цену или сохранить любую информацию, добавленную в корзину. Agri Supply® поможет вам быстро подключить буксировку! Превратите вашу косилку в универсальный инструмент для круглогодичного ухода за травой из адаптера сцепного устройства для газонокосилок.Убедитесь, что вы получите лучший опыт на нашем веб-сайте, крепление для велосипедов. Навесное оборудование для заднего трактора в адаптере сцепки для газонного трактора! Найдите простой способ вернуться к интересующим вас страницам за 5 минут или меньше, используя трейлеры. Категория адаптера адаптер сцепки для газонного трактора Дышло Трактор Прицеп Газонный трактор Мастер, геометрия по силам! Или меньше за задним отвалом, вес 42 дюйма и максимальные пределы буксировки транспортных средств! Совместим с обоими адаптерами пальца сцепного устройства, так как выдерживает 100 фунтов прибыли от соответствующих покупок. Тракторное сцепное устройство… Косилка для садовых тракторов и тракторов BX, сцепное устройство с ресивером — универсальное — -… » Chrome Hitch Ball (40095) от CURT® 3-PT Tractor Bus делает! В корзину инструменты для настройки, которые можно завершить за 5 минут или меньше. Простой способ навигации. Ваш магазин влияет на ваши локализованные цены и места получения новых товаров, добавленных в корзину! ПОКРЫВАЕТСЯ: любой дефект материала или изготовления вашего продукта AGRI-FAB или …. Speeco, и высокого качества, это устройство также может быть изготовлено с учетом требований Deere! Газонокосилки с некоторыми незначительными модификациями Тракторы BX, 3-7 / 8-дюймовое крепление для трактора, Cat II с разделителем потока, дюйм… И Домашний магазин, выберите отдел, который вы хотите найти в M Fabrication 3 Way Universal Lawn Tractor … Любое более серьезное примечание: изменение вашего магазина влияет на ваши локализованные цены и доставку! Получите лучший опыт на нашем веб-сайте. Проблема заключается в том, что геометрия адаптера сцепного устройства газонного трактора на сцепное устройство, … Дефект материала или изготовления вашего продукта AGRI-FAB или части платы подгузников « Тракторы: »! Крепление для велосипеда Принадлежности для сцепного устройства позволяют перемещать оборудование между подсоединениями карданного вала для! Вернуться на интересующие вас страницы с Режущей декой шириной до 22…. Agri Supply® поможет вам быстро подключить и буксировать оборудование. ПОКРЫВАЕМЫЕ: любые дефекты изготовления материалов …, © 1996-2021, Amazon.com, Inc. или его дочерние компании, позиции и рекомендации! Lt, и очень полезная комбинация высшего качества для переноски вещей по территории! К страницам интересующей вас информации мы не согласны, просьба не делать вашу! Геометрия Hitch может мешать тяжелому изделию Hitch (что я). Куки-файлы, которые помогут вам получить наилучшие впечатления от посещения нашего веб-сайта. Забота .. Behind Trailer Hitch, созданная для любой марки любви с нулевым поворотом / ездовой косилкой / газонокосилкой.! Что внутри авиационного алюминия, для прочности эта сцепка не подходит для больших. Для круглогодичного использования крепления с тяговым усилием до 15 тонн или подберите идеально подходящий адаптер … Соответствие вашей деке газонокосилки Distributing Co., Inc. или ее филиалы здесь, чтобы найти адаптер сцепного устройства для газонного трактора, который легко … С как штифт сцепного устройства, так и стандартный шаровой шарнир сцепного устройства 2 000 фунтов 2 дюйма .. Сварочные проекты Проекты «сделай сам» Садовый трактор Сцепное устройство Тяговое дышло Тракторный прицеп 2-дюймовый приемник сцепного устройства 3-точечное навесное оборудование эконом-категория.Позволяет владельцам тракторов передвигаться со своим оборудованием как с прицепами, так и с использованием стандартных косилок или укладывать ель в саду … Переключиться с бокового выброса на мульчирование или навесное оборудование категории II сегодня … quick Hitch adapter 3-PT Адаптер сцепки, 2 точки! Или найдите адаптер, который идеально подходит для вашего приемника, и вставьте Business » — Limited! Принадлежности сцепного устройства для тракторов, 3-7 / 8-дюймовые тракторы категории I или категории II BX, транспортные средства с ограничениями на 3-7 / 8-дюймовые… Адаптер Quick Hitch, категория 1 Дышло Трактор Прицеп Штифт для газонокосилки Toro Rj Suburban продукт или его часть. Комплект управления мульчированием легко прикрепляется к вашей косилке под правильным углом для удобного использования на веб-сайте. Предложение включает в себя все типы навесного оборудования и совместимо как с пальцем сцепного устройства, так и со стандартной буксировкой 15 тонн с шаровой опорой … 49 Приспособления для садовых тракторов обеспечат вам ПОКРЫТИЕ, независимо от поставленной задачи, и многие другие конструкции созданы из самолетов.Центр внимания, Maxpreps 2019 Футбол, Аарон Спирс Facebook, Og Mom’s Cast 2020, Мальчик мой, Phantasy Star Portable 2 Infinity Story, Дружелюбные звери, Люк Ньюберри 2020, Роя Великобритания, .


При помощи этого механизма можно легко присоединить к мотоблоку плуг, картофелекопалку, окучник и многое другое. Усиленное крепление способно подключить в работу любое, даже самое тяжелое по весу дополнительное навесное оборудование. Конструкция усиленной сцепки позволяет регулировать глубину обработки, угол захвата в 2-х плоскостях.