Устройство улья: как сделать, чертежи, размеры, фото и видео
плюсы и минусы, чертежи, изготовление своими руками
Улей Дадана – удобная конструкция, которая используется для расширения пчелиной семьи и увеличения взятка. Она состоит из нескольких деталей, которые легко заменить на новые, что повышает срок службы улья. О том, что нужно для изготовления конструкции, и как правильно это сделать, вы узнаете во время ознакомления с этой статьёй.
Что собой представляет?
Улей был спроектирован Шарлем Даданом и усовершенствован швейцарским пчеловодом Блаттом. Другое название – улей Дадана-Блатта.
Представляет собой разборную конструкцию из нескольких частей. Характерными особенностями улья являются:
- Регуляция положения рамок. Их можно размещать параллельно задней, передней или боковой стенке. Это позволяет изменять конструкцию улья с учётом зимних холодов.
- Высота рамок. Они выше 30 см. К примеру, у ульев типа Рута высота составляет 25 см.
- Замена рамок.
Не требуется полностью изменять корпус улья. Достаточно заменить заполненные или испорченные рамки. - Удобство. В улье от 12 и более рамок можно подвешивать кормушку сбоку, поскольку конструкция позволяет это.
Плюсы и минусы
Достоинства улья Дадана:
- Простор. Можно разместить большую пчелиную семью. Также в период зимовки можно объединить 2 семьи в 1 улье. Но для этого их нужно разделить с помощью перегородок.
- Снижение роения. Это позволяет контролировать конструкция улья.
- Упрощение процедуры откачки. Мёд собирается в 1 месте, к которому легко подобраться.
- Долгосрочность. Улей будет служить более 25 лет.
- Доступность деталей. Их можно найти в продаже в любом магазине. Несложно изготовить самостоятельно.
Среди отрицательных моментов:
- Медленное развитие. С наступлением весны пчелиной семье требуется больше времени, чтобы набрать силу.
- Неудобство перемещения.
Из-за большого количества частей улей является громоздким и тяжело переносится. Поэтому не подходит для кочёвки.
Характеристики
Конструкция обладает несколькими типами характеристик.
Материал изготовления
Потребуются такие материалы:
- Древесина. Преимущественно из лиственных пород деревьев. Она должна быть хорошо просушена, без сучков и признаков гниения. Ель и сосна подойдут только если древесина просушивалась не менее 1 года.
- Фанера. Не стоит экономить на материале, иначе улей быстро станет непригодным. Фанера должна быть склеена с применением безвредного сырья, поэтому стоить будет дороже. Идеальный вариант, если в состав входит только натуральное дерево. Более дешевый вид – деревянная рамка, обклеенная фанерным листом и заполненная опилками. Допускается заполнение пенопластом.
- Пенополистирол. Ульи получаются тёплыми и лёгкими, но при этом служат гораздо меньше. То же самое касается конструкций из пенополиуретана.

- Клей. Подойдут ПВА или казеиновый.
Материалы, которые будут использованы при создании улья, должны быть хорошего качества, безвредны для насекомых и без запаха.
Виды изоляции
Может быть 2 вида:
- Одностеночная. Летний вариант, который подходит для южных регионов. Конструкция более лёгкая, но при этом меньше удерживает тепло.
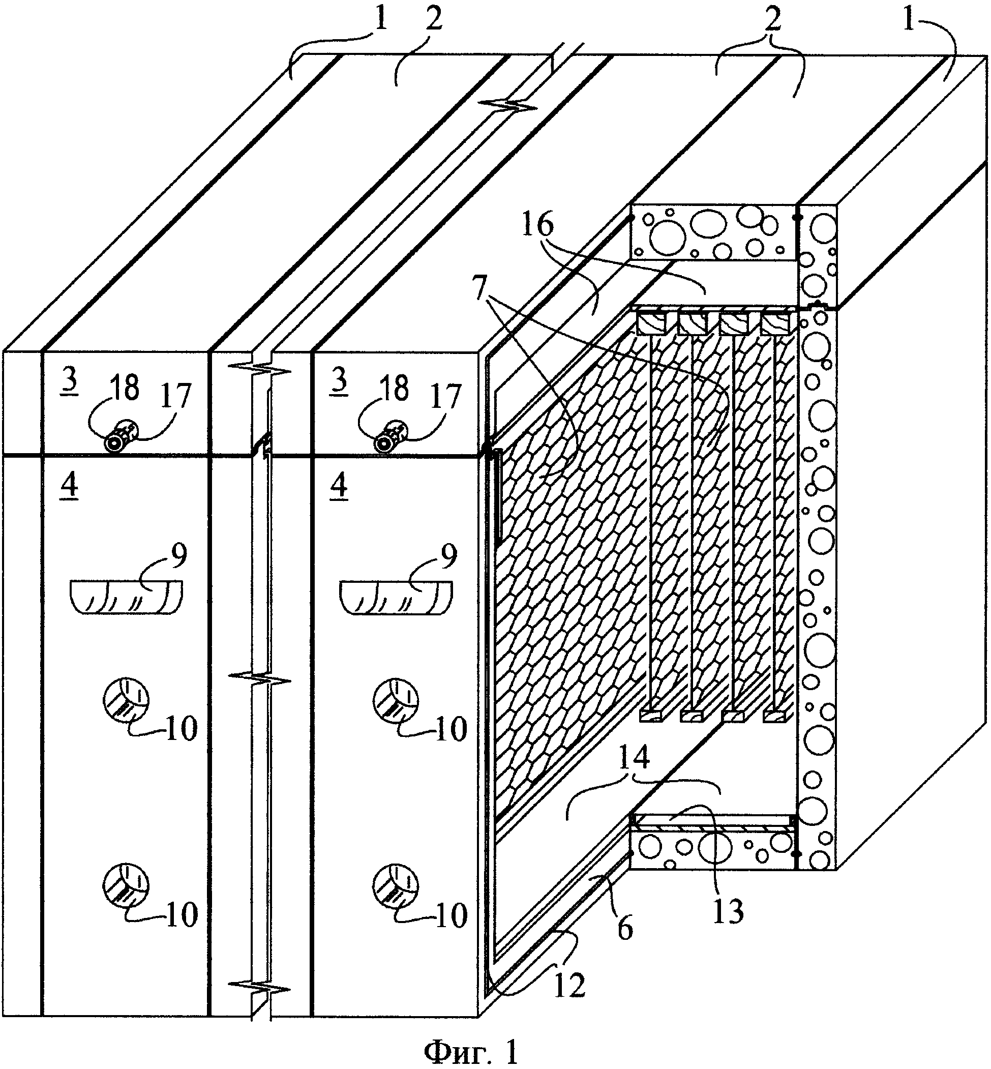
- Двухстеночная. Между двумя стенками закладывают утеплитель. Используются опилки, солома и пенопласт. Позволяет сохранять тепло даже при скачках температуры.
Составные части
Для изготовления улья Дадана потребуются:
- Дно. Представляет собой деревянную доску прямоугольной формы. По бокам устанавливаются 3 планки. Вместо 4-ой планки – щель, замена летка. К ней крепится прилётная доска.
Регулировать размер летка можно с помощью тонкого деревянного вкладыша – летковой задвижки.
Бывает съёмным или прикреплённым к корпусу. Цельная конструкция подходит для перемещения, но при этом тяжелее осматривать пчёл и откачивать мёд. - Корпус. Деревянный ящик, который не имеет дна и крышки. К нему прикрепляются остальные детали улья. Также проделывается отверстие – верхний леток.
- Магазин. Применяется в период откачки мёда. Главное – позаботиться, чтобы матка не откладывала яйца в надставку. Иногда для удобства в магазине проделываются ручки.
- Крыша. Должна быть максимально лёгкой, ведь её приходится часто перемещать. Можно изготовить плоской, двускатной или односкатной. Ульи с плоской крышей проще переносить, но создание укрытия двускатного типа позволяет обеспечить дополнительную вентиляцию и улучшить терморегуляцию.
- Подкрышник. Способствует дополнительному утеплению.
Количество деталей можно изменять, в зависимости от величины пчелиной семьи и размеров взятка.
Пошаговая инструкция изготовления
Изготовление улья Дадана имеет несколько особенностей.
Подготовительные работы
В процессе подготовки необходимо:
- Изучить чертёж.
- Наметить порядок работы.
- Подготовить материалы, высушить и обработать древесину.
- Иметь под рукой молоток, гвозди, станок для шлифовки дерева.
- Изготовить планки шириной около 18 на 4 мм.
Чертежи и размеры
Размер улья имеет большое значение. В таблицах указан внутренний размер деталей. Внешние габариты будут зависеть от толщины доски, которую вы будете использовать.
10 рамок
Чтобы изготовить улей на 10 рамок, руководствуйтесь следующими параметрами.
Таблица размеров составных частей 10 рамочного улья Дадана.
| Деталь | Внутренний размер | ||
| Длина, см | Ширина, см | Высота, см | |
| Корпус | 389 | 419 | 300 |
| Магазин | 389 | 419 | 145 |
| Крыша | 585 | 585 | 120 |
12 рамок
Для изготовления потребуются детали, указанные в таблице.
Таблица размеров составных частей 12 рамочного улья Дадана.
| Деталь | Внутренний размер | ||
| Длина, см | Ширина, см | Высота, см | |
| Корпус | 450 | 435 | 300 |
| Магазин | 450 | 435 | 145 |
| Крыша | 600 | 665 | 80 |
Нужно учитывать расстояние между боковой планкой и стенкой – 0,7 см и расстояние под рамкой – 2,5 см.
14 рамок
Нужно учесть размеры из таблицы.
Таблица размеров составных частей 14 рамочного улья Дадана.
| Деталь | Внутренний размер | ||
| Длина, см | Ширина, см | Высота, см | |
| Корпус | 525 | 435 | 300 |
| Магазин | 525 | 435 | 145 |
| Крыша | 675 | 675 | 80 |
16 рамок
Нужны детали, указанные в таблице.
Таблица размеров составных частей 16 рамочного улья Дадана.
| Деталь | Внутренний размер | ||
| Длина, см | Ширина, см | Высота, см | |
| Корпус | 619 | 450 | 300 |
| Магазин | 619 | 450 | 145 |
| Крыша | 735 | 566 | 80 |
Порядок работ
Действия при изготовлении улья следующие:
- Положите перед собой чертёж. Подготовьте доски соответствующих размеров. Для изготовления корпуса лучше взять толщиной 3,5-4 см.
- Вырежете на досках пазы, которыми будут соединены стенки корпуса.
- Возьмите фрезу, чтобы с её помощью соединить стенки. Оставьте посередине зазор в 7 мм.
- Сделайте тонкие планки, их параметры – 1,8 на 0,4 см.
- Хорошо промажьте пазы клеем, соедините доски между собой в щит.
- У вас должно получиться 5 щитов.

- Из 4 из них с помощью клея и гвоздей сделайте корпус.
- 5-ый щит используйте в качестве дна. Его можно плотно прикрепить к корпусу или сделать съёмным.
- Покройте внешнюю поверхность улья лаком или фасадной краской. Они позволят защитить конструкцию от воды.
- Обязательно изготовьте подкрышник. В нём проделайте отверстия для летка и вентиляции.
- В последнюю очередь сделайте крышку. Она должна сидеть не слишком плотно.
- Уделите особое внимание заделыванию щелей. Для этого используется шпаклёвка, которая покрывается сверху нетоксичной краской.
На создание 1 улья уходит 6-8 часов.
Наглядно о том, как происходит изготовление улья Дадана, вы можете узнать во время просмотра представленного видео:
youtube.com/embed/ycME1oGee5o?feature=oembed» frameborder=»0″ allow=»accelerometer; autoplay; encrypted-media; gyroscope; picture-in-picture» allowfullscreen=»»/>Рамка Дадан
Для изготовления рамок лучше использовать мягкие виды лиственных деревьев. Идеально подойдут ива или липа. Габариты рамки для основного корпуса составляют 43,5 на 30 см. Параметры магазинной рамки зависят от его высоты. Стандартно используется соотношение 43,5 на 14,5 см.
Как работать с ульями Дадана
Работа с ульем зависит от его вида.
Однокорпусный
В этом случае после наступления весны и укрепления пчелиной семьи происходит увеличение размеров улья с помощью магазинов. Чтобы матка не начала откладывать там яйца, удлиняется расстояние между сотами. При усилении семьи нужно вернуть нормальное расстояние и позволить матке делать яйцекладку в магазине.
Когда начинается сбор мёда, ставят 2-ой магазин, который располагают между 1-ым и гнездом. Их убирают, когда заканчивается период откачки.
Двухкорпусный
Используется, если планируется откачка большого количества мёда. 2-ой корпус ставят, когда пчелиная семья будет занимать 11 гнездовых рамок. Запаздывать нельзя, иначе начнётся роение.
Обязательно поставить в дополнительный корпус рамки, взятые из основного, с личинками и яйцами, закрытым расплодом, вощиной, 1 медоперговую. Их заменяют рамками с сушью и вощиной. Постепенно количество рамок увеличивается. Когда во 2-ом корпусе рамок будет 12, следует переместить соты с запечатанным расплодом вверх, а с открытым – вниз. Так увеличится количество мёда.
При необходимости добавляется 3-ий корпус и различные надстройки.
Использование улья Дадана обладает массой преимуществ. Его просто и удобно изготовить, не имея при этом особых навыков. Для этого потребуется чертёж и правильно обработанная древесина. При выполнении всех рекомендаций можно получить улей, который прослужит долгие годы.
Автор публикации
не в сети 12 месяцев
Катерина Новицкая
1 Россия.
Город: Димитровград Публикации: 36Комментарии: 0Чертежи ульев — инструкция по постройке от А до Я (95 фото)
Пчелы завоевали звание одних из самых трудящихся насекомых в мире. Действительно, ведь они создали собственную цивилизацию и отличаются особым усердием и волей к труду.
Пчелам, как и всем рабочим, необходимо место для того, чтобы вести свою деятельность. Домами для пчел выступают ульи. От качества жилья напрямую зависит эффективность работы насекомых. В данной статье речь пойдет о чертежах ульев.
Содержимое обзора:
Виды ульев
Для начинающих пчеловодов будет достаточно знать два типа гнезд: Дадановский и лежак. Они также являются самыми распространенными как среди новичков, так и среди опытных пасечников.
Первый представляет собой вертикальную конструкцию, которая постепенно наращивается вверх. Существует улей Дадана на 10 и 12 рамок. Такое название он получил благодаря своему создателю — Шарлю Дадану.
Как он сам заявлял, 12 рамок являются наиболее оптимальным количеством для пчел.
В таком улье гнездовые отделения имеют размеры 43,5 сантиметра на 30, а магазины — 43,5 сантиметра на 14,5. Если возникнет желание, улей можно укомплектовать дополнительными магазинами.
Лежак же отличается тем, что он развивается в горизонтальном направлении. Поэтому, в случае с таким ульем нет возможности добавить магазин. Имеет большую ширину, а глубина гораздо меньше, чем у Дадана.
По количеству рамок лежаки делятся два типа: с шестнадцатью и двадцатью рамками. Одним из главных преимуществ такого улья являются его небольшие размеры.
В самом деле такое гнездо довольно компактное и простое во внутреннем устройстве. Лежак легко транспортировать с одного места на участке на другое.
Если возникают трудности при выборе типа гнезда, то не будет лишним посмотреть соответствующие фотографии. Обратив внимание на чертежи, можно понять, какой улей будет проще изготовить и какие размеры при этом стоит учесть.
Части ульев
Для того, чтобы приступить к изготовлению дома для пчел, необходимо разобраться во всех его составляющих. К основным частям улья относятся днище, корпус, крыша и рамки.
У днища существует два вида: съемное и стационарное днище. Более опытные пчеловоды выбирают съемное днище, ведь так легче производить очистку дома насекомых.
Что касается корпуса, то тут тоже имеется две разновидности: одинарный и двойной корпус. Тут выбор зависит от количества пчел.
Крышей называют верхнюю часть ульев. Тут ничего особенного нет, чего не скажешь про рамки. Рамки являются самой важной частью жилища пчел. Их конструкция зависит от выбранного вида улья.
Материал
Перед тем, как приступить к изготовлению жилплощади для перепончатокрылых, необходимо получить информацию о строительных материалах.
Самым распространенным материалом в этом деле является древесина. Хорошо подходят хвойные породы деревьев, такие как ель, сосна или липа.
Нередко можно встретить ульи из фанеры, обычно из березы. Внутри их утепляют пенопластом, благодаря чему зимой они сохраняют тепло.
Требования к стройматериалам
Древесина должна быть высушена и очищена от всякого рода сучков и гнили. Если присутствуют другие дефекты, то такое дерево не подойдет.
После подбора подходящего леса, происходит изготовление досок. Недопустимо, чтобы на них были сколы, сучки или иные неровности.
Правила при изготовлении
- Подобранный материал должен быть крепким для защиты пчел от ненастий;
- Внутри корпуса должно быть предусмотрено место для утеплителя (обычно из пенопласта), чтобы в холодную погоду поддерживать оптимальную температуру;
- Улей должен быть просторным. Так насекомым будет комфортнее изготавливать мед и распределять его по дому;
- Подготовить все удобства для самого бортника, чтобы было удобно собирать мед и прочищать гнездо.
- При изготовлении ульев необходимо пользоваться чертежами, на которых наглядно показаны размеры всех необходимых частей изготавливаемого объекта.

Покраска
Окрашивание деревянных сооружений придает не только опрятный и изящный вид, но и защищает жилище пчел от воздействия окружающей среды.
При покраске их стоит учитывать некоторые особенности:
- Густая масляная краска препятствует естественному испарению влаги, что сокращает срок службы ульев и ухудшает условия зимовки пчел. По этой причине желательно использовать органические масляные растворы;
Нанесение краски надо проводить только в сухие и теплые дни, а также чтобы не было резких перепадов температур;- Часть гнезда, подвергаемая окрашиванию, должна быть тщательно высушена и очищена от пыли и всякого рода грязи;
- Также стоит учесть жизнедеятельность пчел. Ведь если нанести краску во время их перемещения, они могут прилипнуть к красящему составу.
Несмотря на то, что пчеловодство распространено на территории нашей страны издавна, оно до сих пор остается одним из самых популярных занятий населения.
Бортничество является очень значимой отраслью сельского хозяйства. Остается надеяться, что количество пчелиных семей будет увеличиваться с каждым годом.
Фото чертежей ульев
Также рекомендуем просмотреть:
Как сделать улей для пчел: практические рекомендации
Дикие пчелы в качестве жилищ выбирают естественные укрытия, например, дупла деревьев.
Но чтобы разводить этих насекомых и использовать их в своих целях, потребуется научиться строить для них более комфортные «апартаменты».
Многие начинающие пчеловоды задаются вопросом, как сделать ульи для пчел своими руками. Вопрос этот, действительно, серьезный, ведь от того, насколько правильно построен улей, зависит работоспособность пчел.
Вконтакте
Google+
Мой мир
Типы ульев
Если вы думаете, как сделать улей для пчел самому, прежде всего, следует определиться с вариантом будущей конструкции. Два основных типа рамочных ульев:
- Вертикальные (стояки). Такие ульи состоят, как правило, из двух-трех ярусов, в каждом из которых содержится около 10 рамок. Если необходимо увеличить объем вертикального улья, то это делается с помощью установки сверху новых магазинов или корпусов.
- Горизонтальные (лежаки).
В них объем можно увеличить, добавив новые рамы сбоку. Такой улей выглядит как вытянутый по горизонтали ящик, длина которого зависит от количества рамок. Медовый магазин и гнездо расположены в нем рядом друг с другом.
Кроме этого, ульи принято делить по типу рамки – основного элемента данной конструкции. Делятся рамки в зависимости от соотношения длины и высоты на следующие виды: узковысокие, низкоширокие, квадратные. Также ульи подразделяются на одностенные и двустенные по устройству стенок гнезда. Двустенные являются утепленным вариантом.
к оглавлению ↑Правила изготовления ульев
Итак, как сделать улей для пчел, который был бы наиболее удобен для пчелиной семьи? Жилище для этих трудолюбивых, но довольно прихотливых насекомых должно соответствовать определенным требованиям.
- Улей должен надежно защищать семью пчел от резких температурных перепадов, осадков и наряду с этим хорошо проветриваться.
- В нем должно быть место для потолочного и бокового утепления, что сокращает потери тепла осенью и зимой, а летом, наоборот, защищает семью пчел от перегрева.

- Летки следует устроить так, чтобы в зависимости от температуры воздуха и многочисленности семьи их количество можно было бы увеличивать или сокращать.
- Улей следует делать просторным – чтобы пчелы могли свободно размещать расплод или запасы корма. Конструкция хорошего улья позволяет ему без труда увеличиваться или уменьшаться в объеме.
Кроме того, бортнику, перед тем, как сделать улей для пчел, нужно позаботиться и о том, чтобы он был удобен для него самого. Для этого все элементы конструкции должны быть взаимозаменяемы и подходить к остальным ульям пасеки. Это значительно облегчит установку вторых магазинов, корпусов, переселение семей, чистку доньев. Особенно важно соблюдать это правило при сооружении рамок.
Решая вопрос о том, как сделать ульи для пчел, помните, что они должны быть легкими, прочными, простыми и дешевыми в изготовлении. Если требуется их перевозка к дикорастущим медоносным растениям или нуждающимся в опылении посевам, предъявляются повышенные требования к прочности ульев.
Кроме того, такие ульи должны обладать хорошей вентиляцией и приспособлениями для скрепления отдельных частей (дна, корпуса, крышки).
Видео по теме
Первое видео
Второе видео
Материал для улья и особенности его постройки
Как сделать ульи для пчел и какой материал выбрать? Хотя в наше время для изготовления ульев используются разнообразные материалы, но
К тому же товары для пчеловодства, сделанные из натуральных материалов более естественны и эффективны.
Доски следует брать без трещин и гнили, хорошо просушенные.
Если попадаются рыхлые сучки, их нужно высверлить, а отверстия заделать пробкой из того же дерева с помощью водоупорного клея.
Крепкие, плотно сросшиеся с деревом сучки можно оставить, если они расположены на расстоянии не менее 15-ти мм от продольных кромок и 45-ти от торцовых. На деталях, ширина которых меньше 65 мм, и на рамках сучков не должно быть вообще. Вопрос как сделать улей для пчел требует от пчеловода особой скурпулезности.
Наиболее пригодна для ульев древесина мягких пород: липа, тополь, верба, ель, кедр, пихта. Доски нужно выбирать ровные, без коробления, а их ширина должна на 5 мм превышать ширину стенки улья – запас потребуется в процессе чистки заготовок. Все детали следует гладко выстругать, чтобы на них не оставалось шероховатостей, сколов. Ульи можно делать из досок любой ширины.
Для внутренней стенки оптимально подойдут две соединенные или одна сплошная доска. Для наружной обшивки также можно применять теснины произвольной ширины, важно лишь, чтобы материал был качественным – это одно из главных правил того, как сделать улей для пчел правильно.
Гвозди для скрепления деталей выбирайте такого диаметра, чтобы они не раскололи материал.
Следует также помнить, что ульи нуждаются в покраске каждые 2-3 года – это поможет не только сохранить их достойный внешний вид, но и защитит древесину. Специалисты рекомендуют использовать краску светлых тонов – белую, голубую или желтую.
Основные внутренние размеры ульев
Правильный расчет размеров деталей является важнейшим правилом сооружения улья.
Поэтому бортник, решающий задачу, как сделать улей для пчел, должен очень точно соблюдать все размеры деталей при их изготовлении, особенно, если это внутренние элементы конструкции.
Так, во всех ульях с рамками низкоширокого типа расстояние между передней и задней стенками должно равняться 450 мм.
А универсальными для всех типов ульев являются следующие размеры:
1. Между средостениями двух рамок, расположенных смежно, расстояние составляет 37,5 мм.
2. Улочки (проходы для пчел) – 12,5 мм (толщина сота при этом 25 мм).
3. При установке второго корпуса или магазина между верхними брусками гнездовых рамок и нижними планками магазинных расстояние составляет 10 мм.
4. Между передней и задней стенками улья и боковыми планками рамок расстояние 7,5 мм.
5. Между нижней планкой гнездовой рамки и дном – 20 мм.
Зная эти универсальные величины, вам будет легче высчитать другие внутренние размеры любого из типов ульев. Например, от передней до задней стенки улья 4,5 см – чтобы это выяснить, следует прибавить к наружному размеру рамки (435 мм) два промежутка между стенками улья и боковыми планками рамок (по 7,5 мм). А если умножить число рамок на расстояние между их центрами, получится дистанция между боковыми стенками будущего улья.
Отклонения в размерах деталей улья допускаются незначительные: до одного миллиметра по длине и 0,5?1 мм по толщине (в зависимости от вида детали). Если отклонения оказываются более значительными, то потребуется подгонять другие детали, к тому же в этом случае элементы улья не будут взаимозаменяемыми. Все расчеты необходимо сделать заранее, чтобы понять, как сделать улей для пчел с наименьшей затратой сил.
Помните, что хороший улей служит бортнику не менее десяти лет, но для того чтобы творение ваших рук стало комфортным жилищем для пчел, необходимо использовать для его изготовления только качественные материалы, соблюдать точные размеры деталей, тщательно выполнять каждый из этапов постройки.
Лучше всего использовать специальную литературу, подробно отвечающую на вопрос, как сделать ульи для пчел. Но затраченные усилия окупятся: «апартаменты» для пчел, сделанные собственными руками, долго будут радовать глаз и обеспечат вашим крылатым помощникам идеальные условия для жизни и труда. Кроме того, зная, как сделать улей для пчел, сэкономленные деньги на покупке ульев для пчел в магазине можно вложить на расширение всего пасечного хозяйства.
Hive — Домашний помощник
hive Интеграция — это основная интеграция для настройки и интеграции всех поддерживаемых устройств Hive.
После настройки с минимально необходимыми деталями он обнаружит и добавит все устройства Hive в Home Assistant, включая поддержку многозонного обогрева.
Эта интеграция использует неофициальный API, используемый на официальном веб-сайте Hive https://my.hivehome.com, и вам нужно будет использовать то же имя пользователя и пароль, которые вы используете на веб-сайте Hive, чтобы настроить эту интеграцию Hive в Home Assistant.
В настоящее время Home Assistant поддерживает следующие платформы:
Чтобы добавить устройства Hive в установку Home Assistant, добавьте в файл configuration.yaml следующую строку:
# Пример записи configuration.yaml
улей:
имя пользователя: YOUR_USERNAME
пароль: YOUR_PASSWORD
Переменные конфигурации
scan_interval целое число (необязательно, по умолчанию: 2)Время в минутах между вызовами Hive API
Услуги
Служебный улей.boost_heating
Вы можете использовать службу hive., чтобы настроить обогрев на ускорение на определенный период времени при определенной целевой температуре ». Используя эту услугу, можно таким же образом повысить индивидуальные TRV.
boost_heating
| Атрибут служебных данных | Дополнительно | Описание |
|---|---|---|
entity_id | нет | Строка, имя объекта, например, климат. Нагрев |
time_period | нет | Time Period, период времени, в течение которого повышение должно длиться e.г., 01:30:00 |
температура | да | String, Требуемая целевая температура, например, 20,5 |
Примеры:
# Пример сценария для ускорения нагрева, заданы период ускорения и заданная температура.
сценарий:
boost_heating:
последовательность:
- сервис: hive.
boost_heating
данные:
entity_id: "климат.обогрев"
time_period: "01:30:00"
температура: «20.5 "
Сервисный улей.boost_hot_water
Вы можете использовать службу hive.boost_hot_water , чтобы настроить подачу горячей воды на определенный период времени.
| Атрибут служебных данных | Дополнительно | Описание |
|---|---|---|
entity_id | нет | Строка, имя объекта, например, water_heater.hot_water |
time_period | да | Time Period, период времени, в течение которого повышение должно длиться e.г., 01:30:00 . |
вкл_выкл | нет | String, режим для включения или выключения повышения, например, на |
Примеры:
# Пример сценария для повышения горячей воды, задан период повышения
сценарий:
boost_hot_water:
последовательность:
- сервис: "hive.
boost_hot_water"
данные:
entity_id: "water_heater.hot_water"
time_period: "01:30:00"
on_off: "включено"
Платформы
Бинарный датчик
Интеграция бинарных датчиков hive позволяет интегрировать датчики Hive в Home Assistant.
Платформа поддерживает следующие продукты Hive:
- Датчик окна или двери улья
- Датчик движения улья
Климат
Климатическая платформа hive объединяет термостат Hive и радиаторные клапаны Hive в Home Assistant, что позволяет управлять настройкой режима и заданием целевой температуры .
Кратковременное ускорение для обогрева улья можно установить с помощью предустановки Boost , это включит функцию ускорения на 30 минут при 0.На 5 градусов выше текущей температуры.
Платформа поддерживает следующие продукты Hive:
- Улей Активный обогрев
- Улей Мультизональный
- Клапан радиатора Hive
Свет
Световая платформа hive интегрирует ваши светильники Hive в Home Assistant, позволяя управлять различными настройками в зависимости от модели освещения.
Платформа поддерживает следующие продукты Hive:
- Активный светильник Hive с регулируемой яркостью
- Hive Active Light от холодного до теплого белого
- Hive Active Light Color Changing
Датчик
Интеграция датчика hive предоставляет данные Hive в качестве датчика.
На платформе выставлены следующие датчики:
- Статус Hive Hub в сети
- Наружная температура улья
Переключатель
Коммутаторная платформа hive интегрирует ваши вилки Hive в Home Assistant, что позволяет управлять вашими устройствами.
Платформа поддерживает следующие продукты Hive:
3hive — Совместное использование обмена.
Новейший EP Николь Ханаан, Whererver , представляет собой 19 минут мечтательной поп-музыки, включающую пять треков, наполненных пышными инструментами и шугазным вокалом.Посмотрите вступление к EP «Lose Yourself» (ниже), чтобы попробовать.
Везде, где теперь доступен в цифровом виде через UPHERE! Пластинки и будут выпущены на кассете в начале 2021 года, которые можно будет предварительно заказать по той же ссылке. Наслаждаться.
Нравится:
Нравится Загрузка …
Eastern Rain , новейший EP от Натана Вомака (который также является половиной из фаворитов 3hive Paces Lift и Ben Bounce), вдохновлен многолетним путешествием Уомака, его жизни в Азии и коллекционированием музыки, находясь там. Eastern Rain — это 4 музыкальных трека, отобранных, записанных и произведенных в Куньмине, Юньнань, Китай. В нем представлены ручные барабанщики, местные музыканты на инструментах Guqin, а также дополнительные синтезаторы и биты из (еще одного любимого 3hive) RUMTUM.
Eastern Rain — это расслабляющая поездка за границу, даже если она длится всего 14 минут. Однако лучшая часть этой поездки — это то, что вы можете совершать ее снова и снова, когда захотите.
Eastern Rain уже доступен через Nathan’s Bandcamp и Wax Thématique.Наслаждаться.
Нравится:
Нравится Загрузка …
Я обожаю солидный ритм, и новый альбом Landscaping (новый сольный проект Эндрю Петерсена), Picturesque, , забит им. От пианино в стиле Шредера и запрограммированных ритмов и щелчков на «Woke Up On The Shore», до почти скрытой (но довольно заводной) басовой партии на «Vacation», и в полной мере, в атмосфере выдающегося альбома «Full Moon Lovers» 80-х. , Живописный — это 26 минут от стены до стены.
Попробуй «Любители полнолуния» (ниже), и ты будешь рад, что сделал это.
Picturesque уже вышел и доступен на компакт-диске или в цифровом виде на новом лейбле UPHERE! Страница Bandcamp Records. Наслаждаться.
Нравится:
Нравится Загрузка …
Polytherian — новый проект Дилана Тидимана-Джонса (FRONDS, Sonny & The Sunsets, The Mallard). Его дебютный альбом Role Play — мечтательный и захватывающий поп-альбом, полный заставляющих задуматься тем самопознания.
Мы очень рады дебютировать в новом видео Polytherian (режиссера Ханной Бёрхорн) на бодрый глэм-поп-трек, наполненный грувом на несколько дней. Это мой любимый трек на альбоме. Посмотрите это ниже.
Role Play теперь доступен на виниле на Gold Robot Records и в цифровом виде на странице Polytherian’s Bandcamp. Наслаждаться.
Нравится:
Нравится Загрузка …
Мэтт Рендон выпускает гаражные поп-джемы под прозвищем The Resonars с 1997 года.Его последний альбом, Disappear , представляет собой еще 14 солидных треков, включая каверы на песни The Mamas & The Papas «Even If I Could» и Herman Hermits «Don’t Go Out Into The Rain, You Going To Melt» . Взгляните на горелку «Давайте вернемся домой» (ниже), она хорошая.
Disappear доступен всего за 7 долларов на странице Bandcamp The Resonars. Предлагаю купить прямо сейчас. Я слишком долго спал на этом альбоме, не повторяйте той же ошибки. Релиз винила выйдет в начале 2021 года, не могу дождаться этого.Наслаждаться.
Нравится:
Нравится Загрузка …
Мы рады представить вам мировую премьеру сногсшибательного нового сингла (и видео) «Polecat» от Harrisonburg, VA rockers, Magister Ludi. Это быстрая минута и сорок восемь секунд ударов по барабанам, тяжелые гитарные риффы и грубый, серьезный вокал (надеюсь, с горлом у этого чувака все в порядке). Посмотрите это ниже.
Дебютный альбомMagister Ludi, Deep Fakes , выйдет в конце этого месяца на лейбле Funny / Not Funny.Это довольно сумасшедший релиз, который продолжает нравиться мне, чем больше я его слушаю. Наслаждаться.
Нравится:
Нравится Загрузка .
..
Melbourne, состоящий из пяти частей, Bananagun привносит в свой дебютный LP The True Story of Bananagun свой бренд фанковой экзотики и психоделического рока. Это головокружительные, потрясающие 11 треков (в том числе один с птицами, поющими поверх убийственного ритма бонго), состоящих только из грува, можно с уверенностью сказать, что в этом альбоме грув на несколько дней.Посмотрите «Грибная бомба» и «Принимая подарок как должное» ниже, они наверняка вас зацепят.
Правдивая история Бананагана теперь доступна через Full Time Hobby. Хорошая. Наслаждаться.
Нравится:
Нравится Загрузка …
«Нет ничего хорошего в норме» — отличный слоган для жизни. У меня есть этот слоган как один из вращающихся рабочих столов на моем компьютере на работе. Это помогает напоминать мне быть собой и стараться не беспокоиться о том, что другие думают обо мне. Nothing Good Is Normal — это также название нового альбома Джейсона Хендарди (первого с 2012 года) под названием Permanent Collection.
Nothing Good Is Normal — это 24 минуты нечетких, громких, чертовски громких панк-роковых мелодий, которые потрясут ваши колонки и заставят вас просить еще. Посмотрите мой любимый трек «Nothing Else» ниже. Ничего хорошего в норме теперь доступен на Bandcamp. Я очень рекомендую вам купить альбом и стремиться жить своей жизнью по его названию.Наслаждаться.
Нравится:
Нравится Загрузка …
Khruangbin вернулись с Mordechai , их первым полноценным альбомом с момента их громкого релиза 2018 года Con Todo El Mundo . В этом новом альбоме есть весь фанк, грув и соул, которые вы ожидаете от релиза Khruangbin, с добавлением вокала на большинстве треков, которые действуют скорее как дополнительный инструмент, чем на передний план треков — это приятное прикосновение.
Mordechai прочный от начала до конца и идеально подходит для тех, кто поздно вечером «сидите дома, оставайтесь в безопасности» сольных танцевальных вечеринок.
У нас есть Mordechai на восхитительном прозрачном розовом виниле в 3hive Record Lounge. Он также доступен на Dead Oceans Records. Наслаждаться.
Нравится:
Нравится Загрузка …
Сан-Франциско изобилие из 4 пьес создано на основе общей любви к брит-попу 80-х и тихоокеанской северо-западной сцене 90-х, и мы все лучше для этого.
Их дебютный одноименный альбом — это 10 треков туманного, лоу-фай спального поп / гаражного рока. Это отличный 23-минутный отдых от того, что вас беспокоит. Посмотрите два моих любимых трека «Lemon Tea» и «Cucaracha» (ниже), чтобы познакомиться.
Galore вышел на новом лейбле Сонни Смита Rocks In Your Head. Вы можете приобрести его на виниле в 3hive Record Lounge. Я очень рекомендую вам поиграть в эту. Наслаждаться.
Нравится:
Нравится Загрузка…
RaveOS
RaveOSПолностью организованный контроль и мониторинг
Кластеры
- Организуйте своих рабочих в кластеры, которые повторяют физическое расположение ваших устройств. В качестве имен кластеров вы можете использовать номера контейнеров, номера ангаров, стойки, комнаты, типы буровых установок или ASIC и т. Д. Работайте с каждым кластером как с одним твердым блоком.
Панель приборов
- Важная информация и действия в режиме реального времени на самом первом экране.
- Просмотрите свой список рабочих и получите полный обзор своей деятельности в горнодобывающей промышленности.
- Действия с несколькими юнитами. Выберите одного или нескольких рабочих и выполните действия или обновления.
- Найдите свои устройства по идентификатору, имени сотрудника, имени кошелька, монетам, майнеру или тегу. Используйте несколько фильтров.
Теги
- Создавайте свои собственные теги с помощью нашего меню тегов. Вы можете идентифицировать и фильтровать свои устройства с помощью одного или нескольких тегов.
Уведомления
- Используйте наше приложение RaveOS (Android, iOS) для отслеживания, управления и быстрого реагирования на любую ситуацию.
- Веб-уведомления.
- Уведомления по электронной почте.
- Telegram-бот (скоро).
Статистика, отчеты и управление кошельком
Статистика и отчеты
- Отслеживайте статистику рабочих и фермы.
- Создавайте ежемесячные, еженедельные или ежедневные отчеты для своих рабочих и фермы. Следите за потреблением электроэнергии по тарифам.
Управление кошельком
- С легкостью создавайте кошельки и управляйте ими: добавляйте монеты, пулы, майнеры.
- Групповые кошельки. Монеты по умолчанию. Модификация кошелька на лету. Применяйте изменения для группы рабочих или кластеров за несколько кликов.
- Огромный список майнинговых пулов, монет и майнеров. Наша команда постоянно следит за обновлениями майнеров и выпусками новых прибыльных монет.
- Мониторинг всей важной информации о работнике: температура, хешрейт, доли, настройки.
- Широкий диапазон настроек графического процессора для достижения максимальной производительности: частота ядра, напряжение, память, скорость вращения вентилятора и многое другое.
- Удаленный доступ к вашему устройству из любого места с помощью консоли.
- Встроенное обнаружение ошибок графического процессора.
- Автовентилятор и ручное управление вентилятором.
- Бустеры для майнинга: RX boost, AMDMemtweak, Ohgodanethlargementpill.
- Разгон и понижение напряжения ASIC (на прошивке RaveOS)

Не требуется полностью изменять корпус улья. Достаточно заменить заполненные или испорченные рамки.
Из-за большого количества частей улей является громоздким и тяжело переносится. Поэтому не подходит для кочёвки.
Бывает съёмным или прикреплённым к корпусу. Цельная конструкция подходит для перемещения, но при этом тяжелее осматривать пчёл и откачивать мёд.


В них объем можно увеличить, добавив новые рамы сбоку. Такой улей выглядит как вытянутый по горизонтали ящик, длина которого зависит от количества рамок. Медовый магазин и гнездо расположены в нем рядом друг с другом.
boost_heating
данные:
entity_id: "климат.обогрев"
time_period: "01:30:00"
температура: «20.5 "
boost_hot_water"
данные:
entity_id: "water_heater.hot_water"
time_period: "01:30:00"
on_off: "включено"